GENERATOR INSPECTION


  1. INSPECT VOLTAGE REGULATOR ASSEMBLY


    1. A01J72NE02

      Measure the resistance between the regulator terminals (F) and (B).

      Standard resistance
      Below 1 Ω or higher than 10 kΩ

      Tech Tips

      When the ohmmeter's leads are initially touched to the regulator, one of the above values will be output. When the leads are reversed, the reading will change to the other value.

      If the result is not as specified, replace the voltage regulator.

    2. A01J5W7E02

      Measure the resistance between the regulator terminals (F) and (E).

      Standard resistance
      Below 1 Ω or higher than 10 kΩ

      Tech Tips

      When the ohmmeter's leads are initially touched to the regulator, one of the above values will be output. When the leads are reversed, the reading will change to the other value.

      If the result is not as specified, replace the voltage regulator.

  2. INSPECT GENERATOR ROTOR ASSEMBLY


    1. A01J4U4

      Check the rotor for an open circuit.


      1. Measure the resistance between the slip rings.

        Standard resistance
        1.7 to 2.1 Ωat 20°C (68°F)

        If the result is not as specified, replace the rotor assembly.

    2. A01J4HG

      Check if the rotor is grounded.


      1. Measure the resistance between the slip ring and rotor.

        Standard resistance
        10 kΩ or higher

        If the result is not as specified, replace the rotor assembly.

    3. Check that the slip rings are not rough or scored.

      If rough or scored, replace the rotor assembly.

    4. A01J54Y

      Using a vernier caliper, measure the slip ring diameter.

      Standard diameter
      14.2 to 14.4 mm (0.559 to 0.567 in.)
      Minimum diameter
      14.0 mm (0.551 in.)

      If the diameter is less than the minimum, replace the rotor assembly.

  3. INSPECT GENERATOR HOLDER WITH RECTIFIER


    1. A01J49XE02

      Inspect the positive (+) rectifier.


      1. Using an ohmmeter, connect one tester probe to the positive (+) terminal and the other to each rectifier terminal.

      2. Reverse the polarity of the tester probes and repeat the step above.

      3. Check that one shows a resistance of below 1 Ω and the other shows a resistance of 10 kΩ or higher.

        If the result is not as specified, replace the rectifier holder.

    2. A01J7FYE02

      Inspect the negative (-) rectifier.


      1. Using an ohmmeter, connect one tester probe to each negative (-) terminal and the other to each rectifier terminal.

      2. Reverse the polarity of the tester probes and repeat the step above.

      3. Check that one shows a resistance of below 1 Ω and the other shows a resistance of 10 kΩ or higher.

        If the result is not as specified, replace the rectifier holder.

  4. INSPECT GENERATOR RECTIFIER END FRAME


    1. A01J7C7

      Check the stator coil for an open circuit.


      1. Measure the resistance between the coil leads.

        Standard resistance
        Below 1 Ω

        If the result is not as specified, replace the drive end frame.

    2. A01J60L

      Check the stator for ground.


      1. Measure the resistance between the coil lead and drive end frame.

        Standard resistance
        10 kΩ or higher

        If the result is not as specified, replace the drive end frame.

  5. INSPECT GENERATOR DRIVE END FRAME BEARING


    1. Check that the bearing is not rough or worn.

      If necessary, replace the generator assembly.

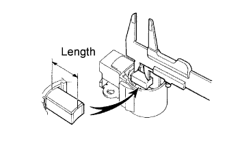
  6. INSPECT GENERATOR BRUSH HOLDER ASSEMBLY

    A01J49TE03

    1. Using a vernier caliper, measure the exposed brush length.

      Standard exposed length
      9.5 to 11.5 mm (0.374 to 0.453 in.)
      Minimum exposed length
      4.5 mm (0.177 in.)

      If the exposed length is less than the minimum, replace the brush holder assembly.