ENGINE UNIT REPLACEMENT


  1. REPLACE TIMING CHAIN COVER OIL SEAL


    1. Using a screwdriver, pry out the oil seal.

      Note

      Be careful not to damage the oil pump body.

      Tech Tips

      Tape the screwdriver tip before use.

    2. A01J49GE01

      Using SST and a hammer, tap in a new oil seal until its surface is flush with the timing chain cover edge.

      SST
      09226-10010
    3. Apply MP grease to the lip of the oil seal.

  2. REPLACE REAR ENGINE OIL SEAL


    1. A01J5FZE02

      Using a screwdriver and hammer, tap out the oil seal.

    2. A01J5AIE01

      Using SST and a hammer, tap in a new oil seal until its surface is flush with the rear oil seal retainer edge.

      SST
      09223-78010
    3. Apply MP grease to the lip of the oil seal.

  3. REPLACE VALVE GUIDE BUSH


    1. A01J64LE01

      Gradually heat the cylinder head to 80 to 100°C (176 to 212°F).

    2. A01J4PME01

      Place the cylinder head on a wooden block.

    3. Using SST, tap out the valve guide bush.

      SST
      09201-10000
      09201-01055
      09950-70010   ( 09951-07100 )
    4. A01J69OE01

      Using a caliper gauge, measure the bush bore diameter of the cylinder head.

      Standard bush bore diameter
      10.295 to 10.315 mm (0.4053 to 0.4061 in.)

      If the bush bore diameter of the cylinder head is greater than 10.315 mm (0.4061 in.), machine the bush bore to the dimension of 10.345 to 10.365 mm (0.4073 to 0.4081 in.).

      Valve guide bush diameter
      Valve Specified Condition
      STD 10.333 to 10.344 mm (0.4068 to 0.4072 in.)
      O/S 0.05 10.383 to 10.394 mm (0.4088 to 0.4092 in.)
    5. A01J64LE01

      Gradually heat the cylinder head to 80 to 100°C (176 to 212°F).

    6. A01J6RNE02

      Place the cylinder head on the wooden block.

    7. Using SST, tap in a new valve guide bush to the specified protrusion height.

      SST
      09201-10000
      09201-01055
      09950-70010   ( 09951-07100 )
      Standard protrusion height
      9.3 to 9.7 mm (0.366 to 0.382 in.)
    8. A01J5WME01

      Using a sharp 5.5 mm reamer, ream the valve guide bush to obtain the standard specified clearance between the valve guide bush and valve stem.

      Standard oil clearance
      Valve Specified Condition
      Intake 0.025 to 0.060 mm (0.0010 to 0.0024 in.)
      Exhaust 0.030 to 0.065 mm (0.0012 to 0.0026 in.)
  4. REPLACE CONNECTING ROD SMALL END BUSH


    1. A01J7ERE01

      Using SST and a press, press out the bush.

      SST
      09222-30010
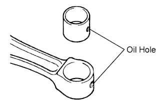
    2. A01J6DDE02

      Align the oil holes of a new bush and the connecting rod.

    3. A01J7ERE01

      Using SST and a press, press in the bush.

      SST
      09222-30010
    4. A01J5LTE01

      Using a pin hole grinder, hone the bush to obtain the standard specified clearance between the bush and piston pin.

      Standard oil clearance
      0.005 to 0.011 mm (0.0002 to 0.0004 in.)
    5. A01J32SE01

      Check the piston pin fit at normal room temperature. Coat the piston pin with engine oil, and push it into the connecting rod with your thumb.