WINDSHIELD GLASS INSTALLATION

CAUTION / NOTICE / HINT

Note

When replacing the windshield glass of a vehicle equipped with a pre-crash safety city sensor, make sure to use a Toyota genuine part. If a non-Toyota genuine part is used, the pre-crash safety city sensor may not be able to be installed due to a missing bracket or the pre-crash safety system may not operate properly due to a difference in the transmissivity of the windshield glass or the shape of the black ceramic border.

PROCEDURE


  1. CLEAN WINDSHIELD GLASS


    1. A004FLY

      Using a scraper, remove the damaged stoppers, dam and adhesive from the windshield glass.

      Note

      Be careful not to damage the windshield glass and ceramic coating.

    2. Clean the outer edge of the windshield glass with a non-residue solvent.

      Note


      • Do not touch the windshield glass surface after cleaning it.

      • Even if using a new windshield glass, clean the windshield glass with a non-residue solvent.

  2. INSTALL NO. 2 WINDSHIELD GLASS STOPPER (for 2-piece Type)


    1. Using a brush or sponge, coat the application area of the No. 2 windshield glass stoppers with Primer G.

      Note


      • Do not apply too much primer.

      • Allow the primer coating to dry for 3 minutes or more.

      • Throw away any leftover primer.

      Tech Tips

      If an area other than that specified is coated by accident, wipe off the primer with a clean piece of cloth before it dries.

    2. Install 2 new No. 2 windshield glass stoppers onto the windshield glass, as shown in the illustration.

      A004GG6E01
      Text in Illustration
      *a Back Side *b Ceramic Notch
      *c 7.6 mm (0.299 in.) *d 40 mm (1.575 in.)

      Tech Tips

      Only 2-piece type No. 2 windshield glass stoppers are supplied. Use the 2-piece type windshield glass stoppers even if a 1-piece type was used.

  3. INSTALL NO. 1 WINDSHIELD GLASS STOPPER (for 2-piece Type)


    1. A004GGTE01
      Text in Illustration
      *1 No. 1 Windshield Glass Stopper

      Install 2 new No. 1 windshield glass stoppers to the vehicle body, as shown in the illustration.

      Tech Tips

      Only 2-piece type No. 1 stoppers are supplied. Use the 2-piece type stoppers even if a 1-piece type was used.

  4. INSTALL WINDOW GLASS ADHESIVE DAM


    1. Using a brush or sponge, coat the application area of adhesive dam with Primer G.

      Note


      • Do not apply too much primer.

      • Allow the primer coating to dry for 3 minutes or more.

      • Throw away any leftover primer.

      Tech Tips

      If an area other than that specified is coated by accident, wipe off the primer with a clean piece of cloth before it dries.

    2. Install a new adhesive dam onto the windshield glass, as shown in the illustration.

      A004F9RE01
      Text in Illustration
      *a Back Side *b 9.6 mm (0.378 in.)
      *c 37.0 mm (1.457 in.) - -
  5. INSTALL WINDSHIELD GLASS


    1. A004G9YE01
      Text in Illustration
      *1 Adhesive

      Clean and shape the contact surface of the vehicle body.


      1. Using a knife, cut away any rough adhesive on the contact surface of the vehicle body to ensure the appropriate surface shape.

        Tech Tips

        Leave as much adhesive on the vehicle body as possible.

      2. Clean the contact surface of the vehicle body with a piece of cloth saturated with cleaner.

    2. A004G3JE01
      Text in Illustration
      *a Mark

      Position the windshield glass.


      1. Using suction cups, place the windshield glass in the correct position.

      2. Check that the whole contact surface of the windshield glass rim is perfectly even.

      3. Align the matchmarks on the windshield glass and vehicle body.

        Note

        Check that the windshield glass stoppers are attached to the vehicle body correctly.

      4. Remove the windshield glass.

    3. A004FQUE01
      Text in Illustration
      *1 Primer M
      *2 Adhesive
      *a Correct
      *b Incorrect

      Using a brush, coat the installation surface on the vehicle body with Primer M.

      Note


      • Do not coat the adhesive with Primer M.

      • Do not apply too much primer.

      • Allow the primer coating to dry for 3 minutes or more.

      • Do not keep any of the opened Primer M for later use.

    4. Using a brush or sponge, coat the application areas that still have adhesive attached with Primer G.

      A004ERZE01
      Text in Illustration
      *1 Primer G - -
      *a Back Side *b 8 mm (0.315 in.)
      *c 19 mm (0.748 in.) - -

      Note


      • Do not apply too much primer.

      • Allow the primer coating to dry for 3 minutes or more.

      • Throw away any leftover primer.

      Tech Tips


      • Apply Primer G onto the ceramic notches.

      • If an area other than that specified is coated by accident, wipe off the primer with a clean piece of cloth before it dries.

    5. Apply adhesive to the glass.

      Adhesive
      Toyota Genuine Windshield Glass Adhesive or equivalent

      1. A004F7PE01
        Text in Illustration
        *a 8.0 mm (0.315 in.)
        *b 12.0 mm (0.472 in.)

        Cut off the tip of the cartridge nozzle, as shown in the illustration.

        Tech Tips

        After cutting off the tip, use all adhesive within the time limit described in the table below.

        Usage Time Frame
        Temperature Usage Time Frame
        35°C (95°F) 15 minutes
        20°C (68°F) 1 hour and 40 minutes
        5°C (41°F) 8 hours
      2. Load the sealer gun with a cartridge.

    6. Apply adhesive to the windshield glass, as shown in the illustration.

      A004EG4E01
      Text in Illustration
      *1 Adhesive - -
      *a Back Side *b 3.0 mm (0.118 in.)
      *c 12.0 mm (0.472 in.) *d 8.0 mm (0.315 in.)
      *e 30.5 mm (1.201 in.) - -
    7. Install the windshield glass.


      1. A004FAWE01
        Text in Illustration
        *a Mark

        Using suction cups, position the windshield glass so that the matchmarks are aligned, and press it in gently along the rim.

        Note


        • Check that the windshield glass stoppers are attached to the vehicle body correctly.

        • Check the clearance between the vehicle body and windshield glass.

      2. Lightly press the front surface of the windshield glass to ensure a close fit.

        Tech Tips

        Press the glass with force of 98 N (10 kgf, 22 lb) or more.

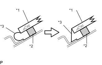
      3. A004EPJE01
        Text in Illustration
        *1 Windshield
        *2 Dam
        *3 Adhesive

        If necessary, use a scraper to correct the level or position of adhesive that has been applied.

        Tech Tips

        Apply adhesive onto the windshield glass rim.

  6. INSTALL WINDSHIELD OUTSIDE MOULDING


    1. A004F1C

      Using a brush or sponge, coat the application area of the moulding with Primer G.

      Note


      • Do not apply too much primer.

      • Allow the primer coating to dry for 3 minutes or more.

      • Throw away any leftover primer.

    2. Install a new moulding onto the windshield glass, as shown in the illustration.

      A004EPEE01
    3. A004E4VE01
      Text in Illustration
      *1 Protective Tape

      Hold the windshield glass using protective tape until applied adhesive hardens.

      Note

      Do not drive the vehicle within the time limits described in the table below.

      Minimum time
      Temperature Minimum Time Prior to Driving Vehicle
      35°C (95°F) 1 hour and 30 minutes
      20°C (68°F) 5 hours
      5°C (41°F) 24 hours
  7. INSPECT FOR LEAK AND REPAIR


    1. After the adhesive has hardened, apply water from the outside of the vehicle. Check that no water leaks into the cabin.

    2. If water leaks into the cabin, allow the water to dry and add adhesive.

    3. Remove the protective tape.

  8. INSTALL ROOF HEADLINING ASSEMBLY

    Click here

    Tech Tips

    Return the front section of the roof headlining assembly to the original position.

  9. INSTALL INNER REAR VIEW MIRROR ASSEMBLY

    Click here

  10. INSTALL PRE-CRASH SAFETY CITY HEATER (w/ Pre-Crash Safety City Heater)

    Tech Tips

    Perform the following procedure only when replacement of a pre-crash safety city heater is necessary.

    Click here

  11. INSTALL PRE-CRASH SAFETY CITY SENSOR (w/ Toyota Safety Sense)

    Click here

  12. INSTALL RAIN SENSOR (w/ Rain Sensor)

    Click here

  13. INSTALL WINDSHIELD WIPER MOTOR AND LINK

    Click here

  14. ADJUST FRONT SENSOR


    1. Perform adjustment using One Time Recognition or Sequential Recognition.

    2. One Time Recognition:

      Click here

    3. Sequential Recognition:

      Click here