PUSH-BUTTON START SYSTEM DESCRIPTION


  1. SYSTEM FUNCTION

    Function Outline
    Push-button start function When the electrical key transmitter sub-assembly is brought into the vehicle and verified, this function changes the power source or starts the hybrid system when the power switch and brake pedal are operated.
    Battery saving function for key If a switch on the electrical key transmitter sub-assembly is depressed and held, this function stops transmission of the signal after approximately 20 seconds to save transmitter battery power.
    Push-button start cancel function Cancels the push-button start when certain operations are performed.
    Immobiliser function Allows the hybrid system to be started only using registered keys to prevent an unauthorized hybrid system start.
    Automatic power off function
    • With the shift lever in P and the power switch on (ACC) (the hybrid control system is not started and the vehicle is not moving), the power automatically turns off when the vehicle is left as is for 20 minutes or more.

    • With the shift lever in P and the power switch on (IG) (the hybrid control system is not started and the vehicle is not moving), the power automatically turns off when the vehicle is left as is for 60 minutes or more.

  2. DETECTION AREA

    Note


    • Depending on the vehicle body shape, the electrical key transmitter sub-assembly may not operate in certain locations.

    • Even if the electrical key transmitter sub-assembly is in the vehicle interior key detection area, the electrical key transmitter sub-assembly may not be properly detected if it is on the instrument panel, accessory box of the instrument panel, or in/near the front cup holder, in the glove box or on the floor.

    • Depending on the way the electrical key transmitter sub-assembly is held, the electrical key transmitter sub-assembly may not operate properly.

    • The key detection area may reduce in size or the electrical key transmitter sub-assembly may not be properly detected under the conditions below:


      • The transmitter battery is depleted.

      • There are TV towers, electric power plants, broadcasting stations, gas stations or other facilities that produce strong electric waves nearby.

      • Wireless products such as cell phones, etc. are carried with the electrical key transmitter sub-assembly.

      • The electrical key transmitter sub-assembly is covered by or in contact with a metal object.

      • Electric wave-type keyless entry systems are being operated nearby.

      • The electrical key transmitter sub-assembly is placed near high-voltage equipment or equipment that emits electrical noise.


    1. The detection area inside the vehicle is formed and the electrical key transmitter sub-assembly is detected when any of the following conditions are met: 1) The driver door is opened and closed, 2) the brake pedal is depressed, 3) the power switch is operated, 4) the conditions required for various warnings are met.

    2. The detection area inside the vehicle when starting the hybrid system can be customized through the customize function Click here.

  3. MULTI CHANNEL FUNCTION


    1. The electrical key transmitter sub-assembly and door control receiver can operate on two different RF channels. When an electrical key transmitter sub-assembly is brought within an interior detection area, key verification begins. If key verification fails due to wave interference, the channel will be switched and key verification will be performed again.

      The multi channel system begins verification using the channel on which the last verification was successfully performed. When verification fails, the system switches to the other channel.

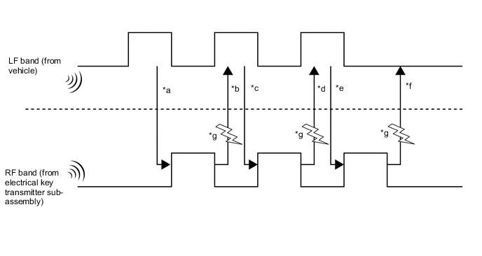
      A01UYUZE15
      Text in Illustration
      *a Interior detection areas are created using LF waves to receive a response from the electrical key transmitter sub-assembly.
      *b When the electrical key transmitter sub-assembly is brought into an interior detection area, it receives LF waves from the vehicle. Using RF waves, the electrical key transmitter sub-assembly responds to the vehicle.
      *c Upon receiving the response from the electrical key transmitter sub-assembly, the certification ECU (smart key ECU assembly) activates the electrical key antennas (inside) one by one. Using LF waves, the certification ECU (smart key ECU assembly) determines which interior detection area the electrical key transmitter sub-assembly is in.
      *d The electrical key transmitter sub-assembly receives the LF waves from the vehicle and responds using RF waves. (The certification ECU (smart key ECU assembly) recognizes which interior detection area the electrical key transmitter sub-assembly is in.)
      *e The certification ECU (smart key ECU assembly) sends registered key ID information to the electrical key transmitter sub-assembly using LF waves. (Up to 7 key IDs can be registered.)
      *f The electrical key transmitter sub-assembly sends the key ID information using RF waves. When the certification ECU (smart key ECU assembly) receives it, verification completes.
      *g Wave interference (Channel switching)

      The multi channel system changes the channels when the RF band (*b, *d and *f) is interrupted by wave interference.

      Refer to the table below to confirm when the system changes the channels.

      *b or *d is NG *f is NG
      Condition RF waves cannot be received RF waves cannot be received properly RF waves cannot be received RF waves cannot be received properly
      Channel switching The channels will not be switched. The channels will be switched. The channels will not be switched. The channels will be switched.
  4. WARNING FUNCTION


    1. Warning


      1. When any of the situations below occur, the push-button start causes the certification ECU (smart key ECU assembly) to sound the wireless door lock buzzer and a buzzer in the combination meter assembly and the entry indicator in the combination meter assembly to illuminate in order to alert the driver.

      2. Situation: The hybrid system is left running and the shift lever is in a position other than P when the driver gets out of the vehicle.


        • There are 2 patterns for this situation.


          • Pattern 1:

            When the hybrid system is left running and the shift lever is in a position other than P, the driver opens the door and attempts to get out of the vehicle.

            In this situation, the following control is performed:

            Reason for warning Sudden vehicle start, vehicle theft, vehicle roll-away

            Warning Start Condition

            (All conditions are met)


            • The power switch is on (ACC) or on (IG).

            • The shift lever is in a position other than P.

            • The driver door is opened.

            • The vehicle speed is 0 mph (0 km/h).

            Warning description Buzzer in combination meter assembly sounds continuously.

            Warning Stop Condition

            (One of conditions is met)


            • The power switch is turned off.

            • The shift lever is in P.

            • The driver door is closed.

            • The vehicle speed is 5 km/h (3.11 mph) or more.


          • Pattern 2:

            Under the situation of pattern 1, the driver closes the door and attempts to leave the vehicle while holding the electrical key transmitter sub-assembly.

            In this situation, the following control is performed:

            Reason for warning Sudden vehicle start, vehicle theft, vehicle roll-away

            Warning Start Condition

            (All conditions are met)


            • The power switch is on (ACC) or on (IG).

            • The shift lever is in a position other than P.

            • The driver door is opened → closed.

            • The electrical key transmitter sub-assembly is not in the vehicle.

            • The vehicle speed is 0 mph (0 km/h).

            Warning description
            • Buzzer in combination meter assembly sounds continuously.

            • Wireless buzzer sounds continuously.

            • Entry indicator flashes yellow in combination meter assembly.

            Warning Stop Condition

            (One of conditions is met)


            • The power switch is turned off.

            • The shift lever is in P.

            • Electrical key transmitter sub-assembly is returned to the vehicle.

            • The vehicle speed is 5 km/h (3.11 mph) or more.

      3. Situation: The key reminder sounds.


        • When the driver door is open, the driver turns the power switch on (ACC) and attempts to leave the vehicle.

          Reason for warning Vehicle theft

          Warning Start Condition

          (All conditions are met)

          Condition 1


          • The power switch is on (ACC).

          • The driver door is opened.

          Condition 2 (Approval for one second or more)


          • The power switch is off.

          • The steering wheel is unlocked.

          • The driver door is opened.

          Warning description
          • Buzzer in combination meter assembly sounds continuously at short and even intervals.

          Warning Stop Condition

          (One of conditions is met)

          The warning is stopped when one of the following conditions is met:


          • The power switch is turned on (IG).

          • The driver door is closed.

          • The power switch is turned off and the steering wheel is locked.

      4. Situation: The hybrid system is left running with the shift lever in P when the driver gets out of the vehicle.


        • When the hybrid system is left running with the shift lever in P, the driver closes the driver door and attempts to leave the vehicle while carrying the electrical key transmitter sub-assembly.

          In this situation, the following control is performed:

          Reason for warning Vehicle theft

          Warning Start Condition

          (All conditions are met)


          • The power switch is on (ACC) or on (IG).

          • The shift lever is in P.

          • The driver door is opened → closed.

          • The electrical key transmitter sub-assembly is not in the vehicle.

          • The vehicle speed is 0 mph (0 km/h).

          Warning description
          • Buzzer in combination meter assembly sounds once.

          • Wireless buzzer sounds 3 times.

          • Entry indicator flashes yellow in combination meter assembly.

          Warning Stop Condition

          (Either condition is met)


          • The power switch is turned off.

          • The electrical key transmitter sub-assembly is returned to the vehicle.

      5. Situation: The hybrid system is left running when a passenger gets out of the vehicle while carrying the electrical key transmitter sub-assembly.


        • When the hybrid system is left running, a passenger leaves the vehicle while carrying the electrical key transmitter sub-assembly.

          In this situation, the following control is performed:

          Reason for warning Hybrid system cannot be restarted

          Warning Start Condition

          (All conditions are met)


          • The power switch is on (ACC) or on (IG).

          • A door other than the driver door is opened → closed.

          • The electrical key transmitter sub-assembly is not in the vehicle.

          • The vehicle speed is 0 mph (0 km/h).

          Warning description
          • Buzzer in combination meter assembly sounds once.

          • Wireless buzzer sounds 3 times.

          • Entry indicator flashes yellow in combination meter assembly.

          Warning Stop Condition

          (Either condition is met)


          • The power switch is turned off.

          • The electrical key transmitter sub-assembly is returned to the vehicle.

      6. Situation: The electrical key transmitter sub-assembly is not in the detection areas.


        • When the electrical key transmitter sub-assembly is not in the vehicle or the transmitter battery is depleted, the driver attempts to start the hybrid system or turn the power switch on (IG).

          In this situation, the following control is performed:

          Reason for warning Confuses the user

          Warning Start Condition

          (All conditions are met)


          • The engine immobiliser system is set.

          • A door is not unlocked using the mechanical key and the power switch is pressed.

          • The electrical key transmitter sub-assembly is not in the vehicle or the transmitter battery is depleted.

          Warning description
          • Buzzer in combination meter assembly sounds once.

          • Entry indicator flashes yellow in combination meter assembly.

          Warning Stop Condition

          (Either condition is met)


          • 15 seconds elapse after warning starts

          • The electrical key transmitter sub-assembly is returned to the vehicle.

          • 30 seconds have elapsed after the door is opened

      7. Situation: The vehicle is driven without an electrical key transmitter sub-assembly.


        • When the vehicle starts moving without the registered electrical key transmitter sub-assembly in the vehicle.

          In this situation, the following control is performed:

          Reason for warning Hybrid system cannot be restarted

          Warning Start Condition

          (All conditions are met)


          • The power switch is on (IG).

          • Warning of due to electrical key transmitter sub-assembly being brought out of vehicle is output.

          • The vehicle speed is 5 km/h (3.11 mph) or more.

          • The electrical key transmitter sub-assembly is not in the vehicle.

          Warning description
          • Buzzer in combination meter assembly sounds nine times.

          • Entry indicator flashes yellow in combination meter assembly.

          Warning Stop Condition

          (Either condition is met)


          • The power switch is turned off.

          • The electrical key transmitter sub-assembly is returned to the vehicle.

      8. Situation: The electrical key transmitter sub-assembly is locked inside the vehicle.

        With a door open and the electrical key transmitter sub-assembly in the vehicle, the lock knob is locked and then the door is closed with the door handle being pulled.

        In this situation, the following control is performed:

        Reason for warning Vehicle theft

        Warning Start Condition

        (All conditions are met)

        Condition 1:


        • With a door open, the lock knob is locked and then the door is closed with the door handle being pulled.

        • The electrical key transmitter sub-assembly is in the vehicle.

        • The vehicle speed is 0 km/h (0 mph).

        Condition 2*1:


        • The power switch is off.

        • All doors are closed and locked

        • Lock operation other than entry lock operation is performed

        • The electrical key transmitter sub-assembly is inside vehicle

        Warning description
        • Buzzer in combination meter assembly sounds once.

        • Wireless buzzer sounds continuously for 5 seconds.

        Warning Stop Condition

        (One of conditions is met)


        • The power switch is turned to a mode other than off.

        • Any door is opened (only wireless buzzer stops).

        • Lock operation is detected.

        • The vehicle speed is 5 km/h (3.11 mph) or more.


        • *1: w/ Double Locking System

      9. Situation: The transmitter battery is weak.


        • The vehicle is driven using an electrical key transmitter sub-assembly that has a low transmitter battery.

          In this situation, the following control is performed:

          Reason for warning Usability function, hybrid system cannot be restarted

          Warning Start Condition

          (All conditions are met)

          Condition 1


          • The power switch is turned off after being left on (IG) for more than 20 minutes.

          • The transmitter battery voltage is low.

          • The electrical key transmitter sub-assembly is in the vehicle.

          • The vehicle speed is 0 mph (0 km/h).

          Condition 2


          • The power switch is off → the hybrid system is started.

          • The transmitter battery voltage is low.

          • The electrical key transmitter sub-assembly is in the vehicle.

          • The vehicle speed is 0 mph (0 km/h).

          • Condition 1 is met.(past)

          Warning description
          • Buzzer in combination meter assembly sounds once.

          • Entry indicator flashes yellow in combination meter assembly for 15 seconds.

          Warning Stop Condition

          (Either condition is met)


          • The vehicle speed is 5 km/h (3.11 mph) or more.

          • The transmitter battery is replaced with a new one.

      10. Situation: The steering wheel cannot be released.


        • The steering wheel cannot be released, thus the hybrid system is prevented from starting.

          The shift lever is moved to a position other than P before the steering wheel is unlocked.

          In this situation, the following control is performed:

          Reason for warning Usability function
          Warning Start Condition
          • Steering wheel cannot be unlocked.

          Warning description
          • Buzzer in combination meter assembly sounds once.

          • Entry indicator flashes green in combination meter assembly.

          Warning Stop Condition
          • Steering wheel is unlocked.

      11. Situation: The push-button start is malfunction.


        • An IG circuit malfunction, vehicle speed signal malfunction or malfunction that interferes with steering lock ECU (steering lock actuator assembly) operation, has been detected.

          In this situation, the following control is performed:

          Reason for warning Malfunction detection

          Warning Start Condition

          (One of conditions is met)


          • The steering lock ECU (steering lock actuator assembly), driver of the certification ECU (smart key ECU assembly) or unlock detection switch is malfunctioning.

          • An IG relay output circuit malfunction occurs three times or more consecutively.

          • The vehicle speed is judged as abnormal or vehicle speed signal communication is malfunctioning.

          Warning description
          • Buzzer in combination meter assembly sounds once.

          • Entry indicator flashes yellow in combination meter assembly for 15 seconds.

          Warning Stop Condition
          • The system returns to normal.

      12. Situation: The hybrid system does not start. (Situation A)


        • When the power switch is pressed, the electrical key transmitter sub-assembly cannot be detected in the vehicle two times in a row.

          In this situation, the following control is performed:

          Reason for warning Usability function

          Warning Start Condition

          (One of conditions is met)


          • The engine immobiliser system is set.

          • The electrical key transmitter sub-assembly is not in the vehicle.

          • Key code verification error occurs when the power switch is pressed twice or the driver door key linked unlock operation is performed.

          Warning description
          • Buzzer in combination meter assembly sounds once.

          • Entry indicator flashes yellow in combination meter assembly for 30 seconds.

          Warning Stop Condition

          (Either condition is met)


          • The electrical key transmitter sub-assembly is in the vehicle.

          • 30 seconds have elapsed after the door is opened

      13. Situation: Engine immobiliser system certification completion occurs.


        • When an electrical key transmitter sub-assembly with a depleted transmitter battery is held near to the power switch while depressing the brake.

          In this situation, the following control is performed:

          Reason for warning Malfunction detection
          Warning Start Condition Electrical key transmitter sub-assembly certification result is OK.
          Warning description Buzzer in combination meter assembly sounds once.