STEERING COLUMN ASSEMBLY(for LHD) REASSEMBLY

PROCEDURE


  1. INSTALL POWER STEERING MOTOR ASSEMBLY

    Note


    • Do not drop the power steering motor assembly, strike it with tools or subject it to impacts.

    • If the power steering motor assembly is subjected to an impact, replace it with a new one.

    • Do not pull the wire harness and the tilt steering support bond cable of the power steering motor assembly.

    • Do not allow any moisture to come into contact with the power steering motor assembly.

    • Do not loosen any bolts not mentioned in the procedure.

    • Do not allow any foreign objects to contaminate the power steering motor assembly.


    1. A01V1KQ

      Apply grease to the serrated part of the electric power steering column sub-assembly.

      Text in Illustration
      A01V112 Grease

      Note

      First wipe off the existing grease from the serrated part, and then apply the dedicated grease supplied with a new power steering motor assembly or electric power steering column sub-assembly.

    2. Using "TORX" socket wrench T40, temporarily install the power steering motor assembly to the electric power steering column sub-assembly with the 2 bolts.

      Note

      When temporarily installing the 2 bolts to the power steering motor assembly, do not tighten them all the way down.

    3. A01UY11E01
      Text in Illustration
      *1 Wooden Block

      Secure the steering column assembly in a vise using aluminum plates.

      Note


      • Do not overtighten the vise, as the steering column assembly may become deformed.

      • Secure the power steering motor assembly so that it is directly upright.

      • Support the steering column assembly with a wooden block or similar item to ensure that it does not fall.

    4. A01UZ29E01
      Text in Illustration
      *1 Wooden Block

      Using SST, turn the steering main shaft once 180 degrees to the left and then 180 degrees to the right at a speed of 60 rpm, and repeat 2 to 3 times to adjust the axis centering of the power steering motor assembly.

      SST
      09616-00011
    5. Using "TORX" socket wrench T40, tighten the 2 bolts.

      Torque:
      19 N*m  { 189 kgf*cm, 14 ft.*lbf }
    6. A01UZBME01
      Text in Illustration
      *1 Wooden Block

      Using SST, measure the turning torque of the steering main shaft.

      SST
      09616-00011
      Torque:
      Turning torque
      1.45 N*m  { 14.8 kgf*cm, 12.8 in.*lbf }
      or less

      Note

      Ensure that there is no abnormal resistance during rotation.

      If the torque is not as specified, readjust the axis centering of the power steering motor assembly.

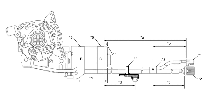
    7. Install new clamp and tape to the wire harness as shown in the illustration.

      A01UXPPE05
      Text in Illustration
      *1 Torque Sensor Wire Harness *2 Power Steering Motor Wire Harness
      *3 Tape A *4 Clamp
      *5 Tape B - -
      *a 378 to 398 mm (1.24 to 1.30 ft.) *b 145 mm (5.71 in.)
      *c 130 to 170 mm (5.12 to 6.69 in.) *d 150 to 170 mm (5.91 to 6.69 in.)
      *e 74 to 94 mm (2.92 to 3.70 in.) *f 10 mm (0.394 in.)

      Note


      • Wrap the tape around the area marked as "A" in the illustration more than 1.5 times.

      • Wrap the tape around the area marked as "B" in the illustration more than 2 times.

      • As heat from the power steering motor assembly may generate smoke, use heat resistant tape (resistant to 100°C (212°F) or more).

  2. INSTALL IGNITION OR STARTER SWITCH ASSEMBLY (w/o Power Switch)

    A01UYU9

    1. Engage the 2 claws to install the ignition or starter switch assembly to the upper steering column bracket assembly.

  3. INSTALL IGNITION SWITCH LOCK CYLINDER ASSEMBLY (w/o Power Switch)


    1. A01V0I6E03
      *1 LOCK

      Turn the ignition switch to ACC.

    2. Install the ignition switch lock cylinder assembly into the upper steering column bracket assembly.

      Tech Tips

      Make sure that the ignition switch lock cylinder assembly is securely fixed onto the upper steering column bracket assembly.

  4. INSTALL KEY INTER LOCK SOLENOID (w/o Power Switch)

    A01V094

    1. Install the key inter lock solenoid to the upper steering column bracket assembly with the 2 screws.

  5. INSTALL UN-LOCK WARNING SWITCH ASSEMBLY (w/o Power Switch)

    A01V0AU

    1. Engage the 2 claws to install the un-lock warning switch assembly onto the upper steering column bracket assembly.

      Tech Tips

      Slide the un-lock warning switch assembly, in the direction shown by the arrow in the illustration, to install it.

  6. INSTALL UPPER STEERING COLUMN BRACKET WITH SWITCH ASSEMBLY (w/o Power Switch)


    1. Fix the steering column assembly in a vise between aluminum plates.

      Note

      Do not overtighten the vise.

    2. A01UYCW

      Install the upper steering column bracket with switch assembly with a new steering lock set bolt, and then tighten the bolt until its head comes off.

  7. INSTALL STEERING LOCK ACTUATOR ASSEMBLY (w/ Power Switch)

    Tech Tips

    When replacing the steering lock actuator assembly, refer to Service Bulletin.


    1. Fix the steering column assembly in a vise between aluminum plates.

      Note

      Do not overtighten the vise.

    2. A01UYCW

      Install the steering lock actuator assembly with a new steering lock set bolt, and then tighten the bolt until its head comes off.