POWER STEERING SYSTEM TS and CG Terminal Circuit

DESCRIPTION

In Test Mode (signal check), a malfunction in a speed sensor that cannot be detected when the vehicle is stopped can be detected while driving.

Sensor check mode can be entered by connecting terminals TS and CG of the DLC3 and turning the ignition switch from off to ON (READY).

WIRING DIAGRAM

A01UZLLE03
*a Power Steering ECU Assembly

CAUTION / NOTICE / HINT

Note

If the power steering ECU assembly has been replaced with a new one, perform assist map writing and torque sensor zero point calibration Click here.

PROCEDURE


  1. CHECK HARNESS AND CONNECTOR (POWER STEERING ECU ASSEMBLY - TS of DLC3)


    1. Disconnect the F5 power steering ECU assembly connector.

    2. Measure the resistance according to the value(s) in the table below.

      Standard Resistance
      Tester Connection Condition Specified Condition
      F5-6 (TS) - F3-12 (TS) Always Below 1 Ω
      F5-6 (TS) - Body ground Always 10 kΩ or higher

    NG
    OK
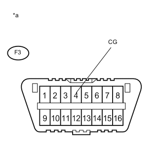
  2. CHECK HARNESS AND CONNECTOR (CG of DLC3 - BODY GROUND)


    1. A01UYGVE02
      Text in Illustration
      *a Front view of DLC3

      Measure the resistance according to the value(s) in the table below.

      Standard Resistance
      Tester Connection Condition Specified Condition
      F3-4 (CG) - Body ground Always Below 1 Ω
      Result
      Result Proceed to
      OK (for LHD) A
      OK (for RHD) B
      NG C

    A
    B
    C