POWER STEERING SYSTEM TC and CG Terminal Circuit

DESCRIPTION

Connecting terminals TC and CG of the DLC3 causes the ECU to display DTCs by blinking the EPS warning light.

WIRING DIAGRAM

A004GAAE02
*a Brake Booster with Master Cylinder Assembly (Skid Control ECU)
*b Power Steering ECU Assembly
*c Hybrid Vehicle Control ECU
*d CAN Communication Line

CAUTION / NOTICE / HINT

Note

If the power steering ECU assembly has been replaced with a new one, perform assist map writing and torque sensor zero point calibration Click here.

Tech Tips

When the warning lights continue to blink, a ground short in the wiring of terminal TC of the DLC3 or an internal ground short in one or more ECUs is suspected.

PROCEDURE


  1. CHECK CAN COMMUNICATION SYSTEM


    1. Check if a CAN communication system DTC is output.


      Result
      Result Proceed to
      DTC is not output A
      DTC is output (w/o Toyota Safety Sense) B
      DTC is output (w/ Toyota Safety Sense) C

    B
    C
    A
  2. CHECK HARNESS AND CONNECTOR (TC of DLC3 - HYBRID VEHICLE CONTROL ECU)


    1. Disconnect the F56 hybrid vehicle control ECU connector.

    2. Measure the resistance according to the value(s) in the table below.

      Standard Resistance
      Tester Connection Condition Specified Condition
      F3-13 (TC) - F56-28 (TC) Always Below 1 Ω

    NG
    OK
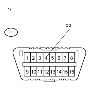
  3. CHECK HARNESS AND CONNECTOR (CG of DLC3 - BODY GROUND)


    1. A004G41E04
      Text in Illustration
      *a Front view of DLC3

      Measure the resistance according to the value(s) in the table below.

      Standard Resistance
      Tester Connection Condition Specified Condition
      F3-4 (CG) - Body ground Always Below 1 Ω

    NG
    OK
  4. CHECK HARNESS AND CONNECTOR (TC of DLC3 - BODY GROUND)


    1. A004EH7E04
      Text in Illustration
      *a Front view of DLC3

      Measure the resistance according to the value(s) in the table below.

      Standard Resistance
      Tester Connection Condition Specified Condition
      F3-13 (TC) - Body ground Always 10 kΩ or higher
      Result
      Result Proceed to
      OK (for LHD) A
      OK (for RHD) B
      NG C

      Tech Tips

      If troubleshooting has been carried out according to Problem Symptoms Table, refer back to the table and proceed to the next step before replacing the part Click here.


    A
    B
    C