FRONT PASSENGER AIRBAG ASSEMBLY DISPOSAL

CAUTION:

Before performing pre-disposal deployment of any SRS part, review and closely follow all applicable environmental and hazardous material regulations. Pre-disposal deployment may be considered hazardous material treatment.


  1. PRECAUTION

    CAUTION:


    • An airbag or pretensioner may be activated by static electricity. To prevent this, be sure to touch a metal surface with bare hands to discharge static electricity before performing this procedure.

    • Never dispose of a front passenger airbag assembly with an undeployed airbag.

    • The airbag produces an exploding sound when it is deployed, so perform the operation outdoors and where it will not create a nuisance to nearby residents.

    • When deploying the airbag, always use the specified SST (SRS Airbag Deployment Tool). Perform the operation in a place away from electrical noise.

    • When deploying the airbag, perform the operation at least 10 m (32.8 ft.) away from the front passenger airbag assembly.

    • The front passenger airbag assembly becomes extremely hot when the airbag is deployed, so do not touch it for at least 30 minutes after deployment.

    • Use gloves and safety glasses when handling a front passenger airbag assembly with a deployed airbag.

    • Do not apply water etc. to a front passenger airbag assembly with a deployed airbag.

    • Always wash your hands with water after completing the operation.

    Tech Tips

    When scrapping a vehicle equipped with an SRS or disposing of the front passenger airbag assembly, be sure to deploy the airbag first in accordance with the procedure described below. If any abnormality occurs with the airbag deployment, contact the Service Dept. of the distributor.

  2. DISPOSE OF FRONT PASSENGER AIRBAG ASSEMBLY (When Installed in Vehicle)

    Note


    • When disposing of the front passenger airbag assembly, never use the customer's vehicle to deploy the airbag.

    • Be sure to observe the following procedure when deploying the airbag.

    Tech Tips

    Prepare a battery as the power source to deploy the airbag.


    1. A01NDGCE06

      Check the function of SST Click here.

      SST
      09082-00700
    2. Refer to Precaution Click here.

    3. Disconnect the cable from the negative (-) battery terminal.

      CAUTION:

      Wait at least 90 seconds after disconnecting the cable from the negative (-) battery terminal to disable the SRS system.

    4. Remove the front passenger side knee airbag assembly Click here.

    5. Remove the grove compartment door assembly Click here.

    6. Disconnect the instrument panel wire assembly.

      Note

      When disconnecting any airbag connector, take care not to damage the airbag wire harness.


      1. A01NDCVE01
        Text in Illustration
        *1 Slider

        Slide the slider to release the lock, and then disconnect the connector.

    7. Install SST.

      CAUTION:

      Check that there is no looseness in the front passenger airbag assembly and instrument panel safety pad assembly.


      1. A01NHVEE01

        Connect the SST connector to the instrument panel wire assembly.

        SST
        09082-00700
        09082-00780

        Note

        To avoid damaging the SST connector or wire harness, do not lock the secondary lock of the twin lock.

      2. A01NFKQE19
        Text in Illustration
        *1 Battery

        Move SST at least 10 m (32.8 ft.) away from the front side window of the vehicle.

      3. Maintaining sufficient clearance for the SST wire harness in the front side window, close all doors and windows of the vehicle.

        Note

        Take care not to damage the SST wire harness.

      4. Connect the red clip of SST to the positive (+) battery terminal and the black clip of SST to the negative (-) battery terminal.

    8. Deploy the airbag.


      1. Check that no one is inside the vehicle or within a 10 m (32.8 ft.) radius of the vehicle.

      2. Press the SST activation switch and deploy the airbag.

        CAUTION:


        • Before deployment, make sure that no one is near the vehicle.

        • The front passenger airbag assembly becomes extremely hot when the airbag is deployed, so do not touch it for at least 30 minutes after deployment.

        • Use gloves and safety glasses when handling a front passenger airbag assembly with a deployed airbag.

        • Do not apply water etc. to a front passenger airbag assembly with a deployed airbag.

        • Always wash your hands with water after completing the operation.

        Tech Tips

        The airbag is deployed as the LED of the SST activation switch comes on.

  3. DISPOSE OF FRONT PASSENGER AIRBAG ASSEMBLY (When not Installed in Vehicle)

    Note

    Be sure to observe the following procedure when deploying the airbag.

    Tech Tips

    Prepare a battery as the power source to deploy the airbag.


    1. A01NDGCE06

      Check the function of SST Click here.

      SST
      09082-00700
    2. Remove the front passenger airbag assembly Click here.

      CAUTION:


      • Before removing the front passenger airbag assembly, wait at least 90 seconds after turning the power switch off and disconnecting the cable from the negative (-) battery terminal.

      • When storing the front passenger airbag assembly, keep the airbag deployment side facing upward.

    3. Install SST.


      1. A01NDDOE01

        After connecting the following SST to each other, connect them to the front passenger airbag assembly.

        SST
        09082-00802   ( 09082-10801, 09082-30801 )
    4. A01NDOVE18
      Text in Illustration
      *1 Stripped Wire Section
      *2 Wire Diameter

      Using braided wire, tie down the front passenger airbag assembly to an unneeded tire.

      Wire
      Stripped wire section
      1.25 mm2 (0.0019 in.2) or more

      CAUTION:

      If the wire is too thin or an alternative object is used to tie down the front passenger airbag assembly, it may snap when the airbag is deployed. Always use a wire for vehicle use with an area of at least 1.25 mm2(0.0019 in.2).

      Tech Tips

      To calculate the area of the stripped wire section:

      Area = 3.14 x (Diameter)2/ 4


      1. Position the front passenger airbag assembly inside the tire with the airbag deployment side facing inside.

        Minimum tire size
        Must exceed the following dimensions
        Width
        185 mm (7.28 in.)
        Inner diameter
        360 mm (1.18 ft.)
        A01NCQAE01
        Text in Illustration
        *1 Inner Diameter *2 Width

        CAUTION:


        • Make sure that the wires are tight. If there is slack in the wires, the front passenger airbag assembly may break loose when the airbag is deployed.

        • Always tie down the front passenger airbag assembly with the airbag deployment side facing inside the tire as shown in the illustration.

        Note

        The tires may be damaged by the airbag deployment, so use an unneeded tire.

    5. A01NGPSE01

      Place the tires.


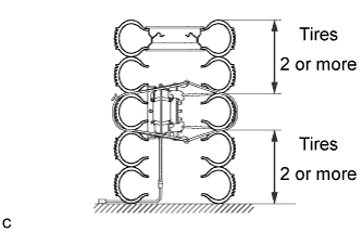
      1. Place at least 2 tires under the tire to which the front passenger airbag assembly is tied.

      2. Place at least 2 tires onto the tire to which the front passenger airbag assembly is tied. The top tire should have a wheel installed.

        Note

        Do not place the SST connector under the tire because it could be damaged.

      3. A01NEBT

        Tie the tires together with the 2 wires.

        CAUTION:

        Make sure that the wires are tight. Looseness in the wires results in the tires breaking loose when the airbag is deployed.

    6. Install SST.


      1. A01NDKDE02
        Text in Illustration
        *1 Front Passenger Airbag Assembly
        *2 Battery

        Connect the SST connector.

        SST
        09082-00700

        Note

        To avoid damaging the SST connector or wire harness, do not lock the secondary lock of the twin lock. Also, secure some slack for the SST wire harness inside the tire.

      2. Move SST at least 10 m (32.8 ft.) away from the airbag tied down to the tire.

    7. Deploy the airbag.


      1. Connect the red clip of SST to the positive (+) battery terminal and the black clip of SST to the negative (-) battery terminal.

      2. Check that no one is within a 10 m (32.8 ft.) radius of the tire to which the front passenger airbag assembly is tied.

      3. Press the SST activation switch and deploy the airbag.

        CAUTION:

        Before deployment, make sure that no one is near the airbag.

        Tech Tips

        The airbag is deployed as the LED of the SST activation switch comes on.

    8. A01NG43

      Dispose of the front passenger airbag assembly.

      CAUTION:


      • The front passenger airbag assembly becomes extremely hot when the airbag is deployed, so do not touch it for at least 30 minutes after deployment.

      • Use gloves and safety glasses when handling a front passenger airbag assembly with a deployed airbag.

      • Do not apply water etc. to a front passenger airbag assembly with a deployed airbag.

      • Always wash your hands with water after completing the operation.


      1. Remove the front passenger airbag assembly from the tire.

      2. Place the front passenger airbag assembly in a plastic bag, tie it tightly, and dispose of it according to local regulations.