REAR SEAT ASSEMBLY REASSEMBLY

CAUTION:

Wear protective gloves. Sharp areas on the parts may injure your hands.

Tech Tips

The procedure described below is for the LH side. Use the same procedure for both the LH and RH sides, unless otherwise specified.


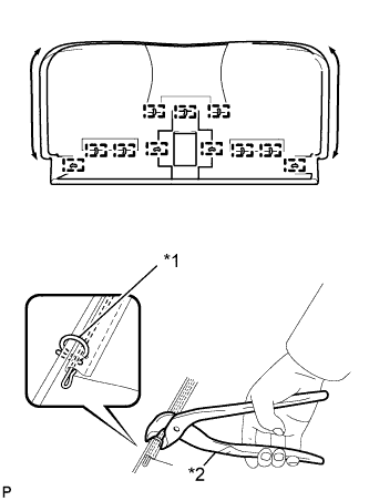
  1. INSTALL REAR SEATBACK COVER LH (for Cover Separate Type)


    1. A0119XSE01
      Text in Illustration
      *1 New Hog Ring
      *2 Hog Ring Pliers

      Using hog ring pliers, install 10 new hog rings as shown in the illustration.

  2. INSTALL REAR SEATBACK COVER RH (for Cover Separate Type)

    Tech Tips

    Use the same procedure as for the LH side.

  3. INSTALL REAR SEATBACK WITH COVER PAD LH


    1. Install the rear seat spring silencer.

    2. A011A00

      Temporarily install the rear seatback with cover pad LH onto the rear seat frame LH.

    3. A011B6T

      Align the protruding portion of the rear seat headrest support with the installation groove of the rear seatback

    4. Engage the 4 claws and install the 2 rear seat headrest supports.

    5. A0118A3

      Fasten the 2 zippers.

    6. Engage the hook.

  4. INSTALL REAR SEATBACK WITH COVER PAD RH

    Tech Tips

    Use the same procedure as for the LH side.

  5. INSTALL REAR SEATBACK LOCK ASSEMBLY LH


    1. A0118TF

      Align the guides and, using a torque socket wrench (T45), install the rear seatback lock to the rear seat frame with the bolt.

      Torque:
      18 N*m  { 184 kgf*cm, 13 ft.*lbf }
  6. INSTALL REAR SEATBACK LOCK ASSEMBLY RH

    Tech Tips

    Use the same procedure as for the LH side.

  7. INSTALL REAR SEAT CUSHION COVER (for Cover Separate Type)


    1. A0116ZUE01
      Text in Illustration
      *1 New Hog Ring
      *2 Hog Ring Pliers

      Using hog ring pliers, install 20 new hog rings as shown in the illustration.

    2. A0118Z9E01
      Text in Illustration
      *1 New Hog Ring
      *2 Hog Ring Pliers

      Using hog ring pliers, install 11 new hog rings as shown in the illustration.

    3. Fasten the 2 zippers.

  8. INSTALL REAR SEAT CUSHION ASSEMBLY


    1. A011A58

      Install the rear seat cushion assembly.

  9. INSTALL REAR SEATBACK ASSEMBLY LH


    1. A011A6EE01
      Text in Illustration
      *1 Hook
      *2 Guide

      Align the guide with the hook and install the rear seatback assembly LH.

    2. Install the nut.

      Torque:
      42 N*m  { 428 kgf*cm, 31 ft.*lbf }
  10. INSTALL REAR SEATBACK ASSEMBLY RH

    Tech Tips

    Use the same procedure as for the LH side.

  11. INSTALL REAR SEAT SIDE HINGE MALE COVER LH


    1. A0118HZ

      Engage the 3 claws and install the rear seat side hinge male cover LH.

    2. Install the clip.

  12. INSTALL REAR SEAT SIDE HINGE MALE COVER RH

    Tech Tips

    Use the same procedure as for the LH side.

  13. INSTALL REAR SEAT INNER BELT ASSEMBLY LH


    1. A01195M

      Install the rear seat inner belt with the bolt.

      Torque:
      42 N*m  { 428 kgf*cm, 31 ft.*lbf }
    2. A01190D

      Engage the wiring harness clamp.

    3. Connect the rear seat inner belt connector.

  14. INSTALL REAR SEAT INNER BELT ASSEMBLY RH


    1. A0119RX

      Install the rear seat inner belt with the bolt.

      Torque:
      42 N*m  { 428 kgf*cm, 31 ft.*lbf }
    2. A011ADA

      Engage the 2 wiring harness clamps.

    3. Connect the rear seat inner belt connector.

    4. A0118KM

      Engage the rear seat inner belt buckle switch connector and 2 wiring harness clamps.

  15. INSTALL REAR SEAT BELT BUCKLE UPPER COVER


    1. A011983

      Engage the 2 claws and the clip and install the rear seat belt buckle upper cover.

    2. A0117HS

      Tighten the 2 screws.