REAR SEAT OUTER BELT ASSEMBLY INSTALLATION

Tech Tips

The procedure described below is for the RH side. Use the same procedure for both the RH and LH sides, unless otherwise specified.


  1. INSTALL REAR SEAT OUTER BELT ASSEMBLY


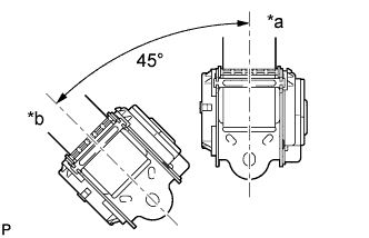
    1. A0117AYE03
      Text in Illustration
      *a Unlock
      *b Lock

      Check the angle of inclination required to lock the retractor.


      1. Gently incline the retractor from its initial position. Check that the belt does not lock when the retractor is inclined 15° or less in any direction. Also, check that the belt locks when the inclination of the retractor is 45° or more.

        Note

        Do not disassemble the retractor.

        If the operation is not as specified, replace the rear seat outer belt assembly.

    2. A011BUPE01

      Engage the 2 hooks and temporarily install the retractor of the rear seat outer belt assembly with the 2 bolts.

    3. Tighten bolt A and then bolt B.

      Torque:
      for Bolt A
      4.8 N*m  { 49 kgf*cm, 42 in.*lbf }
      Torque:
      for Bolt B
      42 N*m  { 428 kgf*cm, 31 ft.*lbf }
    4. A0118N5

      Connect the shoulder anchor of the rear seat outer belt assembly with the bolt.

      Torque:
      42 N*m  { 428 kgf*cm, 31 ft.*lbf }
    5. A011A3I

      Engage the 2 claws to close the seat belt anchor cover cap.

    6. A0118OK

      Connect the floor anchor of the rear seat outer belt assembly with the bolt.

      Torque:
      42 N*m  { 428 kgf*cm, 31 ft.*lbf }
    7. Check that the ELR locks.

      Note

      Perform the check with the rear seat outer belt assembly installed.


      1. With the belt installed, check that the belt locks when it is pulled out quickly.

        If the operation is not as specified, replace the rear seat outer belt assembly.

  2. INSTALL NO. 1 SIDE TRIM ASSEMBLY


    1. Engage the 6 clips and install the side No. 1 trim.

  3. INSTALL DECK TRIM SIDE BELT HOLE COVER


    1. Engage the 5 claws and install the deck trim side belt hole cover.

  4. CONNECT BACK DOOR WEATHERSTRIP


    1. Connect the back door weatherstrip.

  5. INSTALL REAR DECK TRIM COVER


    1. Engage the 6 claws and install the rear deck trim cover.

    2. Install the 2 clips.

  6. CONNECT FRONT DOOR OPENING TRIM WEATHERSTRIP


    1. Connect the front door opening trim weatherstrip.

  7. INSTALL FRONT DOOR SCUFF PLATE


    1. Engage the 9 claws and install the front door scuff plate.

  8. INSTALL REAR SEAT ASSEMBLY

    Click here