FRONT SEAT SIDE AIRBAG ASSEMBLY DISPOSAL

Tech Tips


  • Disposal procedure for the RH side is the same as that for the LH side.

  • The procedure described below is for the LH side.

  • When scrapping a vehicle equipped with the SRS or disposing of the front seat side airbag, deploy the airbag first in accordance with the procedure described below. If any abnormality occurs with the airbag deployment, contact the SERVICE DEPT. of the DISTRIBUTOR.

CAUTION:


  • Before performing pre-disposal deployment of any SRS component, review and closely follow all applicable environmental and hazardous material regulations. Pre-disposal deployment may be considered hazardous material treatment.

  • Never dispose of a front seat side airbag that has an undeployed airbag.

  • The airbag emits an exploding sound when it is deployed, so perform the operation outdoors and where it will not create a nuisance to nearby residents.

  • A01181PE01

    When deploying the airbag, always use the specified SST (SRS Airbag Deployment Tool). Perform the operation in a place away from electrical noise.

  • When deploying the airbag, perform the operation at least 10 m (33 ft) away from the airbag.

  • The front seat side airbag becomes extremely hot when the airbag is deployed, so do not touch it for at least 30 minutes after deployment.

  • Use gloves and safety glasses when handling a front seat side airbag which has been deployed.

  • Always wash your hands with water after completing the operation.

  • Do not apply water, etc. to a front seat side airbag which has been deployed.

  • An airbag or pretensioner may be activated by static electricity. To prevent this, be sure to touch a metal surface with bare hands to discharge static electricity before performing this procedure.


  1. DISPOSE OF FRONT SEAT SIDE AIRBAG ASSEMBLY (WHEN INSTALLED IN VEHICLE)

    Tech Tips

    Prepare a battery as the power source to deploy the airbag.


    1. A01181PE01

      Check the function of SST.

      SST
      09082-00700

      CAUTION:

      Always use the specified SST (SRS Airbag Deployment Tool) when deploying the airbag.


      1. A0117QKE01

        Connect the red clip of SST to the positive battery terminal and the black clip of SST to the negative battery terminal.

      2. A0119D9E01

        Press the SST activation switch, and check that the LED on the SST activation switch illuminates.

        CAUTION:


        • Do not connect the SST connector (yellow colored one) to the airbag.

        • If the LED illuminates when the activation switch is not being pressed, SST may be malfunctioning. Do not to use SST.

      3. Disconnect SST from the battery.

    2. Disconnect the cable from the negative battery terminal.

    3. for Driver seat:


      1. A0117XP

        Disconnect the airbag connector, as shown in the illustration.

        Note

        Do not damage the airbag wire harness when handling the airbag connector.

    4. for LHD front passenger seat:


      1. A0118E6

        Disconnect the airbag connector, as shown in the illustration.

        Note

        Do not damage the airbag wire harness when handling the airbag connector.

    5. for RHD front passenger seat:


      1. A01179V

        Disconnect the airbag connector, as shown in the illustration.

        Note

        Do not damage the airbag wire harness when handling the airbag connector.

    6. A011BABE01

      Connect SST.

      SST
      09082-00700
      09082-00810

      1. Connect the SST connector to the front seat side airbag.

        Note

        Do not lock the secondary lock of the twin lock to avoid damaging SST connector and wire harness.

      2. A011ATFE20

        Move SST to at least 10 m (33 ft) away from the vehicle.

      3. Close all doors and windows of the vehicle.

        Note

        Do not damage the SST wire harness.

      4. Connect the red clip of SST to the positive battery terminal and the black clip of SST to the negative battery terminal.

    7. A0118M9

      Deploy the airbag.


      1. Check that no one is inside the vehicle or within a 10 m (33 ft) radius of the vehicle.

      2. Press the SST activation switch and deploy the airbag.

        CAUTION:


        • Make sure that no one is near the vehicle when deploying the airbag.

        • The front seat side airbag becomes extremely hot when the airbag is deployed, so do not touch it for at least 30 minutes after deployment.

        • Use gloves and safety glasses when handling a front seat side airbag which has been deployed.

        • Do not apply water, etc. to a front seat side airbag which has been deployed.

        • Always wash your hands with water after completing the operation.

        Tech Tips

        The airbag is deployed as the LED on the SST activation switch illuminates.

  2. DISPOSE OF FRONT SEAT SIDE AIRBAG ASSEMBLY (WHEN NOT INSTALLED IN VEHICLE)

    Note

    Be sure to observe the following procedure when deploying the airbag.

    Tech Tips

    Prepare a battery as the power source to deploy the airbag.


    1. A01181PE01

      Check the function of SST.

      SST
      09082-00700

      CAUTION:

      Always use the specified SST (SRS Airbag Deployment Tool) when deploying the airbag.


      1. A0117QKE01

        Connect the red clip of SST to the positive battery terminal and the black clip of SST to the negative battery terminal.

      2. A0119D9E01

        Press the SST activation switch, and check that the LED on the SST activation switch illuminates.

        CAUTION:


        • Do not connect the SST connector (yellow colored one) to the airbag.

        • If the LED illuminates when the activation switch is not being pressed, SST may be malfunctioning. Do not to use SST.

      3. Disconnect SST from the battery.

    2. Remove the front seat side airbag assembly Click here.

      CAUTION:


      • Before removing the front seat assembly, wait at least 90 seconds after turning the ignition switch off and disconnecting the cable from the negative (-) battery terminal.

      • When storing the front seat side airbag assembly, keep the airbag deployment side facing upward.

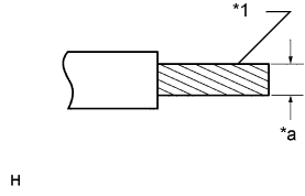
    3. A0118GPE42

      Using braided wire, tie down the front seat side airbag assembly to an unneeded tire.

      Text in Illustration
      *1 Stripped Wire Cross Sectional Area
      *a Wire Diameter
      Wire
      Stripped wire cross sectional area
      1.25 mm2 (0.0019 in.2) or more

      CAUTION:

      If the wire is too thin or an alternative object is used to tie down the front seat side airbag assembly, it may snap when the airbag is deployed. Always use a wire for vehicle use with an area of at least 1.25 mm2(0.0019 in.2).

      Tech Tips

      To calculate the area of the stripped wire cross sectional area:

      Cross sectional area = 3.14 x (Diameter)2/ 4


      1. A0118A7

        Install the 2 nuts to the front seat side airbag assembly.

      2. A0118Y3E01
        Text in Illustration
        *a Width
        *b Inner Diameter

        Position the front seat side airbag assembly inside the tire.

        Minimum tire size
        Width
        185 mm (7.28 in.)
        Inner diameter
        360 mm (14.17 in.)

        CAUTION:


        • Make sure that the wires are tight. If there is slack in the wires, the front seat side airbag assembly may break loose when the airbag is deployed.

        • Face the front seat side airbag assembly deployment surface toward the inside the tire to evenly distribute the force of deployment.

        Note

        The tire may be damaged by the airbag deployment, so use an unneeded tire.

    4. Install SST.


      1. A0118Y0E01

        Connect the SST connector to the front seat side airbag assembly connector.

        SST
        09082-00810
    5. Place the tires.


      1. A01197PE01
        Text in Illustration
        *1 Tires (2 or more)
        *a Inner Diameter
        *b Width

        Place at least 2 tires under the tire to which the front seat side airbag assembly is tied.

        Minimum tire size
        Width
        185 mm (7.28 in.)
        Inner diameter
        360 mm (14.17 in.)

        Note


        • The wheel and tires may be damaged by the airbag deployment, so use unneeded tires.

        • Do not place the SST connector under the tire because it could be damaged.

      2. Place at least 2 tires onto the tire to which the front seat side airbag assembly is tied. The top tire should have a wheel installed.

      3. A01176Z

        Tie the tires together with 2 wires.

        CAUTION:

        Make sure that the wires are tight. Looseness in the wires will result in the tires breaking loose when the airbag is deployed.

    6. Install SST.


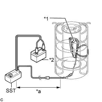
      1. A011BSZE01
        Text in Illustration
        *1 Front Seat Side Airbag Assembly
        *2 Battery
        *a 10 m (33 ft.) or more

        Connect the SST connector.

        SST
        09082-00700

        Note

        To avoid damaging the SST connector or wire harness, do not lock the secondary lock of the twin lock. Also, secure some slack for the SST wire harness inside the tire.

      2. Move SST at least 10 m (33 ft.) away from the airbag tied down to the tire.

    7. Deploy the airbag.


      1. Connect the red clip of SST to the positive (+) battery terminal and the black clip of SST to the negative (-) battery terminal.

      2. Check that no one is within a 10 m (33 ft.) radius of the tire to which the front seat side airbag assembly is tied.

      3. Press the SST activation switch to deploy the airbag.

        CAUTION:

        Before deployment, make sure that no one is near the airbag.

        Tech Tips

        The airbag is deployed as the LED of the SST activation switch comes on.

    8. A0118M9

      Dispose of the front seat side airbag assembly.

      CAUTION:


      • The front seat side airbag assembly becomes extremely hot when the airbag is deployed, so do not touch it for at least 30 minutes after deployment.

      • Use gloves and safety glasses when handling a front seat side airbag assembly with a deployed airbag.

      • Do not apply water etc. to a front seat side airbag assembly with a deployed airbag.

      • Always wash your hands with water after completing the operation.


      1. Remove the front seat side airbag assembly from the tire.

      2. Place the front seat side airbag assembly in a plastic bag, tie it tightly, and dispose of it according to local regulations.