AIRBAG SYSTEM, Diagnostic DTC:B1905/74, B1906/74, B1907/74, B1908/74

DTC Code DTC Name
B1905/74 Short in Front Passenger Side Pretensioner Squib Circuit
B1906/74 Open in Front Passenger Side Pretensioner Squib Circuit
B1907/74 Short to GND in Front Passenger Side Pretensioner Squib Circuit
B1908/74 Short to B+ in Front Passenger Side Front Pretensioner Squib Circuit

DESCRIPTION

The front passenger side front pretensioner squib circuit consists of the center airbag sensor assembly and the front seat outer belt assembly (front passenger side pretensioner squib).

This circuit signals the SRS to deploy when deployment conditions are met.

These DTCs are recorded when a malfunction is detected in the front passenger side pretensioner squib circuit.

DTC No. DTC Detection Condition Trouble Area
B1905/74

When one of following conditions is met:


  • Center airbag sensor assembly detects line short circuit signal in front passenger side pretensioner squib circuit 5 times during primary check.

  • Front passenger side pretensioner squib malfunction

  • Center airbag sensor assembly malfunction


  • Floor wire

  • Front seat outer belt assembly (Front passenger side pretensioner squib)

  • Center airbag sensor assembly

B1906/74

When one of following conditions is met:


  • Center airbag sensor assembly detects open circuit signal in front passenger side pretensioner squib circuit for 2 seconds.

  • Front passenger side pretensioner squib malfunction

  • Center airbag sensor assembly malfunction


  • Floor wire

  • Front seat outer belt assembly (Front passenger side pretensioner squib)

  • Center airbag sensor assembly

B1907/74

When one of following conditions is met:


  • Center airbag sensor assembly detects short circuit to ground signal in front passenger side pretensioner squib circuit for 0.5 seconds.

  • Front passenger side pretensioner squib malfunction

  • Center airbag sensor assembly malfunction


  • Floor wire

  • Front seat outer belt assembly (Front passenger side pretensioner squib)

  • Center airbag sensor assembly

B1908/74

When one of following conditions is met:


  • Center airbag sensor assembly detects short circuit to B+ signal in front passenger side pretensioner squib circuit for 0.5 seconds.

  • Front passenger side pretensioner squib malfunction

  • Center airbag sensor assembly malfunction


  • Floor wire

  • Front seat outer belt assembly (Front passenger side pretensioner squib)

  • Center airbag sensor assembly

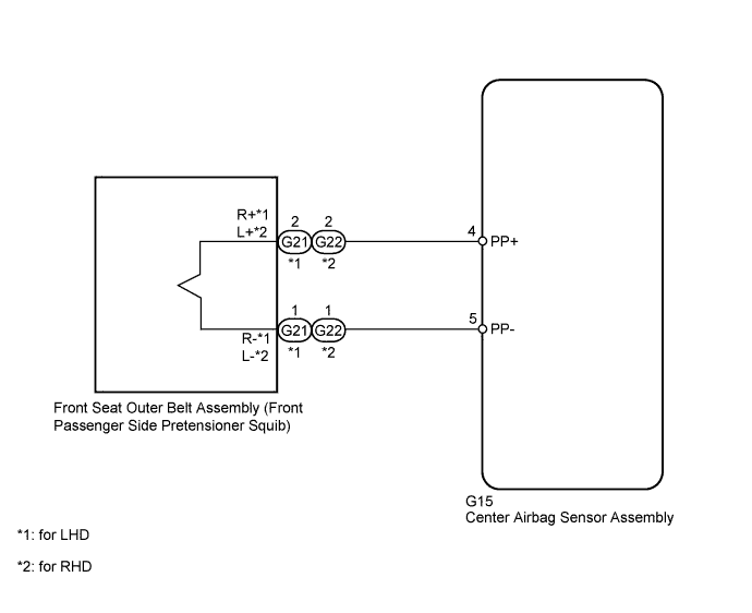
WIRING DIAGRAM

A01195ZE06

INSPECTION PROCEDURE

Tech Tips


  • Perform the simulation method by selecting Check Mode (signal check) with the intelligent tester Click here.

  • After selecting Check Mode (signal check), perform the simulation method by wiggling each connector of the airbag system or driving the vehicle on a city street or rough road Click here.

PROCEDURE


  1. CHECK CONNECTOR


    1. Turn the ignition switch off.

    2. Disconnect the cable from the negative (-) battery terminal, and wait for at least 90 seconds.

    3. Disconnect the connector from the floor wire.

    4. Check the floor wire connector and terminals (on the front seat outer belt assembly (passenger side) side) and check that the connector is properly connected to the front seat outer belt assembly (passenger side).

      Result
      Result Proceed to
      No problem. A
      Connector or terminals incorrect. B
      Connector connected improperly. C

    B
    C
    A
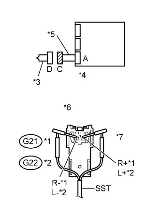
  2. CHECK FRONT SEAT OUTER BELT ASSEMBLY (FRONT PASSENGER SIDE PRETENSIONER SQUIB)

    A0118YQE01
    Text in Illustration
    *1 for LHD
    *2 for RHD
    *3 Front Passenger Side Pretensioner Squib
    *4 Center Airbag Sensor Assembly
    *5 Floor Wire
    *6

    Front view of wire harness connector

    (to Front Passenger Side Pretensioner Squib)

    *7 Connector C
    SST
    09843-18061

    1. Disconnect the connectors from the front seat outer belt assembly (passenger side).

    2. Connect the white wire side of SST (resistance 2.1 Ω) to connector C.

      CAUTION:

      Never connect a tester to the front seat outer belt assembly (passenger side) for measurement, as this may lead to a serious injury due to airbag deployment.

      Note


      • Do not forcibly insert SST into the terminals of the connector when connecting.

      • Insert SST straight into the terminals of the connector.

    3. Connect the cable to the negative battery terminal, and wait for at least 2 seconds.

    4. Turn the ignition switch to ON, and wait for at least 60 seconds.

    5. Clear the DTCs stored in the memory Click here.

    6. Turn the ignition switch off.

    7. Turn the ignition switch to ON, and wait for at least 60 seconds.

    8. Check the DTCs Click here.

      OK
      DTC B1905, B1906, B1907, B1908 or 74 is not output.

      Tech Tips

      DTCs other than B1905, B1906, B1907, B1908 and 74 may be output at this time, but they are not related to this check.


    NG
    OK
  3. CHECK CONNECTOR


    1. Turn the ignition switch off.

    2. Disconnect the cable from the negative (-) battery terminal, and wait for at least 90 seconds.

    3. Disconnect the SST from connector C.

    4. Disconnect the connector from the center airbag sensor assembly.

    5. Check the floor wire connector and terminals (on the center airbag sensor assembly side) and check that the connector is properly connected to the center airbag sensor assembly .

      Result
      Result Proceed to
      No problem. A
      Connector or terminals incorrect. B
      Connector connected improperly. C

    B
    C
    A
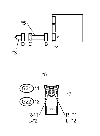
  4. CHECK FLOOR WIRE (FRONT PASSENGER SIDE PRETENSIONER SQUIB CIRCUIT)

    A011BPCE01
    Text in Illustration
    *1 for LHD
    *2 for RHD
    *3 Front Passenger Side Pretensioner Squib
    *4 Center Airbag Sensor Assembly
    *5 Floor Wire
    *6

    Front view of wire harness connector

    (to Front Passenger Side Pretensioner Squib)

    *7 Connector C

    1. Disconnect the connectors from the center airbag sensor assembly.

    2. Check for short to B+ in the circuit.


      1. Connect the cable to the negative battery terminal, and wait for at least 2 seconds.

      2. Turn the ignition switch to ON.

      3. Measure the voltage according to the value(s) in the table below.

        Standard Voltage
        for LHD
        Tester Connection Switch Condition Specified Condition
        G21-1 (R-) - Body ground Ignition switch ON Below 1 V
        G21-2 (R+) - Body ground Ignition switch ON Below 1 V
        for RHD
        Tester Connection Switch Condition Specified Condition
        G22-1 (L-) - Body ground Ignition switch ON Below 1 V
        G22-2 (L+) - Body ground Ignition switch ON Below 1 V
    3. Check for open in the circuit.


      1. Turn the ignition switch off.

      2. Disconnect the cable from the negative (-) battery terminal, and wait for at least 90 seconds.

      3. Measure the resistance according to the value(s) in the table below.

        Standard Resistance
        for LHD
        Tester Connection Condition Specified Condition
        G21-1 (R-) - G21-2 (R+) Always Below 1 Ω
        for RHD
        Tester Connection Condition Specified Condition
        G22-1 (L-) - G22-2 (L+) Always Below 1 Ω
    4. Check for short to ground in the circuit.


      1. Measure the resistance according to the value(s) in the table below.

        Standard Resistance
        for LHD
        Tester Connection Condition Specified Condition
        G21-1 (R-) - Body ground Always 1 MΩ or higher
        G21-2 (R+) - Body ground Always 1 MΩ or higher
        for RHD
        Tester Connection Condition Specified Condition
        G22-1 (L-) - Body ground Always 1 MΩ or higher
        G22-2 (L+) - Body ground Always 1 MΩ or higher
    5. Check for short in the circuit.


      1. Release the activation prevention mechanism built into connector B Click here.

      2. Measure the resistance according to the value(s) in the table below.

        Standard Resistance
        for LHD
        Tester Connection Condition Specified Condition
        G21-1 (R-) - G21-2 (R+) Always 1 MΩ or higher
        for RHD
        Tester Connection Condition Specified Condition
        G22-1 (L-) - G22-2 (L+) Always 1 MΩ or higher
      3. Restore the released activation prevention mechanism of connector B to the original condition.


    NG
    OK
  5. CHECK CENTER AIRBAG SENSOR ASSEMBLY

    A0119KME35
    Text in Illustration
    *1 Front Passenger Side Pretensioner Squib
    *2 Center Airbag Sensor Assembly

    1. Connect the connectors to the front seat outer belt assembly (passenger side) and the center airbag sensor assembly.

    2. Connect the cable to the negative battery terminal, and wait for at least 2 seconds.

    3. Turn the ignition switch to ON, and wait for at least 60 seconds.

    4. Clear the DTCs stored in the memory Click here.

    5. Turn the ignition switch off.

    6. Turn the ignition switch to ON, and wait for at least 60 seconds.

    7. Check the DTCs Click here.

      OK
      DTC B1905, B1906, B1907, B1908 or 74 is not output.

      Tech Tips

      DTCs other than B1905, B1906, B1907, B1908 and 74 may be output at this time, but they are not related to this check.


    NG
    OK