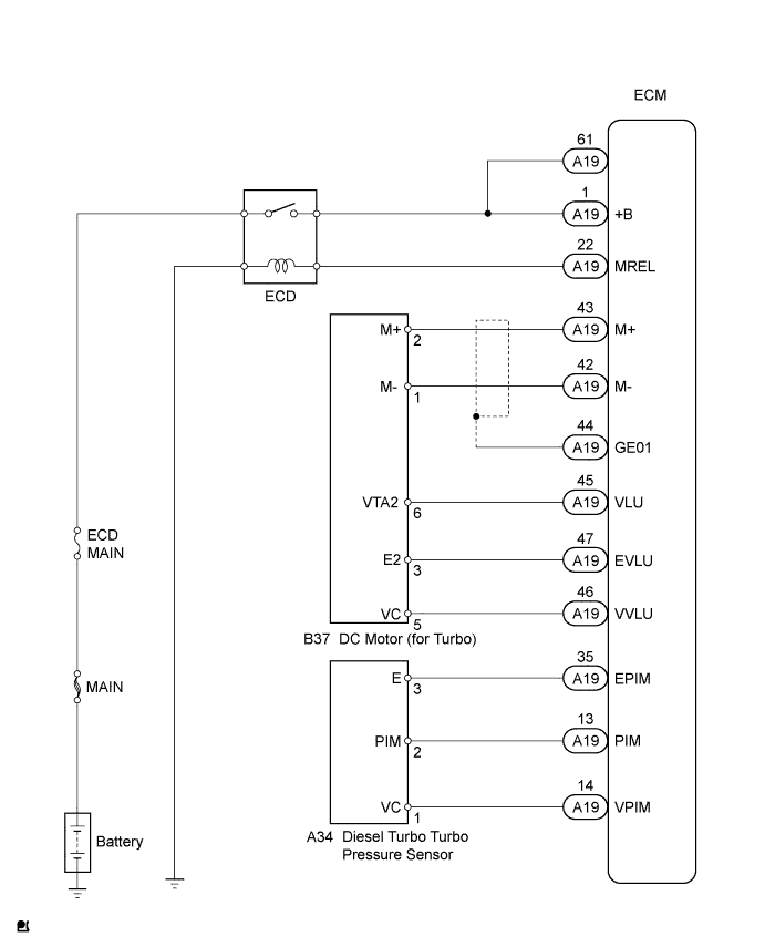
INTAKE SYSTEM SYSTEM DIAGRAM

A0117T7E01