ECD SYSTEM Engine Difficult to Start or Stalling

DESCRIPTION


  1. Faults and Symptoms of Common Rail Diesel Components


    1. Engine Control

      Mass Air Flow Meter
      Component Mass air flow meter
      Main fault Decrease in performance (foreign matter is stuck)
      Symptoms Lack of power, black smoke
      Data List MAF

      Tech Tips

      The maximum fuel injection volume is controlled according to the output from the mass air flow meter.

      Intake System
      Component Intake system
      Symptom: Main fault
      • Lack of power (No black smoke): Air filter blockage, Air duct is crushed/leaking

      • Black smoke (No lack of power): Leakage between the turbo and intake manifold

      Data List
      • MAP (inside manifold absolute pressure)

      • Target Booster Pressure

        When the accelerator is fully depressed, if MAP is 15 kPa lower than Target Booster Pressure for more than 5 seconds then a lack of power will be felt.

      Turbocharger System
      Component Turbocharger system
      Main fault
      • Air leak in the turbocharged air passage

      • Turbo motor driver not operating well

      • Turbocharger (turbine, bearing)

      Symptoms

      Lack of power (when vehicle starting, when vehicle under heavy load)

      (Black smoke is not emitted when racing while vehicle stopped)

      Data List

      MAP (inside manifold absolute pressure), Target Booster Pressure


      • When the accelerator is fully depressed, if MAP is 15 kPa lower than Target Booster Pressure for more than 5 seconds then a lack of power will be felt.

      • With the ignition switch ON or during idling, MAP = atmospheric pressure (standard atmospheric pressure = 101 kPa). When the engine speed is about 1500 rpm or more, the turbocharger starts to take effect and MAP becomes higher than atmospheric pressure.

      • Atmospheric pressure increases 1 kPa each time altitude increases by 100 m, and is also affected by the current weather conditions.

      VN Turbo Command


      • 0%: Vanes fully open (drive rod contracts)

      • Over 90%: Vanes fully closed (drive rod expands and turbo operates effectively)

      Diagnostic Point
      • Using the Active Test "Test the Turbo Charger Step Motor", check the drive rod movement.

      • Check the drive rod movement when the ignition switch is turned from ON to off.

      Exhaust System
      Component Exhaust system
      Main fault Blockage
      Symptoms Lack of power (high engine speed, when vehicle under heavy load)
      Data List

      MAP (inside manifold absolute pressure)

      When the accelerator is fully depressed, if MAP is 15 kPa lower than Target Booster Pressure for more than 5 seconds then a lack of power will be felt.

      Glow System
      Component Glow system
      Main fault Open circuit, glow plug relay fault
      Symptoms Difficult to start, rough idle, knocking, white smoke (when cold)
      Data List Check the glow plug indicator light
      Diagnostic Point Try to measure the resistance of the glow plug
      Battery
      Component Battery
      Main fault Battery is depleted
      Symptoms Difficult to start (cannot crank, crank speed is low), horn is quiet.
      Data List

      Battery Voltage

      When cranking, battery voltage is less than 5 V

      Engine - 1
      Component Engine
      Main fault Damaged, seized up
      Symptoms Cannot crank, crank speed is low, strange noise
      Engine - 2
      Component Engine
      Main fault Loss of compression
      Symptoms Rough idle (lack of power always)
      Data List

      Engine Speed of Cyl


      • The engine is cranked for approximately 10 seconds, then the speed of each cylinder is measured (compression test).

      • Indicates the speed of each cylinder when cranking. Example - Normal: Engine speed of all cylinders is approximately equal. When No. 1 cylinder compression is extremely low, "Engine speed of Cyl #1" is approximately 300 rpm, and "Engine speed of Cyl #2 to #4" is approximately 200 rpm.

      • Usually the tester displays the value of when the engine is started.

      Injection Feedback Val


      • "Injection Feedback Val" more than 2.0 mm3/st: Injector breakdown is causing injection volume deviation, or insufficient compression is causing poor combustion.

      Start System
      Component Entry and start system
      Main fault Starter system malfunction
      Symptoms Difficult to start
      Data List

      Starter Signal


      • Ignition switch (STA) operation

        ON: Starter is operating

        OFF: Starter is not operating

      Immobiliser system
      Component Engine immobiliser system
      Main fault

      Engine immobiliser system (w/ Entry and Start System) / Problem Symptoms Table Click here

      Engine immobiliser system (w/o Entry and Start System) / Problem Symptoms Table Click here

      Symptoms Engine does not start
      Data List

      Immobiliser Communication


      • ON: Normal

      • OFF: GND short or immobiliser is set

      Engine Immobiliser System (w/ Entry and Start System) / Data List Click here

      Engine Immobiliser System (w/o Entry and Start System) / Data List Click here

    2. Diesel Injection

      Fuel Supply Pump
      Component Fuel supply pump
      Main fault -
      Symptoms Difficult to start, engine stalling, rough idle, lack of power
      Data List

      Fuel Press, Target Common Rail Pressure, Target Pump SCV Current


      • When in a stable condition such as when idling, the fuel pressure is within +/-10000 kPa of the target fuel pressure.

      • If the fuel pressure is 20000 kPa below the target pressure then a lack of power will be felt.

      • If the fuel pressure is below 25000 kPa then idling will be rough.

      Tech Tips


      • The fuel pressure changes at engine starting, but is approx. 25000 kPa at engine start after the engine is warmed up.

      • When Target Pump SCV Current is 1530 mA or more, the suction control valve has a tendency to become stuck.

      Diagnostic Trouble Code Even if Fuel Press is less than Target Common Rail Pressure, a DTC may not be stored.
      Fuel Filter
      Component Fuel filter
      Main fault Blockage
      Symptoms Difficult to start, engine stalling, rough idle, lack of power
      Data List

      Fuel Press, Target Common Rail Pressure


      • When in a stable condition such as when idling, the fuel pressure is within +/-10000 kPa of the target fuel pressure.

      • If the fuel pressure is 20000 kPa below the target pressure then a lack of power will be felt.

      • If the fuel pressure is below 25000 kPa then idling will be rough.

      Tech Tips

      The fuel pressure changes at engine starting, but is approx. 25000 kPa at engine start after the engine is warmed up.

      Diagnostic Trouble Code Even if Fuel Press is less than Target Common Rail Pressure, a DTC may not be stored.
      Fuel Injector
      Component Fuel injector
      Main fault

      Injection hole blockage

      Nozzle needle or valve piston does not move smoothly

      Symptoms Rough idle, lack of power, black smoke, white smoke, knocking
      Data List

      Injection Feedback Val


      • "Injection Feedback Val" more than 2.0 mm3/st: Injector breakdown is causing injection volume deviation, or insufficient compression is causing poor combustion.

      Pressure Control Valve
      Component Pressure control valve
      Main fault Does not completely close
      Symptoms Difficult to start, engine stall, rough idle, lack of power
      Fuel Pressure Sensor
      Component Fuel pressure sensor
      Main fault Open circuit, decrease in performance (foreign matter is stuck)
      Symptoms Difficult to start, rough idle, engine stall, lack of power
      Data List

      Fuel Press, Target Common Rail Pressure


      • Slowly raise the engine speed from idling to 3000 rpm with the vehicle stopped, and check that Fuel Press follows Target Common Rail Pressure. If the fuel pressure sensor malfunctions, the actual fuel pressure may deviate from the target fuel pressure. (However, the value may not deviate even when a malfunction is present).

      Diagnostic Trouble Code When the fuel pressure sensor has a fault, some DTCs may be stored.
      Irregular Fuel
      Component Irregular fuel
      Main fault -
      Symptoms Difficult to start, rough idle (especially when cold)
    3. Diesel EGR

      EGR System
      Component EGR system
      Main fault
      • Does not move smoothly

      • Does not close completely

      Symptoms
      • Rough idle

      • EGR valve stuck closed: A loud turbocharger sound.

      • EGR valve stuck open: Difficult to start (does not stall), black smoke, lack of power (if there is an excess in the quantity of EGR and there is a heavy load, when the vehicle starts moving, a lack of power will be felt).

      Data List

      Actual EGR Valve Pos., Target EGR Pos.


      • Generally, Actual EGR Valve Pos. = Target EGR Pos. +/-5% (fully closed 0%, fully open 100%).

      • Using EGR valve Active Test, check whether Actual EGR Valve Pos. follows Target EGR Pos. (the engine coolant temperature and intake air temperature should be considered when a malfunction occurs).

      • EGR valve is fully closed when the ignition switch is turned to ON (engine stopped).

      • EGR valve opens to the halfway point at idling after the engine warmed up.

    4. Diesel Throttle

      Diesel Throttle System
      Component Diesel throttle system
      Main fault Stuck, does not move smoothly
      Symptoms
      • Stuck closed: Lack of power, difficult to start, rough idle, engine stall, black smoke. These may occur when stuck almost fully closed.

      • Stuck open: Turbocharger sound increases. When the engine is stopped, engine vibrations may occur.

      Data List
      • Actual Throttle Position, Target Throttle Position

        0%: Fully open

        100%: Fully closed

      • If there is a malfunction of the throttle actuator, compare the target and actual throttle position values for the troubleshooting.

  2. Data List Related to Starting Trouble

    Tech Tips

    The Data List values in the table are the results of checking one vehicle under a specific condition (engine coolant temperature, intake air temperature, atmospheric pressure etc.). Therefore, use these values for reference only.


    1. Engine Control

      MAP
      Data List Judgment of Data List Values Faulty Component Diagnosis Note
      MAP
      • When MAP is low, there will be difficulty starting.

      • With ignition switch ON or during idling, MAP is nearly equal to Atmosphere Pressure (standard atmospheric pressure = 101 kPa).

      When MAP is low, the following conditions are possible:


      • Diesel throttle nearly fully closed.

      • Intake system blocked (turbocharger system also).

      • Exhaust system blocked.


      • When the ignition switch is ON or the vehicle is idling, MAP (intake manifold absolute pressure) and Atmosphere Pressure are approximately equal (standard atmospheric pressure = 101 kPa).

        Above approx. 1500 rpm, the turbo becomes effective, and the pressure becomes higher than atmospheric pressure.

      • Inspect while comparing with "Target Booster Pressure".

      • With the accelerator fully open, if the MAP (intake manifold absolute pressure) is low compared to the target booster pressure by at least 15 kPa for 5 seconds or more, a feeling of insufficient power will occur.

      Results of real-vehicle check:


      • Ignition switch ON: 98 kPa

      • Cranking: 98 kPa

      • Idling (warm up the engine): 99 kPa (2 minutes after starting the vehicle)

      • Running without load (2500 rpm): 109 kPa

      • Running without load (3000 rpm): 131 kPa

      • Running without load (4000 rpm): 163 kPa

      • Running without load (4500 rpm): 173 kPa

      • Driving with the accelerator fully open at 2000 rpm: 183 kPa

      • Driving with the accelerator fully open at 3000 rpm: 217 kPa

      • Driving with the accelerator fully open at 4500 rpm: 205 kPa

      MAF
      Data List Judgment of Data List Values Faulty Component Diagnosis Note
      MAF -
      • MAF meter

      • MAF meter circuit

      • Intake system clogging, leaking

      • Exhaust system clogging

      • Turbocharger sub-assembly

      • Leaking or clogging of turbocharger passages

      • EGR valve does not close


      • Based on the MAF, the ECM controls the fuel injection volume, injection timing, EGR, etc.

      • If the value is always approximately 0 gm/sec.:


        • Mass air flow meter power source circuit is open.

        • VG circuit is open or shorted.

      • If the value is always 200 gm/sec. or more:


        • EVG circuit is open.

      Results of real-vehicle check:


      • Ignition switch ON: 0 gm/sec.

      • Cranking (295 rpm): 2.72 gm/sec.

      • Idling (warm up the engine): 5.0 gm/sec. (2 minutes after starting the vehicle and "Actual EGR Valve Pos." = 56%)

      • Idling (warm up the engine): 8.5 gm/sec. (2 minutes after starting the vehicle and "Actual EGR Valve Pos." = 0.3%)

      • Running without load (2500 rpm): 21.2 gm/sec. (at "Actual EGR Valve Pos." = 56%)

      • Running without load (4500 rpm): 69.8 gm/sec.

      • Driving with the accelerator fully open at 2000 rpm: 43.94 gm/sec.

      • Driving with the accelerator fully open at 3000 rpm: 72.47 gm/sec.

      • Driving with the accelerator fully open at 4500 rpm: 87.8 gm/sec.

      Tech Tips


      • The maximum fuel injection volume is controlled according to the output from the mass air flow meter.

      • If the time of engine idling is long (approximately 20 minutes or more), EGR will be cut off. At this time, if the vehicle is driven in 5th gear at 70 km/h for 10 minutes, EGR resumes.

      Intake Air
      Data List Judgment of Data List Values Faulty Component Diagnosis Note
      Intake Air - Intake air temperature sensor.
      • After a long soak, the engine coolant temperature, intake air temperature and ambient air temperature are approximately equal.

      • If the value is -40°C (-40°F) or 140°C (284°F), the sensor circuit is open or shorted.

      Coolant Temp
      Data List Judgment of Data List Values Faulty Component Diagnosis Note
      Coolant Temp
      • Engine coolant temperature is approximately equal to intake air temperature after a long soak. After warm-up: Engine coolant temperature is 75°C (167°F) or more.

      • In cases when the engine coolant temperature output is obviously higher than the actual engine coolant temperature, when it is cold, there will be difficulty starting due to problems with glow plugs or insufficient fuel injection.

      • In cases when the engine coolant temperature sensor output is obviously lower than the actual engine coolant temperature, when it is warm, there will be difficulty starting (black smoke will also occur) due to an excess of injected fuel.

      Engine coolant temperature sensor
      • If the value is -30°C (-22°F) or 120°C (248°F), the sensor circuit is open or shorted.

      • After a long soak, the Coolant Temp, Intake Air and ambient air temperature are approximately equal.

      Battery Voltage
      Data List Judgment of Data List Values Faulty Component Diagnosis Note
      Battery Voltage When cranking, in cases when Battery Voltage becomes less than 5 V, the battery is depleted. Battery If 11 V or less, characteristics of some electrical components change.
      Starter Signal
      Data List Judgment of Data List Values Faulty Component Diagnosis Note
      Starter Signal

      Operation of ignition switch (START)

      ON: Starter is operating

      OFF: Starter is not operating

      Starting system
      • Ignition switch (START) output:


        • ON: Starter is operating

        • OFF: Starter is not operating

      Engine Speed of Cyl #1 (to #4)
      Data List Judgment of Data List Values Faulty Component Diagnosis Note
      Engine Speed of Cyl #1 (to #4)

      When cranking, the engine speed of each cylinder is the same under normal conditions. When a cylinder is approximately 100 rpm higher than the other cylinders, it is conceivable that the compression of that cylinder is being lost.

      Tech Tips

      Usually the tester displays the value of when the engine is started.

      -
      • The engine is cranked for approximately 10 seconds, then the speed of each cylinder is measured (compression test).

      • Indicates the speed of each cylinder when cranking. Example - Normal: Engine speed of all cylinders is approximately equal. When No. 1 cylinder compression is extremely low, "Engine speed of Cyl #1" is approximately 300 rpm, and "Engine speed of Cyl #2 to #4" is approximately 200 rpm.

      Immobiliser Communication
      Data List Judgment of Data List Values Faulty Component Diagnosis Note
      Immobiliser Communication

      Engine Immobiliser System (w/ Entry and Start System) / Data List Click here

      Engine Immobiliser System (w/o Entry and Start System) / Data List Click here

      Engine Immobiliser System (w/ Entry and Start System) / Problem Symptoms Table Click here

      Engine Immobiliser System (w/o Entry and Start System) / Problem Symptoms Table Click here

      When there is a malfunction in the immobiliser system (w/ Entry and Start System), a DTC is stored Click here

      When there is a malfunction in the immobiliser system (w/o Entry and Start System), a DTC is stored Click here

    2. Diesel Injection

      Target Common Rail Pressure
      Data List Judgment of Data List Values Faulty Component Diagnosis Note
      Target Common Rail Pressure - -
      • Inspect the (actual) fuel pressure, comparing it against the common rail target value.

      • Considered normal when the actual fuel pressure is within +/-10000 kPa of the target fuel pressure under stable conditions.

      Results of real-vehicle check:


      • Ignition switch ON: 25000 kPa

      • Cranking: 21470 kPa

      • Idling (warm up the engine): 25000 kPa (2 minutes after starting the vehicle)

      • Running without load (2500 rpm): 35590 kPa

      • Running without load (3500 rpm): 80200 kPa

      • Running without load (4500 rpm): 68200 kPa

      • Driving with the accelerator fully open at 2000 rpm: 114330 kPa

      • Driving with the accelerator fully open at 3000 rpm: 156460 kPa

      • Driving with the accelerator fully open at 4500 rpm: 160000 kPa

      Fuel Press
      Data List Judgment of Data List Values Faulty Component Diagnosis Note
      Fuel Press
      • Idling: 19900 to 37000 kPa 4000 rpm: 50700 to 73000 kPa Fuel Press = Target Common Rail Pressure +/-10000 kPa at stable condition

      • During cranking, if Fuel Press is lower than 25000 kPa, there may be difficulty starting (take care as there is a response lag when the pressure rises).

      • When Fuel Press is lower than 25000 kPa, rough idling will occur.


      • If there is a fault with the fuel supply pump (lack of discharge quantity) or pressure control valve (will not fully close), the fuel pressure will drop. Also, a blocked fuel filter, leakage from fuel pipes, and lack of fuel will also make the fuel pressure drop.

      • If air mixes with the fuel, the fuel pressure will shift away from the target fuel pressure.

      • When there is a fault with the fuel supply pump, there is a possibility of lack of power, engine stall, rough idle and difficulty starting.


      • Fuel pressure is the actual common rail fuel pressure.

      • Inspect by comparing the fuel pressure with the target fuel pressure.

      • When in a stable condition such as when idling, the fuel pressure is within +/-10000 kPa of the target fuel pressure.

      • The ECM uses fuel pressure for feedback control of the target fuel pressure via the supply pump. The injection amount is determined based on the injection timing and fuel pressure.

      Results of real-vehicle check:


      • Ignition switch ON: 140 kPa

      • Cranking: 21920 kPa

      • Idling (warm up the engine): 25430 kPa (2 minutes after starting the vehicle)

      • Running without load (2500 rpm): 35550 kPa

      • Running without load (4500 rpm): 68990 kPa

      • Driving with the accelerator fully open at 2000 rpm: 114950 kPa

      • Driving with the accelerator fully open at 3000 rpm: 154320 kPa

      • Driving with the accelerator fully open at 4500 rpm: 160280 kPa

      Target Pump SCV Current
      Data List Judgment of Data List Values Faulty Component Diagnosis Note
      Target Pump SCV Current 1530 mA or less
      • Suction control valve malfunction

      • Clogged fuel filter


      • ECU-calculated value for the suction control valve actuation target current.


      • Value is large when a high fuel pressure is desired.

      • Value becomes stuck at 1800 mA or more or operation is poor (poor movement due to deposits, etc.).

      • When this deviates from the standard value, it indicates that for some reason, even though the pump is running hard, the actual fuel pressure is inconsistent with the target fuel pressure.

      Results of real-vehicle check:


      • Cranking: 1052 mA

      • Idling: 1167 mA

      • Running without load (2500 rpm): 1300 mA

      • Running without load (4500 rpm): 1188 mA

      • Driving with the accelerator fully open at 2000 rpm: 1102 mA

      • Driving with the accelerator fully open at 3000 rpm: 934 mA

      • Driving with the accelerator fully open at 4500 rpm: 920 mA

      Injection Feedback Val #1 (to #4)
      Data List Judgment of Data List Values Faulty Component Diagnosis Note
      Injection Feedback Val #1 (to #4)
      • When idling after the engine is warmed up, the fuel quantity of each fuel injector is corrected to make each cylinder engine speed equal.

      • Cylinders more than 2 mm3/st may have a fault.

      Tech Tips

      Read the value after one minute of idling after warm up (engine coolant temperature above 75°C (167°F)). This value is only calculated when idling.


      • Injector clogging

      • Injector deterioration

      • Decrease in cylinder compression

      • Injector compensation code is incorrectly set (forgot to input code after replacement or made mistake during setting of code after replacing ECM with one from another vehicle)

      • With fuel injector faults, other than difficulty starting, there is a possibility of rough idling, lack of power, black smoke, white smoke and knocking.


      • When idling after warm up, the injection amount for each cylinder is corrected to optimize the difference between the engine speed of each cylinder. Example: For cylinders that are slowing the engine speed compared to other cylinders, the injection volume is increased.

      • "Injection Feedback Val" more than 2.0 mm3/st: Injector breakdown is causing injection volume deviation, or insufficient compression is causing poor combustion.

      Injection Volume
      Data List Judgment of Data List Values Faulty Component Diagnosis Note
      Injection Volume - - If injectors are clogged, fuel quality is poor, the fuel filter is clogged, or engine friction increases, then "Injection Volume" will increase.

      Results of real-vehicle check:


      • Cranking: 19.58 mm3/st

      • Idling (warm up the engine): 4.19 mm3/st (at "Actual EGR Valve Pos." = 0.3%)

      • Idling (warm up the engine): 4.58 mm3/st (at "Actual EGR Valve Pos." = 56%)

      • Running without load (2500 rpm): 4.68 mm3/st

      • Running without load (4500 rpm): 8.28 mm3/st

      • Driving in 3rd gear 60 km/h (37 mph): 9.39 mm3/st

      • Driving in 3rd gear 60 km/h (37 mph) during PM regeneration: 26.28 mm3/st

      • Driving with the accelerator fully open at 2000 rpm: 36.48 mm3/st

      • Driving with the accelerator fully open at 3000 rpm: 46.97 mm3/st

      • Driving with the accelerator fully open at 4500 rpm: 37.89 mm3/st

    3. Diesel Throttle

      Actual Throttle Position
      Data List Judgment of Data List Values Faulty Component Diagnosis Note
      Actual Throttle Position
      • When the ignition switch is turned to ON (engine stopped), the diesel throttle is fully open. When the ignition switch is turned from ON to off, the diesel throttle is fully closed temporarily.

      • With the diesel throttle stuck almost fully closed, there is a possibility of rough idling, engine stall, black smoke, difficulty starting and lack of power.

      Diesel throttle body

      Closing percentage of the throttle valve.


      • Fully closed: 100%

      • Fully open: 0%

      If there is a malfunction of the throttle actuator, compare the target and actual throttle position values for the troubleshooting.

      Results of real-vehicle check:


      • Ignition switch ON: -1%

      • Cranking: -1%

      • Idling (warm up the engine): -1%

      • Running without load (2500 rpm): 0%

      • Running without load (4500 rpm): 0%

      • Driving in 3rd gear 60 km/h (37 mph): -1%

      • Driving in 3rd gear 60 km/h (37 mph) during PM regeneration: 78%

      • Driving with the accelerator fully open at 2000 rpm: 0%

      • Driving with the accelerator fully open at 4500 rpm: 0%

      • Soon after engine running to ignition switch off: 0% → 99% → 0%

    4. Diesel EGR

      Target EGR Position
      Data List Judgment of Data List Values Faulty Component Diagnosis Note
      Target EGR Position - -
      • Fully open: 100%

      • Fully closed: 0%

      • Used for comparison to "Actual EGR Valve Pos".

      Tech Tips

      If the time of engine idling is long (approximately 20 minutes or more), EGR will be cut off. At this time, if the vehicle is driven in 5th gear at 70 km/h for 10 minutes, EGR resumes.

      Results of real-vehicle check:


      • Ignition switch ON: 0%

      • Cranking: 0%

      • Idling with EGR off (warm up the engine): 0.3%

      • Idling with EGR on (warm up the engine): 56%

      • Running without load (2500 rpm): 57%

      • Running without load (4500 rpm): 0%

      • Driving with the accelerator fully open at 2000 rpm: 0%

      • Driving with the accelerator fully open at 3000 rpm: 0%

      • Driving with the accelerator fully open at 4500 rpm: 0%

      Actual EGR Valve Pos.
      Data List Judgment of Data List Values Faulty Component Diagnosis Note
      Actual EGR Valve Pos.
      • Generally Actual EGR Valve Pos. = Target EGR Position (Fully closed = 0%, Fully open = 100%)

      • The EGR valve Active Test can be used to check whether the Actual EGR Valve Pos. = Target EGR Position

      EGR valve assembly
      • Fully open: 100%

      • Fully closed: 0%

      • Inspect while comparing to "Target EGR Position".

      • Check the valve movement via the Active Test.

      • Sometimes the malfunction only occurs around a certain temperature, so refer to the engine coolant temperature and outside temperature at the time the malfunction occurred.

      Tech Tips

      If the time of engine idling is long (approximately 20 minutes or more), EGR will be cut off. At this time, if the vehicle is driven in 5th gear at 70 km/h for 10 minutes, EGR resumes.

      Results of real-vehicle check:


      • Ignition switch ON: 0%

      • Cranking: 0%

      • Idling with EGR off (warm up the engine): 0%

      • Idling with EGR on (warm up the engine): 56%

      • Running without load (2500 rpm): 56%

      • Running without load (4500 rpm): 0.3%

      • Driving in 3rd gear 60 km/h (37 mph): 57%

      • Driving in 3rd gear 60 km/h (37 mph) during PM regeneration: 0.3%

      • Driving with the accelerator fully open at 2000 rpm: 0.3%

      • Driving with the accelerator fully open at 3000 rpm: 0.3%

      • Driving with the accelerator fully open at 4500 rpm: 0%

  3. Actual Examples of Malfunction

    Tech Tips


    • The purpose of the following examples is to help you understand the relationship between each Data List item when a certain malfunction occurs. Understanding this relationship helps you find the root cause easier.

    • The following are examples of actual malfunctions of a common rail diesel engine.

    • Use them for reference when diagnosing malfunctions.

    • These are not data of IQ 1ND-TV.


    1. Fuel is not being supplied to supply pump (Low pressure fuel line clogged)

      A011ABNE04
    2. Fuel is not being injected (Injectors are leaking)

      A0119THE05
    3. Fuel supply pump malfunction (suction control valve momentarily sticking)

      A011BR6E08
    4. Increased opening delay of injectors (Internal contamination)

      A0119X1E05

WIRING DIAGRAM

Refer to DTC P1228 Click here.

INSPECTION PROCEDURE


  1. Explanation of Symptom

    Starting Trouble

    For good starting it is essential to have:


    • Sufficient cranking speed.

    • Properly operating engine preheating system.

    • Good quality fuel.

    The fuel is ignited by the heat which is generated with compression pressure.

    With problems such as a depleted battery, the crankshaft speed can become low, or if the engine compression is leaking, the compression pressure will not rise and there will be difficulty starting.

    When the engine is cold, even if there is compression heat, it will escape from the combustion chamber. For this reason, when the engine is started when it is cold, the glow plugs heat the compressed air.

    Also, after starting the engine, by charging the glow plugs for a fixed time set according to the engine coolant temperature, diesel knocking and white smoke are prevented. The quantity of fuel injected is determined by the fuel pressure and also the amount of time the fuel injector is open.

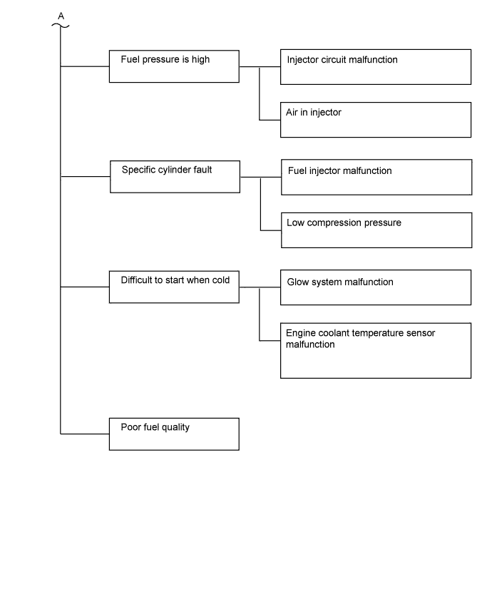
  2. Trouble Area Chart According to Problem Cause

    A0117L4E01
    A011AGVE02

    Note


    • When replacing the ECM and/or fuel injector, the ECM needs Registration and Initialization Click here.

    Tech Tips


    • When the ECM must be replaced, before replacing the ECM, perform the "Learning Values Save" function using the intelligent tester. Then after installing the new ECM, perform all of the initializations/ registrations for the "Learning Values Write" function by following the instructions shown on the tester display.

    • Specified values in the following troubleshooting flowchart are for reference only. Variations in the Data List values may occur depending on the measuring conditions or the vehicle age. Do not assume the vehicle to be normal when the Data List outputs standard values. There may be concealed factors of the malfunction.

PROCEDURE


  1. CHECK ENGINE CRANKING CONDITION


    1. Check the engine cranking condition.

      Result
      Result Proceed to
      Does not crank at all. A

      Low cranking speed.

      Tech Tips

      When cranking speed is low, especially when the temperature is low, check if the engine oil grade matches the recommendation.

      A
      Cranking is OK. B

    B
    A
  2. CHECK BATTERY CONDITION


    1. Check the battery condition Click here.


    NG
    OK
  3. CHECK COMMUNICATION BETWEEN INTELLIGENT TESTER AND ECM


    1. Connect the intelligent tester to the DLC3.

    2. Turn the ignition switch to ON and turn the tester on.

    3. Check if the normal starting screen appears (check whether communication with the ECM is possible).

      Tech Tips

      Use a tester that is able to communicate with other vehicles.

      OK
      Communication is possible (vehicle can be recognized).

    NG
    OK
  4. READ VALUE USING INTELLIGENT TESTER (CLUTCH SWITCH)


    1. Connect the intelligent tester to the DLC3.

    2. Turn the ignition switch to ON and turn the tester on.

    3. Enter the following menus: Powertrain / Engine and ECT / Data List / All Data / Clutch Switch.

    4. Read the value displayed on the tester.

      OK
      Tester Display Condition Specified Condition
      Clutch Switch Clutch pedal depressed ON

    NG
    OK
  5. READ ALL OUTPUT DTCS


    1. Connect the intelligent tester to the DLC3.

    2. Turn the ignition switch to ON and turn the tester on.

    3. Enter the following menus: Utility / All Codes.

      Result
      Result Proceed to
      No DTC is output A
      DTCs related to engine are output B

    B
    A
  6. CHECK DOOR CONTROL TRANSMITTER FUNCTION (W/ ENTRY AND START SYSTEM)


    1. Check if the "Door Control Transmitter" function of each key functions properly.

      Tech Tips


      • Check if the engine starts properly with another key.

      • If the doors cannot be opened/closed by using the "Door Control Transmitter" function of the key, the battery inside the key may be depleted. In such a case, the engine cannot be started by pushing the engine switch.

      • When the door control transmitter battery is depleted, the engine can only be started by holding the door control transmitter against the engine switch.

      • If the inspection result is that the problem only occurs in certain locations or times of day, the possibility of wave interference is high. Also, added vehicle components may cause wave interference. If any optional components are installed, remove them and perform the operation check.

        Near broadcasting stations, large screens, airports, transformer stations, gasoline stations, etc., the door control transmitter may not operate due to electric wave interference.


    NEXT
  7. CHECK STARTER SIGNAL CIRCUIT

    Tech Tips

    Check that "Starter Signal" in the Data List changes to ON when the engine is started.


    1. Inspect the Starter Signal Circuit Click here.


    NEXT
  8. CHECK FUEL RECEIVER GAUGE (AMOUNT OF FUEL)


    1. Check if the fuel level is low.

      Result
      Result Proceed to
      The fuel gauge (segment) does not blink A
      The fuel gauge (segment) blinks B

    B
    A
  9. READ OUTPUT DTC (RELATED TO ENGINE)


    1. Connect the intelligent tester to the DLC3.

    2. Turn the ignition switch to ON and turn the tester on.

    3. Enter the following menus: Powertrain / Engine and ECT / DTC.

    4. Read pending DTCs.

      Result
      Result Proceed to
      No DTC is output A
      DTCs related to engine are output B

    B
    A
  10. TAKE SNAPSHOT DURING STARTING AND IDLING


    1. Connect the intelligent tester to the DLC3.

    2. Turn the ignition switch to ON and turn the tester on.

      Tech Tips

      The shift lever should be in neutral and the A/C switch and all accessory switches should be off.

    3. Enter the following menus: Powertrain / Engine and ECT / Data List / All Data.

    4. Take a snapshot of the following Data List items with the intelligent tester during "ignition switch ON (5 seconds) → Starting → Idling (60 seconds)".

    5. Warm up the engine until the engine coolant temperature reaches 75°C (167°F) or more and after idling the vehicle for 1 minute.

      Tech Tips

      The shift lever should be in neutral and the A/C switch and all accessory switches should be off.

    6. A011944E02

      Take a snapshot of the following Data List items with the intelligent tester during "ignition switch ON (5 seconds) → Starting → Idling (60 seconds)".

      Tech Tips


      • A snapshot can be used to compare vehicle data from the time of the malfunction to normal data and is very useful for troubleshooting. The data in the illustration below is that of a normal vehicle, but as the data varies between individual vehicles, this data should only be used for reference.

      • Detailed graphs can be displayed by transferring the stored snapshot data from the tester to a PC (personal computer) with Intelligent Viewer installed.

      Data List
      Starter Signal
      Engine Speed
      Fuel Press
      Target Common Rail Pressure
      Target Pump SCV Current
      Injection Volume
      Main Injection Period
      Battery Voltage
      Actual EGR Valve Pos.
      Target EGR Position
      Actual Throttle Position
      Target Throttle Position
      MAF
      Target Booster Pressure
      MAP
      A0119PNE01
      A0119UNE01
      A011A1GE01
      Reference Values during Engine Start (Point A)
      Data List Value Unit
      Starter Signal ON -
      Engine Speed 295 rpm
      Fuel Press 21920 kPa
      Target Common Rail Pressure 21470 kPa
      Injection Volume 19.58

      mm3/st

      Main Injection Period 639 μs
      Battery Voltage 10.5 V
      Target EGR Position 0.0 %
      Actual EGR Valve Pos. 0.3 %
      Actual Throttle Position -1 %
      MAF 2.72 gm/sec
      MAP 99 kPa
      Target Boost Pressure 106.36 kPa
      Coolant Temp 64 °C
      Data Condition at Idling (Engine Warmed Up)
      Data List Value Unit
      Engine Speed 773 rpm
      Target Booster Pressure 100.97 kPa
      MAP 99 kPa
      MAF 5.05 gm/sec
      Target Common Rail Pressure 25000 kPa
      Fuel Press 25210 kPa
      Injection Volume 4.58

      mm3/st

      Actual EGR Valve Pos. 55.6 %
      Actual Throttle Position 0 %
      Target EGR Position 56.0 %
      Coolant Temp 88 °C

      Tech Tips

      Actual Examples of Malfunction (See "Diagnostic Help" menu)


      • Starting is not possible


        • Fuel is not supplied to supply pump.

          Fuel Press: Approximately 1000 kPa or less during cranking.

        • Air in injectors.

          Fuel Press: 60000 to 70000 kPa during cranking.


      • Cranking time is long


        • Suction control valve is stuck.

          Target Pump SCV Current intermittently reaches 1530 mA or more. The suction control valve plunger intermittently becomes stuck. If there is difficulty starting when the engine is cold, cool the engine and inspect it.

        • Injector clogging or internal contamination:

          Injection Feedback Val # of one or more of the cylinders is 2 mm3/st or more.

          Injection Feedback Val # can be read when the engine is idling after being warmed up.


    NEXT
  11. CHECK SNAPSHOT (TARGET PUMP SCV CURRENT)


    1. Check Target Pump SCV Current in the snapshot taken when the engine had been idling more than 10 seconds after the engine was started.

      Result
      Result Proceed to
      Target Pump SCV Current is less than 1530 mA A
      Target Pump SCV Current is 1530 mA or more B

      Tech Tips

      If the engine could not be started, proceed to A.


    B
    A
  12. CHECK SNAPSHOT (FUEL PRESS)


    1. Check Fuel Press in the snapshot taken when the engine was starting.

      Result
      Result Proceed to
      Fuel Press is less than 20000 kPa A
      Fuel Press is 20000 kPa or more B

      Tech Tips


      • Fuel pressure is about 20000 to 35000 kPa when the engine is cranking and the engine coolant temperature is 0°C (32°F) or more.

      • Fuel pressure increases rapidly during cranking.


    B
    A
  13. READ VALUE USING INTELLIGENT TESTER (FUEL PRESS)


    1. A011BCRE01
      Text in Illustration
      *1 Hand pump

      Using the hand pump mounted on the fuel filter cap, bleed the air from the fuel system. Continue pumping until the pump resistance increases (A).

      Note


      • Hand pump pumping speed: Maximum of 2 strokes/second.

      • Be sure to push the hand pump with a full stroke during pumping.

      • When the fuel pressure at the supply pump inlet port reaches a saturated pressure, the hand pump resistance increases.

      • If pumping is interrupted during the air bleeding process, fuel in the fuel line may return to the fuel tank. Continue pumping until the hand pump resistance increases.

      • If the hand pump resistance does not increase despite consecutively pumping 200 times or more, there may be a fuel leak between the fuel tank and fuel filter, the hand pump may be malfunctioning, or the vehicle may have run out of fuel.

      • If air bleeding using the hand pump is incomplete, the common rail pressure does not rise to the pressure range necessary for normal use, and the engine cannot be started.

    2. Start the engine.

      Note


      • Just after starting the engine, visually check for fuel leaks from the supply pump, fuel injector, common rail, and the fuel pipes in high-pressure areas.

      • Even if air bleeding using the hand pump has been completed, the starter may need to be cranked for 10 seconds or more to start the engine.

      • Do not crank the engine continuously for more than 20 seconds. The battery may be discharged.

      • Use a fully-charged battery.


      1. When the engine can be started, proceed to step B.

      2. If the engine cannot be started, bleed the air again using the hand pump until the hand pump resistance increases (refer to step A). Then start the engine.

    3. Turn the ignition switch off (B).

    4. Connect the intelligent tester to the DLC3.

    5. Turn the ignition switch to ON and turn the tester on.

    6. Clear DTCs Click here.

    7. Start the engine (C).

    8. Enter the following menus: Powertrain / Engine and ECT / Active Test / Test the Fuel Leak (D).

    9. Maintain the engine speed of 3500 rpm, and then press the "Start" button (E).

    10. Perform the following test 5 times with on/off intervals of 10 seconds: Active Test / Test the Fuel Leak (F).

    11. Allow the engine to idle for 3 minutes or more after performing the Active Test for the fifth time (G).

      Tech Tips

      When the Active Test "Test the Fuel Leak" is used to change the pump control mode, the actual fuel pressure inside the common rail drops below the target fuel pressure when the Active Test is off, but this is normal and does not indicate a pump malfunction.

      A0119U9E01
    12. Enter the following menus: Powertrain / Engine and ECT / DTC.

    13. Read Current DTCs.


      1. When no DTCs are output, the air bleeding is completed. Proceed to step I.

      2. If any DTCs are output, proceed to step H.

    14. Clear DTCs Click here (H).

    15. Repeat steps C to G.

    16. Enter the following menus: Powertrain / Engine and ECT / Data List / Fuel Press (I).

    17. Start the engine.

    18. Read the Fuel Press value while cranking and idling the engine.

      Result
      Result Proceed to
      The engine can be started and Fuel Press is 20000 kPa or more. A
      The engine cannot be started or the engine can be started but the Fuel Press is less than 20000 kPa during cranking. B

    B
    A
  14. CHECK INJECTOR COMPENSATION CODE


    1. Read the injector compensation code Click here.

      OK
      Compensation codes stored in the ECM match compensation codes of the installed fuel injectors.

    NG
    OK
  15. CHECK DATA LIST (INJECTION VOLUME AND INJECTOR FEEDBACK VAL #1 TO #4)


    1. A011944E02

      Check Injection Feedback Val # and Injection Volume in the snapshot taken when the engine was idling.

      Result
      Result Proceed to

      Injection Feedback Val #1 to #4 is outside the range of +/-2 mm3/st

      Tech Tips

      There may be a malfunction in the corresponding cylinder.

      A*1

      Injection Feedback Val #1 to #4 is within the range of +/-2 mm3/st and Injection Volume is more than 8 mm3/st

      B*2

      Injection Feedback Val #1 to #4 is within the range of +/-2 mm3/st and Injection Volume is 8 mm3/st or less

      C

      Tech Tips


      • *1: If there is an open or short in a glow plug, case A occurs only with a cold engine.

      • *2: When case "B" occurs, usually symptoms may be noticeable, such as difficult starting, rough idling, knocking or black smoke at high common rail pressure.

      • If the value of Injection Volume is more than 8 mm3/st and the value of all of the Injector Feedback Val. #1 to #4 is within the threshold, replace the fuel injectors for all cylinders.

        In this case, there is a possibility that too much recirculated exhaust gas enters into the engine. Therefore, you should compare the Target EGR Position with the Actual EGR Valve Pos. by entering the following menus using the intelligent tester:

        Powertrain / Engine and ECT / Data List / Target EGR Position and Actual EGR Valve Pos.

        If the difference between Target EGR Position and Actual EGR Valve Pos. exceeds +/-10%, the EGR system may have a malfunction.


    B
    C
    A
  16. PERFORM ACTIVE TEST USING INTELLIGENT TESTER (FUEL CUT FOR IDENTIFYING MALFUNCTIONING CYLINDER)

    Tech Tips

    Use this Active Test to determine the malfunctioning cylinder.


    1. Connect the intelligent tester to the DLC3.

    2. Start the engine and turn the tester on.

    3. Enter the following menus: Powertrain / Engine and ECT / Active Test / Control the Cylinder #1 to #4 Fuel Cut.

    4. Check the 4 cylinders in sequence to identify a faulty cylinder by performing the Active Test / Control the Cylinder #1 to #4 Fuel Cut inspection.

      Tech Tips


      • DTCs may be output after this Active Test. Make sure to check for DTCs after this Active Test. If any DTCs are output, make sure to clear them Click here.

      • If the engine idle speed does not change when a fuel injector is disabled, the cylinder being tested is malfunctioning.

      • If the cylinder being tested is normal, there will be a significant change in idle speed when the fuel injection is stopped for that cylinder.


    NEXT
  17. READ VALUE USING INTELLIGENT TESTER (ENGINE SPEED OF CYL #1 TO #4)

    Tech Tips

    The speed of each cylinder can be measured (compression test) by using the intelligent tester.

    In the compression test, disconnect the injector connectors of all cylinders and crank the engine for approximately 10 seconds. At this time, the speed of each cylinder is measured. If the speed of one cylinder is higher than the other cylinders, the compression pressure of that cylinder is determined to be lower than the other cylinders.


    1. Warm up the engine.

    2. Turn the ignition switch off and disconnect the injector connector of all cylinders.

    3. Connect the intelligent tester to the DLC3.

    4. Turn the ignition switch to ON and turn the tester on.

    5. Enter the following menus: Powertrain / Engine and ECT / Data List / Engine Speed of Cyl #1, Engine Speed of Cyl #2, Engine Speed of Cyl #3, Engine Speed of Cyl #4 and Av Engine Speed of All Cyl.

    6. Crank the engine for about 10 seconds.

      Note


      • Do not crank the engine for more than 20 seconds.

      • Use a fully-charged battery.

    7. Read the engine speed (Engine Speed of Cyl #1 to #4, Av Engine Speed of All Cyl) displayed on the tester when the ignition switch is ON.

      Tech Tips

      Do not turn the ignition switch off when finished cranking.

      Result
      Result Proceed to
      Except below A
      The values of Engine Speed Cyl #1 to #4 are within +/-10 rpm of each other. B

      Tech Tips

      When cranking, if the speed of a cylinder is approximately 100 rpm more than the other cylinders, there is probably a complete loss of compression in that cylinder.

    8. Reconnect the injector connector of all cylinders.

    9. Clear the DTCs.


    B
    A
  18. CHECK CYLINDER COMPRESSION PRESSURE OF MALFUNCTIONING CYLINDER


    1. Check the cylinder compression pressure Click here.

      OK
      The cylinder compression pressure is within the standard range.

    NG
    OK
  19. REPLACE INJECTOR ASSEMBLY OF MALFUNCTIONING CYLINDER

    Tech Tips

    The injector is determined to be faulty as the corresponding cylinder is malfunctioning but has no compression loss.


    1. Replace the injector assembly Click here.


    NEXT
  20. CHECK TEMPERATURE WHEN STARTING TROUBLE OCCURS


    1. Check the temperature when starting trouble occurs.

      Result
      Result Proceed to
      Difficult to start only for cold engine. A
      Difficult to start both for cold and warmed up engine. B

    B
    A
  21. INSPECT ENGINE COOLANT TEMPERATURE SENSOR


    1. Inspect the engine coolant temperature sensor Click here.


    NG
    OK
  22. CHECK PRE-HEATING CONTROL CIRCUIT


    1. Check the pre-heating control circuit Click here.


    NG
    OK
  23. CHECK FUEL QUALITY


    1. Check that fuel with a low cetane number is used.


    NEXT
  24. CHECK ENGINE STARTING CONDITION


    1. Check whether the engine can be started.

      Tech Tips

      If there are deposits in the injectors and they are left for a long time, the injectors for all the cylinders may become stuck.

      Result
      Result Proceed to
      The engine can be started. A
      There is no initial combustion even when the engine can be cranked. B

    B
    A
  25. CONFIRM WHETHER MALFUNCTION HAS BEEN SUCCESSFULLY REPAIRED


    NEXT
  26. CHECK HARNESS AND CONNECTOR (SUCTION CONTROL VALVE - ECM)


    1. Disconnect the suction control valve connector.

    2. Disconnect the ECM connector.

    3. Measure the resistance according to the value(s) in the table below.

      Standard Resistance (Check for Open)
      Tester Connection Condition Specified Condition
      B42-2 - B9-12 (PCV) Always Below 1 Ω
      Standard Resistance (Check for Short)
      Tester Connection Condition Specified Condition
      B42-2 or B9-12 (PCV) - Body ground Always 10 kΩ or higher
    4. Reconnect the suction control valve connector.

    5. Reconnect the ECM connector.


    NG
    OK
  27. CHECK IF FUEL IS BEING SUPPLIED TO FUEL SUPPLY PUMP


    1. Disconnect the inlet hose from the fuel supply pump.

    2. Operate the priming pump and check that fuel is being supplied to the fuel supply pump.

      OK
      Fuel is properly supplied to the fuel supply pump when the priming pump is operated.

      Tech Tips


      • When there is a lack of fuel, fuel pressure drops.

      • Inspect for fuel filter clogging.

        (Check that the fuel filter is not clogged)


    NG
    OK
  28. REPLACE FUEL SUPPLY PUMP


    1. Replace the fuel supply pump Click here.


    NEXT
  29. BLEED AIR FROM FUEL SYSTEM


    1. Bleed the air from the fuel system Click here.


    NEXT
  30. READ VALUE USING INTELLIGENT TESTER (FUEL PRESS)


    1. Connect the intelligent tester to the DLC3.

    2. Turn the ignition switch to ON and turn the tester on.

    3. Enter the following menus: Powertrain / Engine and ECT / Data List / Fuel Press.

    4. Start the engine.

    5. Read the Fuel Press value while cranking and idling the engine.

      Result
      Result Proceed to
      The engine can be started and Fuel Press is 20000 kPa or more. A
      The engine cannot be started or the engine can be started but the Fuel Press is less than 20000 kPa during cranking. B

    B
    A
  31. INSPECT INJECTOR ASSEMBLY (INSPECTION FOR NOZZLE NEEDLE CLOSING PROBLEM)


    1. Remove the glow plug assembly for all the cylinders Click here.

    2. Visually check if there is fuel on the glow plugs.

      Tech Tips


      • If there is fuel on a glow plug, fuel may be leaking from a fuel injector.

      • After replacing a fuel injector, make sure that the common rail pressure (fuel pressure) is within +/-10000 kPa of the target fuel pressure while cranking the engine.

      • If there is fuel on a glow plug, fuel may have mixed with the engine oil. Check the engine oil amount and whether the engine oil smells of diesel fuel. If the oil level is above the full line or the engine oil smells of diesel fuel, replace the engine oil.

      Result
      Result Proceed to
      No fuel on glow plugs A
      Fuel on glow plugs B
    3. Install the glow plug assembly Click here.


    B
    A
  32. REPLACE COMMON RAIL ASSEMBLY


    1. Replace the common rail assembly Click here.


    NEXT
  33. BLEED AIR FROM FUEL SYSTEM


    1. Bleed the air from the fuel system Click here.


    NEXT
  34. CONFIRM WHETHER MALFUNCTION HAS BEEN SUCCESSFULLY REPAIRED


    NEXT
  35. REPLACE INJECTOR ASSEMBLY OF MALFUNCTIONING CYLINDER


    1. Replace the injector assembly Click here.


    NEXT
  36. REPLACE INJECTOR ASSEMBLY OF ALL CYLINDERS


    1. Replace the injector assemblies Click here.


    NEXT
  37. PERFORM REGISTRATION AND INITIALIZATION


    1. Register the injector compensation code Click here.

    2. Perform Pilot Quantity Learning Values Reset Click here.


    NEXT
  38. BLEED AIR FROM FUEL SYSTEM


    1. Bleed the air from the fuel system Click here.


    NEXT
  39. CONFIRM WHETHER MALFUNCTION HAS BEEN SUCCESSFULLY REPAIRED


    NEXT
  40. CHECK AND REPLACE CLOGGED FUEL PIPE (INCLUDING FUEL FREEZING) (FUEL TANK - FUEL SUPPLY PUMP)


    1. Check and replace the clogged fuel pipe.


    NEXT
  41. ADD FUEL


    1. Add fuel.


    NEXT
  42. BLEED AIR FROM FUEL SYSTEM


    1. Bleed the air from the fuel system Click here.


    NEXT
  43. CONFIRM WHETHER MALFUNCTION HAS BEEN SUCCESSFULLY REPAIRED


    NEXT
  44. CHECK VC OUTPUT CIRCUIT


    1. Check the VC output circuit Click here.


    NEXT
  45. CHECK COMMUNICATION BETWEEN INTELLIGENT TESTER AND ECM


    1. Connect the intelligent tester to the DLC3.

    2. Turn the ignition switch to ON and turn the tester on.

    3. Check if the normal starting screen appears (check whether communication with the ECM is possible).

      Tech Tips

      Use a tester that is able to communicate with other vehicles.

      OK
      Communication is possible (vehicle can be recognized).

    NG
    OK
  46. CHECK ECM POWER SOURCE CIRCUIT


    1. Check the ECM power source circuit Click here.


    NEXT
  47. CHECK COMMUNICATION BETWEEN INTELLIGENT TESTER AND ECM


    1. Connect the intelligent tester to the DLC3.

    2. Turn the ignition switch to ON and turn the tester on.

    3. Check if the normal starting screen appears (check whether communication with the ECM is possible).

      Tech Tips

      Use a tester that is able to communicate with other vehicles.

      OK
      Communication is possible (vehicle can be recognized).

    NG
    OK
  48. PERFORM REGISTRATION AND INITIALIZATION


    1. Register the injector compensation code Click here.

    2. Perform Pilot Quantity Learning Values Reset Click here.


    NEXT
  49. CONFIRM WHETHER MALFUNCTION HAS BEEN SUCCESSFULLY REPAIRED


    NEXT