CAMSHAFT OIL CONTROL VALVE INSPECTION


  1. INSPECT CAMSHAFT TIMING OIL CONTROL VALVE ASSEMBLY


    1. A0118K5E01
      Text in Illustration
      *1

      Component without harness connected

      (Camshaft Timing Oil Control Valve)

      Check the resistance.


      1. Measure the resistance according to the value(s) in the table below.

        Standard Resistance
        Tester Connection Condition Specified Condition
        1 - 2 20°C (68°F) 6.9 to 7.9 Ω

        If the result is not as specified, replace the camshaft timing oil control valve assembly.

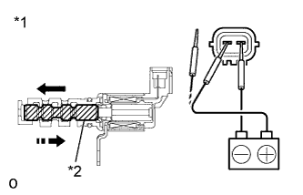
    2. A011ATZE01
      Text in Illustration
      *1

      Component without harness connected

      (Camshaft Timing Oil Control Valve)

      *2 Spool valve

      Operation check.


      1. Apply battery voltage between the terminals and check the movement of the spool valve.

        Note

        Check that the spool valve moves freely without sticking.

        Tech Tips

        If the spool valve does not return smoothly due to foreign matter, a small pressure leak may occur in the advanced direction and a DTC may be stored.