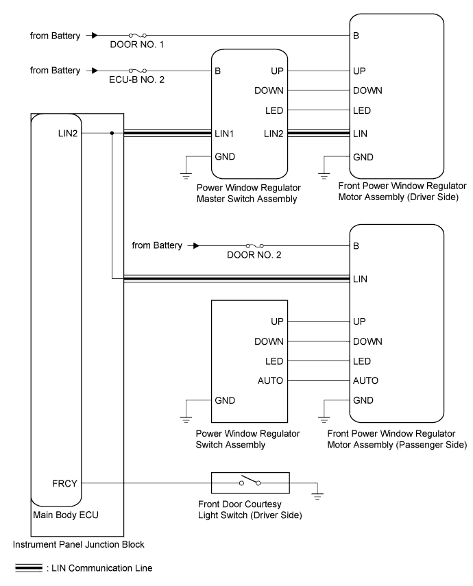
POWER WINDOW CONTROL SYSTEM SYSTEM DIAGRAM

A011BRBE01
Communication Table
Sender Receiver Signal Line
Power window regulator master switch assembly Front power window regulator motor assembly (driver side) Power window AUTO UP/DOWN signal LIN
Power window regulator master switch assembly Front power window regulator motor assembly (passenger side) Power window remote UP/DOWN signal LIN
Main Body ECU
  • Power window regulator master switch assembly

  • Front power window regulator motor assembly (passenger side)

Power window operation permission signal LIN