LUMBAR SUPPORT ADJUSTER ASSEMBLY (for Manual Seat) INSPECTION


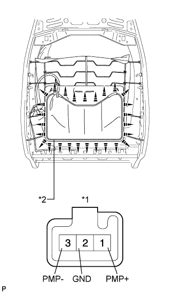
  1. INSPECT SEPARATE TYPE FRONT SEATBACK ASSEMBLY (for LHD)


    1. Check the operation of the lumbar support adjuster.


      1. A003BFXE01
        Text in Illustration
        *1

        Component without harness connected

        (Lumbar Support Adjuster)

        *2 Lumbar Support Adjuster Mat

        Apply battery voltage to the lumbar support adjuster.

      2. Check that the lumbar support adjuster moves smoothly.

        OK
        Measurement Condition Specified Condition

        Battery positive (+) → 1 (PMP+)

        Battery negative (-) → 2 (GND)

        Pump motor operates and lumbar support adjuster mat inflates

        Battery positive (+) → 3 (PMP-)

        Battery negative (-) → 2 (GND)

        Valve opens and lumbar support adjuster mat deflates*

        *: Perform this inspection with the lumbar support adjuster mat inflated.

        If the result is not as specified, replace the separate type front seatback assembly.

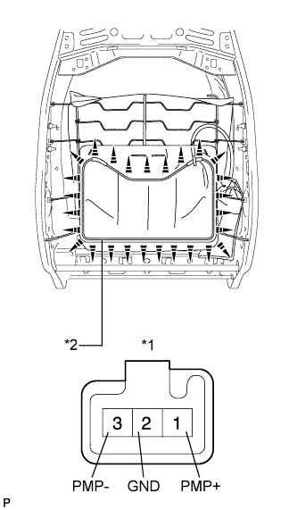
  2. INSPECT SEPARATE TYPE FRONT SEATBACK ASSEMBLY (for RHD)


    1. Check the operation of the lumbar support adjuster.


      1. A003B2GE01
        Text in Illustration
        *1

        Component without harness connected

        (Lumbar Support Adjuster)

        *2 Lumbar Support Adjuster Mat

        Apply battery voltage to the lumbar support adjuster.

      2. Check that the lumbar support adjuster moves smoothly.

        OK
        Measurement Condition Specified Condition

        Battery positive (+) → 1 (PMP+)

        Battery negative (-) → 2 (GND)

        Pump motor operates and lumbar support adjuster mat inflates

        Battery positive (+) → 3 (PMP-)

        Battery negative (-) → 2 (GND)

        Valve opens and lumbar support adjuster mat deflates*

        *: Perform this inspection with the lumbar support adjuster mat inflated.

        If the result is not as specified, replace the separate type front seatback assembly.