METER / GAUGE SYSTEM SYSTEM DESCRIPTION


  1. METER GAUGE AND WARNING/INDICATOR

    A00OVJKE01
    Text in Illustration
    *1 ODO/TRIP Switch *4 Speedometer
    *2 Tachometer *5 Rheostat Switch
    *3 Multi-information Display *6
    • Fuel Receiver Gauge

    • Engine Coolant Temperature Receiver Gauge

    • Clock Display

    • Automatic Transaxle Display (for Automatic Transaxle)

    Meter/Gauge
    Item Details
    Speedometer Based on a signal received from the wheel speed sensor, the skid control ECU calculates the vehicle speed and transmits data to the combination meter (CAN).
    Tachometer The combination meter receives an engine speed signal from the ECM and the gauge needle operates (CAN).
    ODO/TRIP meter
    • The combination meter receives a vehicle speed pulse integration signal from the skid control ECU and the ODO/TRIP meter display operates (CAN).

    • The ODO/TRIP meter display changes when the ODO/TRIP switch is operated.

    Fuel receiver gauge The combination meter receives fuel amount information measured by the fuel sender gauge and the gauge needle operates (Direct line).
    Engine coolant temperature receiver gauge The combination meter receives an engine coolant temperature signal from the ECM and the gauge needle operates (CAN).
    Warning/Indicator
    Item Details

    BEAM indicator light

    A00OSQN
    Receives BEAM indicator light signals from the main body ECU (CAN).

    FRONT FOG indicator light*1

    A00OVHI
    The indicator turns on when a FRONT FOG illumination command signal is received (CAN).

    REAR FOG indicator light*2

    A00OUQJ
    The indicator turns on when a REAR FOG illumination command signal is received (CAN).

    SRS warning light

    A00OSIU
    Receives malfunction signals from the center airbag sensor (CAN).

    Front seat belt warning light

    A00OVRZ

    • Receives driver seat belt signals (unfastened) from the main body ECU (CAN).

    • Receives passenger seat belt signals (unfastened) from the front seat inner belt RH*9, LH*10 (Direct line).

    • Receives passenger seat signals from the occupant detection sensor (Direct line).

    Brake system warning light (Yellow indicator)

    A00OS7V
    Comes on when the electric parking brake system is malfunctioning (Direct line).

    Brake system warning light (Red indicator)

    A00OS7V

    • Comes on when the brake fluid level warning switch is on (CAN).

    • Comes on when the brake system is malfunctioning (CAN).

    CHARGE warning light

    A00OU7Y
    Receives malfunction signals from the generator (Direct line) or ECM (CAN).

    ABS warning light

    A00OTDC
    Receives malfunction signals from the skid control ECU (CAN).

    MIL

    A00OS4L
    Receives malfunction signals from the ECM (Direct line).

    AFS OFF indicator light*3

    A00OSX6
    Receives AFS OFF indicator signals from the headlight swivel ECU (CAN).

    FUEL warning light

    A00ORN7
    Receives fuel amount signals from the fuel sender gauge (Direct line) and the amount of fuel is calculated.

    SLIP indicator light

    A00OR3T
    Receives malfunction and activation signals from the skid control ECU (CAN).

    TAIL indicator light

    A00OQTK
    The indicator turns on when a taillight illumination signal is received (CAN).

    Turn signal indicator light (LH/RH)

    A00OVNS
    Receives a turn signal from the FLASHER relay (Direct line).

    EPS warning light

    A00OT21
    Receives power steering warning signals from power steering ECU (CAN)

    Master warning light

    A00OQTR
    Receives warning signals from sensors and ECUs (Direct line and CAN).

    PARK warning light

    A00OTVR
    Comes on when the parking brake switch is on (Direct line).

    Glow indicator

    A00ORXJ
    Receives a glow signal from the ECM (CAN).

    Cruise indicator*4

    A00ORD8
    Receives a cruise control switch signal from the ECM (CAN).

    Speed limiter indicator*4

    A00OST4
    Receives an adjustable speed limiter switch signal from the ECM (CAN).

    Cruise set indicator*4

    A00OQX6
    Receives a cruise control switch signal from the ECM (CAN).

    SIL indicator (UP/DOWN)*5

    A00OVFW
    Receives a shift signal from the ECM (CAN).

    Eco Driving Indicator Light*6

    A00OVOY
    Receives an Ecology Lamp indicator signal from the ECM (CAN (CAN No. 1 Bus)) and illuminates when the vehicle is being driven ecologically.

    PCS warning light*7

    A00OSH4
    Receives PCS warning light signals from the seat belt control ECU (CAN).

    LKA indicator light*8

    A00OTA2
    Receives radar cruise indicator signals from the driving support ECU (CAN).

    Radar cruise indicator light*8

    A00OV6V
    Receives radar cruise indicator signals from the driving support ECU (CAN).

    Auto parking brake off indicator light*5

    A00OS97
    Receives an auto parking brake off signal from the parking brake with bracket actuator (CAN).
    A/T P shift position indicator*6 Receives a P signal from the ECM (CAN).
    A/T R shift position indicator*6 Receives an R signal from the ECM (CAN).
    A/T N shift position indicator*6 Receives an N signal from the ECM (CAN).
    A/T D shift position indicator*6 Receives a D signal from the ECM (CAN).
    A/T S (1 to 6) shift position indicator*6 Receives a signal (1 to 6) from the ECM (CAN).

    *1: w/ Front Fog Light

    *2: w/ Rear Fog Light

    *3: w/ Adaptive Front-lighting System

    *4: w/ Cruise Control System

    *5: for Manual Transaxle

    *6: for Automatic Transaxle

    *7: w/ Pre-crash Safety System

    *8: w/ Dynamic Radar Cruise Control System

    *9: for LHD

    *10: for RHD

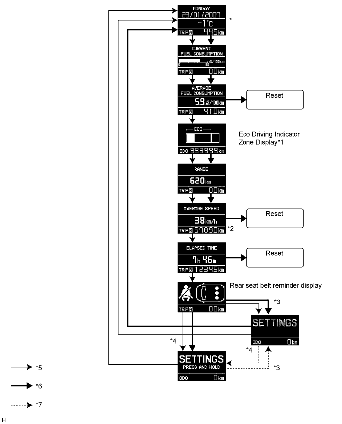
  2. MULTI-INFORMATION DISPLAY


    1. Operation using the ODO/TRIP switch or the display switch of the steering pad switch.

      A00OTDYE02

      Tech Tips

      After the ignition switch is turned from ON to off, the last screen is recorded and can be viewed again by the user the next time the ignition switch is turned to ON. If the battery cable is disconnected and then reconnected, the screen labeled * is displayed when the ignition switch is turned to ON (initial setting).

      *1: Not displayed for vehicles not equipped with eco driving bar display.

      *2: Average vehicle speed calculated from time engine started.

      *3: Vehicle being driven.

      *4: Vehicle stopped.

      *5: Knob or switch pushed for less than 0.8 seconds.

      *6: Knob or switch pushed for 0.8 seconds. or more.

      *7: Display changes automatically based on vehicle condition (being driven or stopped).

    2. Changing the displayed language.

      A00OSPAE01

      *: Current condition

      The screen changes to the current selected item in inverted color character.

      Tech Tips

      English, French, German, Italian, Spanish or Russian can be displayed.