СИСТЕМА ПЕРЕДАЧИ ДАННЫХ CAN, Diagnostic DTC:U0100

Код DTC Наименование DTC
U0100 Прекращение обмена данными с ECM/PCM "A"

ОПИСАНИЕ

Код DTC Условие обнаружения DTC Неисправный участок
U0100 Отсутствие обмена данными с ECM.
  • Цепь питания ECM

  • ECM

  • Главная шина или разъем ЕСМ

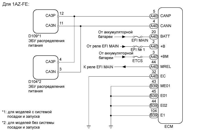
СХЕМА СОЕДИНЕНИЙ

A00DQBAE03
A00DS89E02

ПОСЛЕДОВАТЕЛЬНОСТЬ ПРОВЕРКИ

Note

Перед выполнением следующей процедуры проверки проверьте предохранители цепей, относящихся к данной системе.

Tech Tips

Управление замком зажигания, любыми выключателями или связанными с дверными защелками ЭБУ и датчиками, обмен данными с которыми осуществляется посредством сети CAN, приводит к колебанию сопротивления.

ПОРЯДОК ВЫПОЛНЕНИЯ

  1. ОТСОЕДИНИТЕ ПРОВОД ОТ ОТРИЦАТЕЛЬНОГО ВЫВОДА АККУМУЛЯТОРНОЙ БАТАРЕИ

    1. Отсоедините провод от отрицательного (-) вывода аккумуляторной батареи перед измерением сопротивления главной и вспомогательной шин.

      CAUTION:

      После отсоединения провода от отрицательного (-) вывода аккумуляторной батареи подождите не менее 90 с, чтобы предотвратить срабатывание системы SRS.

      Note

      • Для моделей с системой навигации (с жестким диском):

        После выключения зажигания системе навигации с жестким диском требуется приблизительно минута, чтобы сохранить различные данные и настройки. Поэтому после выключения зажигания подождите не менее 1 мин перед тем, как отсоединять провод от отрицательного (-) вывода аккумуляторной батареи.

      • После подсоединения провода необходимо инициализировать некоторые системы (см. стр. Click here).

    ДАЛЕЕ
  2. ПРОВЕРЬТЕ ГЛАВНУЮ ШИНУ CAN НА ОБРЫВ (ГЛАВНАЯ ШИНА ECM)

    A00DSWFE02
    1. Отсоедините разъем A40 ECM.

    2. Измерьте сопротивление в соответствии со значениями, приведенными в таблице ниже.

      Номинальное сопротивление
      Для моделей с 1AZ-FE
      Контакты для подключения диагностического прибора Положение переключателя Заданные условия
      A40-5 (CANP) - A40-4 (CANN) Зажигание выключено 108 - 132 Ом
      Кроме моделей с 1AZ-FE
      Контакты для подключения диагностического прибора Положение переключателя Заданные условия
      A40-6 (CANP) - A40-7 (CANN) Зажигание выключено 108 - 132 Ом
      Обозначения на рисунке
      *1

      Вид спереди разъема со стороны жгута проводов:

      (к ECM)

      *2 Для моделей с 1AZ-FE
      *3 Кроме моделей с 1AZ-FE
    NG
    OK
  3. ПРОВЕРЬТЕ ЖГУТ ПРОВОДОВ И РАЗЪЕМ (ЕСМ - АККУМУЛЯТОРНАЯ БАТАРЕЯ И МАССА)

    1. Подсоедините провод к отрицательному (-) выводу аккумуляторной батареи.

      Note

      После подсоединения провода необходимо инициализировать некоторые системы (см. стр. Click here).

    2. Отсоедините разъемы A40 и B39 ECM.

      A00DRGJE02
      Обозначения на рисунке
      *1

      Вид спереди разъема со стороны жгута проводов:

      (к ECM)

      *3 Кроме моделей с 1AZ-FE
      *2 Для моделей с 1AZ-FE - -
    3. Измерьте сопротивление в соответствии со значениями, приведенными в таблице ниже.

      Номинальное сопротивление
      Для моделей с 1AZ-FE
      Контакты для подключения диагностического прибора Условие Заданные условия
      A40-32 (EC) - масса Всегда Менее 1 Ом
      B39-43 (ME01) - масса Всегда Менее 1 Ом
      B39-44 (E02) - масса Всегда Менее 1 Ом
      B39-45 (E01) - масса Всегда Менее 1 Ом
      B39-104 (Е1) - масса Всегда Менее 1 Ом
      Кроме моделей с 1AZ-FE
      Контакты для подключения диагностического прибора Условие Заданные условия
      A40-32 (EC) - масса Всегда Менее 1 Ом
      B39-41 (E04) - масса Всегда Менее 1 Ом
      B39-44 (ME01) - масса Всегда Менее 1 Ом
      B39-45 (E02) - масса Всегда Менее 1 Ом
      B39-46 (E01) - масса Всегда Менее 1 Ом
      B39-81 (E03) - масса Всегда Менее 1 Ом
      B39-105 (Е1) - масса Всегда Менее 1 Ом
    4. Измерьте напряжение в соответствии со значениями, приведенными в таблице.

      Номинальное напряжение
      Для моделей с 1AZ-FE
      Контакты для подключения диагностического прибора Положение переключателя Заданные условия
      A40-3 (+BM) - масса Всегда 11 - 14 В
      A40-20 (BATT) - масса Всегда 11 - 14 В
      A40-2 (+B) - масса При подаче положительного (+) напряжения аккумуляторной батареи на контакт A40-44 (MREL) 11 - 14 В
      Кроме моделей с 1AZ-FE
      Контакты для подключения диагностического прибора Положение переключателя Заданные условия
      A40-3 (+BM) - масса Всегда 11 - 14 В
      A40-20 (BATT) - масса Всегда 11 - 14 В
      A40-1 (+B2) - масса При подаче положительного (+) напряжения аккумуляторной батареи на контакт A40-44 (MREL) 11 - 14 В
      A40-2 (+B) - масса 11 - 14 В

      Tech Tips

      *: Порядок замены ECM:

      • Для моделей с 1ZR-FAE: См. стр. Click here

      • Для моделей с 2ZR-FAE: См. стр. Click here

      • Для моделей с 3ZR-FAE: См. стр. Click here

      • Для моделей с 3ZR-FE: См. стр. Click here

      • Для моделей с 1AZ-FE: См. стр. Click here

    NG
    OK