WINDOW DEFOGGER WIRE ON-VEHICLE INSPECTION

PROCEDURE


  1. CHECK REAR WINDOW DEFOGGER OPERATION


    1. When the engine switch is on (IG) and the rear window defogger switch is pressed, check that the window defogger system operates.

  2. INSPECT BACK WINDOW GLASS (REAR WINDOW DEFOGGER WIRE)

    Note


    • When cleaning the glass, wipe the glass along the wire using a soft dry cloth. Take care not to damage the wire.

    • Do not use detergents or glass cleaners that have abrasive ingredients.

    • When measuring voltage, wrap a piece of tin foil around the tip of the negative tester probe and press the foil against the wire with your finger as shown in the illustration.


    1. A01F9A2C08
      *1 Rear Window Defogger Wire
      *a Tester Probe
      *b Tin Foil

      Turn the engine switch on (IG).

    2. Turn the rear window defogger switch on.

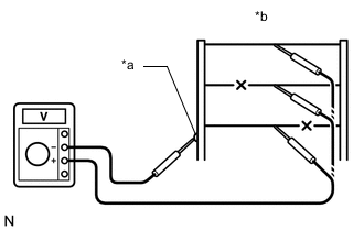
    3. A01F88LC06
      *a Foil Strip
      *b At Center

      Measure the voltage at the center of each rear window defogger wire to check the wire as shown in the illustration.

      Result
      Voltage Criteria
      4 to 6 V Wire is not broken
      11 to 14 V Wire is broken between the center and ground side end
      Below 1 V Wire is broken between the center and battery side end

      Tech Tips

      If the voltage is 11 to 14 V, the wire may be broken between the center of the wire and the wire end on the ground side. If the voltage is below 1 V, the wire may be broken between the center of the wire and the wire end on the battery side.

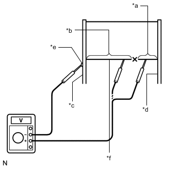
    4. A01FAZKC08
      *a 11 to 14 V
      *b Below 1 V
      *c Ground Side
      *d Battery Side
      *e Foil Strip
      *f Broken Wire

      Place the positive (+) lead of the voltmeter against the rear window defogger wire on the battery side.

    5. Place the negative (-) lead of the voltmeter with the foil strip against the wire on the ground side.

    6. Slide the positive (+) lead from the battery side to the ground side. The point where the voltage drops to below 1 V from 11 to 14 V is the place where the rear window defogger wire is broken.

      Tech Tips

      If the rear window defogger wire is not broken, the voltmeter should indicate 11 to 14 V at the battery side. As the positive (+) lead is moved to the ground side, the voltage gradually decreases to below 1 V.