CAN COMMUNICATION SYSTEM Combination Meter ECU Communication Stop Mode

DESCRIPTION

Detection Item Symptom Trouble Area
Combination Meter ECU Communication Stop Mode

Either condition is met:


  • Communication stop for "Combination Meter" is indicated on the "Communication Bus Check" screen of the GTS.

    Click here

  • Communication system DTCs (DTCs that start with U) that correspond to "Combination Meter ECU Communication Stop Mode" in "DTC Combination Table" are output.

    Click here


  • Combination meter assembly main line or connector

  • Power source circuit of combination meter assembly

  • Combination meter assembly ground circuit

  • Combination meter assembly

WIRING DIAGRAM

B007750E05

CAUTION / NOTICE / HINT

CAUTION:

When performing the confirmation driving pattern, obey all speed limits and traffic laws.

Note


  • Because the order of diagnosis is important to allow correct diagnosis, make sure to begin troubleshooting using How to Proceed with Troubleshooting when CAN communication system related DTCs are output.

    Click here

  • Before measuring the resistance of the CAN bus, turn the engine switch off and leave the vehicle for 1 minute or more without operating the key or any switches, or opening or closing the doors. After that, disconnect the cable from the negative (-) battery terminal and leave the vehicle for 1 minute or more before measuring the resistance.

  • After turning the engine switch off, waiting time may be required before disconnecting the cable from the negative (-) battery terminal. Therefore, make sure to read the disconnecting the cable from the negative (-) battery terminal notices before proceeding with work.

    Click here

  • After performing repairs, perform the DTC check procedure and confirm that the DTCs are not output again.

    DTC check procedure: Turn the engine switch on (IG) and wait for 1 minute or more. Then operate the suspected malfunctioning system and drive the vehicle at 60 km/h (37 mph) or more for 5 minutes or more.

  • After the repair, perform the CAN bus check and check that all the ECUs and sensors connected to the CAN communication system are displayed as normal.

    Click here

  • Inspect the fuses for circuits related to this system before performing the following procedure.

Tech Tips


  • Before disconnecting related connectors for inspection, push in on each connector body to check that the connector is not loose or disconnected.

  • When a connector is disconnected, check that the terminals and connector body are not cracked, deformed or corroded.

PROCEDURE


  1. CHECK FOR OPEN IN CAN BUS LINES (COMBINATION METER ASSEMBLY MAIN LINE)


    1. Disconnect the cable from the negative (-) battery terminal.

    2. Disconnect the O3 combination meter assembly connector.

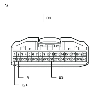
    3. B0075BHC03
      *a

      Front view of wire harness connector

      (to Combination Meter Assembly)

      Measure the resistance according to the value(s) in the table below.

      Standard Resistance
      Tester Connection Condition Specified Condition
      O3-29 (CANH) - O3-30 (CANL) Cable disconnected from negative (-) battery terminal 108 to 132 Ω
      Result
      Result
      OK
      NG

    NG
    OK
  2. CHECK HARNESS AND CONNECTOR (POWER SOURCE CIRCUIT)


    1. B0075BHC04
      *a

      Front view of wire harness connector

      (to Combination Meter Assembly)

      Measure the resistance according to the value(s) in the table below.

      Standard Resistance
      Tester Connection Condition Specified Condition
      O3-31 (ES) - Body ground Cable disconnected from negative (-) battery terminal Below 1 Ω
    2. Reconnect the cable to the negative (-) battery terminal.

    3. Measure the voltage according to the value(s) in the table below.

      Standard Voltage
      Tester Connection Condition Specified Condition
      O3-22 (B) - Body ground Always 11 to 14 V
      O3-21 (IG+) - Body ground Engine switch on (IG) 11 to 14 V
      Result
      Result Proceed to
      OK A

      • NG (except IG+ signal circuit)

      • NG (for IG+ signal circuit (w/o Stop and Start System))

      B
      NG (for IG+ signal circuit (w/ Stop and Start System)) C

    A
    B
    C