REAR SUSPENSION MEMBER REMOVAL

PROCEDURE


  1. REMOVE REAR WHEEL

    Click here

  2. REMOVE FRONT CENTER FLOOR COVER LH (for Full Cover Type)


    1. B007584

      Remove the 5 clips.

    2. Disengage the 5 clamps and remove the front center floor cover LH.

  3. REMOVE FRONT CENTER FLOOR COVER RH (for Full Cover Type)

    Tech Tips

    Perform the same procedure as for the LH side.

  4. REMOVE REAR FLOOR SIDE MEMBER COVER LH (for Half Cover Type)


    1. B0072WV

      Remove the 3 screws and rear floor side member cover LH.

  5. REMOVE REAR FLOOR SIDE MEMBER COVER RH (for Half Cover Type)

    Tech Tips

    Perform the same procedure as for the LH side.

  6. REMOVE FRONT CENTER FLOOR BRACE


    1. B0076SX

      Remove the 6 bolts and 2 nuts.

    2. Disengage the 2 clips and remove the front center floor brace.

  7. REMOVE PROPELLER WITH CENTER BEARING SHAFT ASSEMBLY

    Click here

  8. DISCONNECT TAIL EXHAUST PIPE ASSEMBLY

    for 2GR-FSE: Click here

    for 8AR-FTS: Click here

  9. DISCONNECT TAIL EXHAUST PIPE LH

    for 2GR-FSE: Click here

    for 8AR-FTS: Click here

  10. REMOVE REAR SUSPENSION ARM COVER LH

    Click here

  11. REMOVE REAR SUSPENSION ARM COVER RH

    Tech Tips

    Perform the same procedure as for the LH side.

  12. REMOVE REAR HEIGHT CONTROL SENSOR SUB-ASSEMBLY

    Click here

  13. REMOVE REAR AXLE SHAFT NUT LH

    Click here

  14. REMOVE REAR AXLE SHAFT NUT RH

    Tech Tips

    Perform the same procedure as for the LH side.

  15. SEPARATE REAR DISC BRAKE CALIPER ASSEMBLY LH

    Click here

  16. SEPARATE REAR DISC BRAKE CALIPER ASSEMBLY RH

    Tech Tips

    Perform the same procedure as for the LH side.

  17. REMOVE PARKING BRAKE SHOE ADJUSTING HOLE PLUG


    1. Remove the 2 parking brake shoe adjusting hole plugs.

  18. REMOVE REAR DISC


    1. Remove the 2 rear discs.

      Click here

  19. REMOVE PARKING BRAKE ASSEMBLY (for LH Side)

    Click here

  20. REMOVE PARKING BRAKE ASSEMBLY (for RH Side)

    Tech Tips

    Perform the same procedure as for the LH side.

  21. SEPARATE REAR SPEED SENSOR LH

    Click here

  22. SEPARATE REAR SPEED SENSOR RH

    Tech Tips

    Perform the same procedure as for the LH side.

  23. SEPARATE NO. 3 PARKING BRAKE CABLE ASSEMBLY


    1. B00743K

      Remove the 2 bolts and separate the No. 3 parking brake cable assembly from the rear suspension member sub-assembly.

  24. SEPARATE NO. 2 PARKING BRAKE CABLE ASSEMBLY

    Tech Tips

    Perform the same procedure as for the No. 3 parking brake cable assembly.

  25. REMOVE TOE CONTROL LINK SUB-ASSEMBLY LH (w/o Dynamic Rear Steering)

    Click here

  26. REMOVE TOE CONTROL LINK SUB-ASSEMBLY RH (w/o Dynamic Rear Steering)

    Tech Tips

    Perform the same procedure as for the LH side.

  27. REMOVE REAR STEERING LINK ASSEMBLY (w/ Dynamic Rear Steering)

    Click here

  28. REMOVE REAR NO. 1 SUSPENSION ARM ASSEMBLY LH

    Click here

  29. REMOVE REAR NO. 1 SUSPENSION ARM ASSEMBLY RH

    Tech Tips

    Perform the same procedure as for the LH side.

  30. REMOVE REAR STABILIZER LINK ASSEMBLY LH

    Click here

  31. REMOVE REAR STABILIZER LINK ASSEMBLY RH

    Tech Tips

    Perform the same procedure as for the LH side.

  32. SEPARATE REAR SHOCK ABSORBER ASSEMBLY LH

    Click here

  33. SEPARATE REAR SHOCK ABSORBER ASSEMBLY RH

    Tech Tips

    Perform the same procedure as for the LH side.

  34. REMOVE REAR SUSPENSION MEMBER BRACE LH


    1. B0074O8

      Remove the 2 bolts and rear suspension member brace LH from the rear suspension member sub-assembly.

  35. REMOVE REAR SUSPENSION MEMBER BRACE RH

    Tech Tips

    Perform the same procedure as for the LH side.

  36. REMOVE REAR COIL SPRING LH

    Click here

  37. REMOVE REAR COIL SPRING RH

    Tech Tips

    Perform the same procedure as for the LH side.

  38. REMOVE REAR UPPER COIL SPRING INSULATOR (for LH Side)

    Click here

  39. REMOVE REAR UPPER COIL SPRING INSULATOR (for RH Side)

    Tech Tips

    Perform the same procedure as for the LH side.

  40. REMOVE REAR LOWER COIL SPRING INSULATOR (for LH Side)

    Click here

  41. REMOVE REAR LOWER COIL SPRING INSULATOR (for RH Side)

    Tech Tips

    Perform the same procedure as for the LH side.

  42. REMOVE REAR NO. 2 SUSPENSION ARM ASSEMBLY LH

    Click here

  43. REMOVE REAR NO. 2 SUSPENSION ARM ASSEMBLY RH

    Tech Tips

    Perform the same procedure as for the LH side.

  44. SEPARATE REAR NO. 1 UPPER CONTROL ARM ASSEMBLY (for LH Side)


    1. B0072TY

      Remove the bolt, nut and washer and separate the rear No. 1 upper control arm assembly from the rear axle assembly.

      Note

      Because the bolt has its own stopper, do not turn the bolt. Loosen the nut with the bolt secured.

  45. SEPARATE REAR NO. 1 UPPER CONTROL ARM ASSEMBLY (for RH Side)

    Tech Tips

    Perform the same procedure as for the LH side.

  46. LOOSEN REAR UPPER CONTROL ARM ASSEMBLY LH


    1. B0076G0

      Remove the bolt and separate the rear speed sensor LH from the rear upper control arm assembly LH.

    2. B0075YH

      Loosen the rear upper control arm assembly LH nut (rear axle assembly side).

      Note


      • Do not remove the bolt and nut.

      • Because the bolt has its own stopper, do not turn the bolt. Loosen the nut with the bolt secured.

  47. LOOSEN REAR UPPER CONTROL ARM ASSEMBLY RH

    Tech Tips

    Perform the same procedure as for the LH side.

  48. REMOVE REAR AXLE ASSEMBLY LH

    Click here

  49. REMOVE REAR AXLE ASSEMBLY RH

    Tech Tips

    Perform the same procedure as for the LH side.

  50. REMOVE REAR DRIVE SHAFT ASSEMBLY LH

    Click here

  51. REMOVE REAR DRIVE SHAFT ASSEMBLY RH

    Tech Tips

    Use the same procedure as for the LH side.

  52. REMOVE REAR SUSPENSION MEMBER DAMPER (for 8AR-FTS)


    1. B0075K8

      Remove the 3 bolts and rear suspension member damper from the rear suspension member sub-assembly.

  53. REMOVE REAR DIFFERENTIAL CARRIER ASSEMBLY

    for 2GR-FSE: Click here

    for 8AR-FTS: Click here

  54. REMOVE REAR BODY MOUNTING CUSHION SUB-ASSEMBLY LH


    1. B00769V

      Remove the 3 bolts and rear body mounting cushion sub-assembly LH.

  55. REMOVE REAR BODY MOUNTING CUSHION SUB-ASSEMBLY RH

    Tech Tips

    Perform the same procedure as for the LH side.

  56. REMOVE REAR SUSPENSION MEMBER SUB-ASSEMBLY


    1. B0073YDC01
      *a Engine Lifter
      *b Attachment
      B0076EM Attachment placement location

      Support the rear suspension member sub-assembly with an engine lifter using 4 attachments or equivalent tools as shown in the illustration.

      CAUTION:

      Make sure to secure the rear suspension member sub-assembly to prevent it from dropping.

      Note


      • Use attachments to keep the rear suspension member sub-assembly level.

      • The rear suspension member sub-assembly is a heavy component. Make sure that it is supported securely.

    2. Remove the 8 bolts, 2 rear suspension member lower stoppers, rear suspension member lower stopper sub-assembly LH and rear suspension member lower stopper sub-assembly RH.

    3. Slowly lower the rear suspension member sub-assembly.

      Note

      When lowering the rear suspension member sub-assembly, be careful not to damage the vehicle body or other components installed to the vehicle.

  57. REMOVE REAR STABILIZER BAR SUB-ASSEMBLY


    1. B0075TP

      Remove the 4 bolts and rear stabilizer bar sub-assembly with 2 rear No. 1 stabilizer bar brackets from the rear suspension member sub-assembly.

  58. REMOVE REAR NO. 1 UPPER CONTROL ARM ASSEMBLY (for LH Side)

    Click here

  59. REMOVE REAR NO. 1 UPPER CONTROL ARM ASSEMBLY (for RH Side)

    Tech Tips

    Perform the same procedure as for the LH side.

  60. REMOVE REAR UPPER CONTROL ARM ASSEMBLY LH

    Click here

  61. REMOVE REAR UPPER CONTROL ARM ASSEMBLY RH

    Tech Tips

    Perform the same procedure as for the LH side.

  62. REMOVE REAR NO. 1 DIFFERENTIAL MOUNT CUSHION

    Click here

  63. REMOVE REAR NO. 2 DIFFERENTIAL MOUNT CUSHION

    Click here

  64. REMOVE REAR SUSPENSION MEMBER REAR LOWER STOPPER (for LH Side)


    1. B007803

      Remove the rear suspension member rear lower stopper from the rear suspension member sub-assembly.

  65. REMOVE REAR SUSPENSION MEMBER REAR LOWER STOPPER (for RH Side)

    Tech Tips

    Perform the same procedure as for the LH side.

  66. REMOVE REAR SUSPENSION MEMBER REAR UPPER STOPPER (for LH Side)


    1. B0074NU

      Remove the rear suspension member rear upper stopper from the rear suspension member sub-assembly.

  67. REMOVE REAR SUSPENSION MEMBER REAR UPPER STOPPER (for RH Side)

    Tech Tips

    Perform the same procedure as for the LH side.

  68. REMOVE REAR SUSPENSION MEMBER FRONT BODY MOUNTING CUSHION (for LH Side)


    1. B0074WU

      Using a chisel and hammer, bend the rear suspension member front body mounting cushion rib.

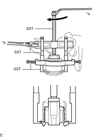
    2. B0073MBC03
      *a Turn
      *b Hold

      Using SST, remove the rear suspension member front body mounting cushion while applying grease into the clearance between the rear suspension member front body mounting cushion and the rear suspension member sub-assembly.

      SST
      09950-40011   ( 09951-04020, 09952-04010, 09953-04030, 09954-04010, 09955-04051, 09957-04010, 09958-04011 )
      09950-60010   ( 09951-00410 )

      Note


      • Apply grease to the threads and tip of the SST center bolt before use.

      • Be careful as the rear suspension member front body mounting cushion may fly out.

      • The rear suspension member front body mounting cushion cannot be reused.

  69. REMOVE REAR SUSPENSION MEMBER FRONT BODY MOUNTING CUSHION (for RH Side)

    Tech Tips

    Perform the same procedure as for the LH side.

  70. REMOVE REAR SUSPENSION MEMBER REAR BODY MOUNTING CUSHION (for LH Side)


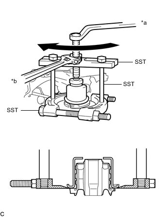
    1. B0073F4C03
      *a Turn
      *b Hold

      Using SST, remove the rear suspension member rear body mounting cushion while applying grease into the clearance between the rear suspension member rear body mounting cushion and the rear suspension member sub-assembly.

      SST
      09950-00020
      09950-00030
      09950-40011   ( 09957-04010 )
      09950-60010   ( 09951-00390 )

      Note


      • Apply grease to the threads and tip of the SST center bolt before use.

      • Be careful as the rear suspension member rear body mounting cushion may fly out.

      • The rear suspension member rear body mounting cushion cannot be reused.

  71. REMOVE REAR SUSPENSION MEMBER REAR BODY MOUNTING CUSHION (for RH Side)

    Tech Tips

    Perform the same procedure as for the LH side.