REAR SHOCK ABSORBER INSTALLATION

CAUTION / NOTICE / HINT

Tech Tips


  • Use the same procedure for the RH side and LH side.

  • The following procedure is for the LH side.

PROCEDURE


  1. INSTALL REAR NO. 1 SPRING BUMPER


    1. Install the rear No. 1 spring bumper to the rear shock absorber assembly.

  2. INSTALL REAR SUSPENSION SUPPORT ASSEMBLY


    1. w/o AVS:


      1. B0077CNC06
        *1 Rear No. 2 Shock Absorber Cushion
        *2 Rear Suspension Support Assembly
        *3 Rear No. 1 Shock Absorber Cushion
        *4 Rear Shock Absorber Cushion Washer

        Install the rear No. 2 shock absorber cushion, rear suspension support assembly, rear No. 1 shock absorber cushion and rear shock absorber cushion washer to the rear shock absorber assembly.

        Note

        Be sure to install the rear shock absorber cushion washer in the correct direction.

      2. Temporarily tighten a new rear support to rear shock absorber nut.

      3. B0077O0C02
        *1 Rear Shock Absorber Lower Bushing
        *2 Rear Suspension Support Assembly
        *a Rear Shock Absorber Lower Bushing Axis Line
        *b Rear Suspension Support Assembly Stud (Toward Vehicle Interior) 2-point Axis Line
        B0073AQ Front of the Vehicle

        Align the rear suspension support assembly so that the stud bolts of the rear suspension support assembly are positioned as shown in the illustration.

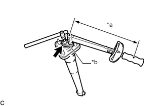
      4. B0073ZFC01
        *a Torque Wrench Fulcrum Length
        *b Union Nut Wrench

        Using a union nut wrench, fully tighten the rear support to rear shock absorber nut while holding the rod of the rear shock absorber assembly with a 6 mm hexagon socket wrench.

        Torque:
        Specified tightening torque
        18 N*m  { 184 kgf*cm, 13 ft.*lbf }

        Note

        Securely insert the 6 mm hexagon socket wrench into the rear shock absorber rod to prevent damage to the rear shock absorber assembly when tightening the rear support to rear shock absorber nut.

        Tech Tips


        • Calculate the torque wrench reading when changing the fulcrum length of the torque wrench.

          Click here

        • When using a union nut wrench (fulcrum length of 30 mm (1.18 in.)) + torque wrench (fulcrum length of 250 mm (9.84 in.)):

          16 N*m (163 kgf*cm, 12 ft.*lbf)

    2. w/ AVS:


      1. B0077CNC07
        *1 Rear No. 2 Shock Absorber Cushion
        *2 Rear Suspension Support Assembly
        *3 Rear No. 1 Shock Absorber Cushion
        *4 Rear Shock Absorber Cushion Washer

        Install the rear No. 2 shock absorber cushion, rear suspension support assembly, rear No. 1 shock absorber cushion and rear shock absorber cushion washer to the rear shock absorber assembly.

        Note

        Be sure to install the rear shock absorber cushion washer in the correct direction.

      2. Install the rear actuator support bracket to the rear shock absorber assembly and then temporarily tighten a new rear support to rear shock absorber nut.

      3. B0075BRC04
        *1 Rear Shock Absorber Lower Bushing
        *2 Rear Suspension Support Assembly
        *3 Rear Actuator Support Bracket
        *a Rear Shock Absorber Lower Bushing Axis Line
        *b Rear Suspension Support Assembly Stud (Toward Vehicle Interior) 2-point Axis Line
        *c Line Extending from the Flat Portion of the Absorber Rod
        B0073AQ Front of the Vehicle

        Align the rear suspension support assembly and rear actuator support bracket so that the stud bolts of the rear suspension support assembly and rear actuator support bracket are positioned as shown in the illustration.

      4. Secure the rear actuator support bracket of the rear shock absorber assembly between aluminum plates in a vise.

        Note

        Do not overtighten the vise.

      5. Fully tighten the rear support to rear shock absorber nut.

        Torque:
        18 N*m  { 184 kgf*cm, 13 ft.*lbf }
  3. TEMPORARILY INSTALL REAR SHOCK ABSORBER ASSEMBLY


    1. Install the 3 nuts to the upper side of the rear shock absorber assembly.

      Torque:
      74 N*m  { 755 kgf*cm, 55 ft.*lbf }
    2. Temporarily install the rear shock absorber assembly to the rear No. 2 suspension arm assembly with the bolt and nut.

      Note

      Because the nut has its own stopper, do not turn the nut. Tighten the bolt with the nut secured.

      Tech Tips

      Insert the bolt with the threaded end facing the front of the vehicle.

  4. INSTALL ABSORBER CONTROL ACTUATOR (w/ AVS)

    Click here

  5. INSTALL TOE CONTROL LINK SUB-ASSEMBLY (w/o Dynamic Rear Steering)


    1. Install the toe control link sub-assembly to the rear axle assembly with a new nut.

      Torque:
      70 N*m  { 714 kgf*cm, 52 ft.*lbf }
  6. INSTALL REAR STEERING TIE ROD ASSEMBLY (w/ Dynamic Rear Steering)

    Click here

  7. STABILIZE SUSPENSION


    1. B0075N9C02
      *a Wooden Block
      *b Jack
      B0076EM Wooden block placement location

      Using a jack and wooden block, apply load to the suspension so that the rear No. 2 suspension arm assembly is positioned as shown in the illustration.

      CAUTION:

      Do not jack up the rear No. 2 suspension arm assembly too high as the vehicle may fall.

      Note


      • When jacking up the rear No. 2 suspension arm assembly, be sure to jack it up slowly.

      • Make sure to perform this operation with the vehicle kept as low as possible.

      Standard Length (A)
      9.7 mm (0.382 in.)
  8. INSTALL REAR SHOCK ABSORBER ASSEMBLY


    1. B00768N

      Install the rear shock absorber assembly with the bolt.

      Torque:
      110 N*m  { 1122 kgf*cm, 81 ft.*lbf }

      Note

      Because the nut has its own stopper, do not turn the nut. Tighten the bolt with the nut secured.

  9. INSTALL REAR SUSPENSION ARM COVER

    Click here

  10. INSTALL REAR WHEEL

    Click here

  11. INSTALL LUGGAGE COMPARTMENT TRIM COVER

    Click here

  12. INSPECT AND ADJUST REAR WHEEL ALIGNMENT

    Click here