FRONT SHOCK ABSORBER INSTALLATION

CAUTION / NOTICE / HINT

Tech Tips


  • Use the same procedure for the RH side and LH side.

  • The following procedure is for the LH side.

PROCEDURE


  1. INSTALL FRONT COIL SPRING


    1. B0075Z3C06
      *a Depression

      Install the front lower coil spring insulator to the front shock absorber assembly.

      Note

      When installing the front lower coil spring insulator, fit the insulator to the depression of the spring seat.

    2. B0075ADN04

      For SST with stopper pins:


      1. Secure SST in a vise.

        SST
        09727-30022   ( 09727-00010, 09727-00022, 09727-00031 )
      2. B0077EVC01
        *a Correct
        *b Incorrect
        *c Parallel
        *d Not Parallel

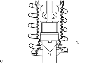
        Attach the hooks of each SST arm across the diameter of the coil spring.

        CAUTION:


        • Make sure that the hooks of the upper and lower arms are attached to the coil spring so that the distance between the hooks is as large as possible.

        • Make sure that the arms of SST are parallel and attached to the coil spring, and the number of coil springs between the hooks on each side is the same.

        • Check that the claws of the hooks are securely attached to the coil spring.

      3. B0072OCC01
        *a Correct
        *b Incorrect
        *c Stopper Pin

        Install the stopper pins to the hooks of SST.

        CAUTION:

        Make sure that the stopper pins are installed securely.

      4. Using SST, compress the coil spring.

        CAUTION:


        • If the coil spring bends while using SST, stop immediately and reattach SST correctly.

        • Do not compress the coil spring to the point where the coils touch each other.

        • Do not use an impact wrench.

        • B0076BZN03

          If a stopper pin touches the coil spring while using SST, remove the stopper pin and continue with the procedure. In this case, installing the coil spring stopper belt as shown in the illustration is recommended.

        SST
        09727-00110
    3. For SST without stopper pins:


      1. B007792N06

        Secure SST in a vise.

        SST
        09727-30021   ( 09727-00010, 09727-00021, 09727-00031 )
      2. B0077EVC01
        *a Correct
        *b Incorrect
        *c Parallel
        *d Not Parallel

        Attach the hooks of each SST arm across the diameter of the coil spring.

        CAUTION:


        • Make sure that the hooks of the upper and lower arms are attached to the coil spring so that the distance between the hooks is as large as possible.

        • Make sure that the arms of SST are parallel and attached to the coil spring, and the number of coil springs between the hooks on each side is the same.

        • Check that the claws of the hooks are securely attached to the coil spring.

      3. Using SST, compress the coil spring.

        CAUTION:


        • If the coil spring bends while using SST, stop immediately and reattach SST correctly.

        • Do not compress the coil spring to the point where the coils touch each other.

        • Do not use an impact wrench.

        Tech Tips

        Installing SST as shown in the illustration is recommended.

        B0073ERN02
        SST
        09727-00110
    4. B0076MWC05
      *a Depression

      Install the front coil spring to the front shock absorber assembly.

      Note

      Make sure that the end of the front coil spring is positioned in the depression of the front lower spring seat.

    5. Install the front spring bumper to the front suspension support assembly.

    6. B0075NCC04
      *a Identification Mark
      *b Arrow

      Install the front upper coil spring insulator to the front suspension support assembly as shown in the illustration.

      Note

      Make sure that the arrow on the front upper coil spring insulator is aligned with the identification mark on the front suspension support assembly.

    7. B0076N4C02
      *a Piston Rod

      Install the front suspension support assembly to the front shock absorber assembly.

      Note

      Match the shape of the front shock absorber assembly piston rod end to the shape of the front suspension support assembly.

    8. B0075XTC01
      *a Front Shock Absorber Assembly Claw
      *b End of Front Upper Coil Spring Insulator

      Engage the end of the front upper coil spring insulator to the front shock absorber assembly claws.

      Note


      • Make sure that the end of the front upper coil spring insulator is engaged securely to the 4 front shock absorber assembly claws.

      • Be careful not to deform the bellows of the front upper coil spring insulator.

      • Keep the front upper coil spring insulator free of oil and grease.

    9. w/ AVS:


      1. B0075ZEC04
        *A LH Side
        *B RH Side
        *1 Front Actuator Support Bracket
        *a Front actuator support bracket center line
        *b 0° +/- 10°
        B0077IM Front of the Vehicle
        B0077LI Outside of the Vehicle

        Install the front actuator support bracket to the front shock absorber assembly as shown in the illustration.

    10. Temporarily tighten a new lock nut.

    11. B0072T0C05
      *A LH Side
      *B RH Side
      *a 30° +/- 2°
      *b Identification Mark
      B0077IM Front of the Vehicle
      B0077LI Outside of the Vehicle

      Adjust the front suspension support assembly so that the bolts come to the positions as shown in the illustration, and remove SST from the front coil spring.

      Note


      • Do not use an impact wrench. It will damage SST.

      • Make sure that the flat surface of the threads of the front shock absorber piston rod end is parallel to the front shock absorber bushing.

      • Make sure that the front suspension support assembly is aligned as shown in the illustration when removing SST.

  2. TEMPORARILY TIGHTEN FRONT SHOCK ABSORBER WITH COIL SPRING


    1. Install the front shock absorber with coil spring (upper side) and front No. 3 spring support reinforcement with the 3 nuts.

      Torque:
      67 N*m  { 683 kgf*cm, 49 ft.*lbf }
    2. Temporarily tighten the front shock absorber with coil spring (lower side) to the front lower suspension arm assembly with the bolt and nut.

      Note


      • Insert the bolt from the rear of the vehicle.

      • Because the nut has its own stopper, do not turn the nut. Tighten the bolt with the nut secured.

      Tech Tips

      Fully tighten the bolt after stabilizing the suspension.

    3. Fully tighten the lock nut.

      Torque:
      27.5 N*m  { 280 kgf*cm, 20 ft.*lbf }

      Note

      Perform this step only when the front shock absorber with coil spring has been disassembled.

  3. INSTALL ABSORBER CONTROL ACTUATOR (w/ AVS)

    Click here

  4. INSTALL UPPER SHOCK ABSORBER CAP (w/ AVS)

    Click here

  5. INSTALL FRONT UPPER SUSPENSION ARM ASSEMBLY


    1. Install the front upper suspension arm assembly to the steering knuckle with the nut.

      Torque:
      87 N*m  { 887 kgf*cm, 64 ft.*lbf }

      Note

      Prevent oil from adhering to the threaded and tapered parts.

    2. Install a new clip.

      Note

      Further tighten the nut up to 60° if the holes for the clip are not aligned.

  6. INSTALL FRONT STABILIZER LINK ASSEMBLY

    Click here

  7. INSTALL FRONT SKID CONTROL SENSOR WIRE


    1. Install the front skid control sensor wire to the front shock absorber with coil spring and vehicle body with the 2 bolts.

      Torque:
      6.0 N*m  { 61 kgf*cm, 53 in.*lbf }

      Note


      • Be careful not to deform the bracket of the front shock absorber with coil spring when installing the bolt.

      • Do not twist the front skid control sensor wire when installing it.

    2. Connect the front skid control sensor wire connector to the front axle hub sub-assembly.

      Note

      Do not twist the front skid control sensor wire when installing it.

  8. STABILIZE SUSPENSION


    1. Install the front wheel.

      Click here

    2. Lower the vehicle and bounce it up and down several times to stabilize the front suspension.

    3. Remove the front wheel.

      Click here

    4. B0074U4C01
      *a Wooden Block
      *b Jack
      B0076EM Wooden block placement location

      Using a jack and a wooden block, apply load to the suspension so that the front lower suspension arm assembly is horizontal.

      CAUTION:

      Do not jack up the front lower suspension arm assembly too high as the vehicle may fall.

      Note


      • When jacking up the front lower suspension arm assembly, be sure to jack it up slowly.

      • Make sure to perform this operation with the vehicle kept as low as possible.

  9. FULLY TIGHTEN FRONT SHOCK ABSORBER WITH COIL SPRING


    1. Fully tighten the front shock absorber with coil spring bolt.

      Torque:
      108 N*m  { 1101 kgf*cm, 80 ft.*lbf }

      Note

      Because the nut has its own stopper, do not turn the nut. Tighten the bolt with the nut secured.

  10. INSTALL FRONT WHEEL

    Click here

  11. INSPECT AND ADJUST FRONT WHEEL ALIGNMENT

    Click here