ADAPTIVE VARIABLE SUSPENSION SYSTEM SYSTEM DIAGRAM

B0073PBE12
B00769GE07
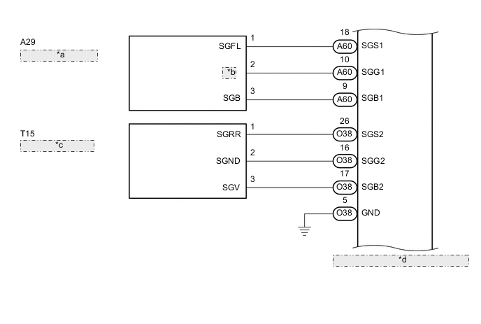
*a Front Acceleration Sensor LH
*b SGG
*c Rear Acceleration Sensor
*d Absorber Control ECU (Built into Front Acceleration Sensor RH)
B00761WE02