СИСТЕМА КОНДИЦИОНИРОВАНИЯ ОПИСАНИЕ СИСТЕМЫ


  1. ОБЩИЕ СВЕДЕНИЯ

    Система кондиционирования выполняет следующие функции управления.

    Управление Описание
    Нейронно-сетевое управление Благодаря этой функции обеспечивается комплексное управление системой за счет искусственного моделирования информационных процессов, протекающих в нервной системе живых организмов, с целью установления сложной зависимости между входными и выходными данными подобно тому, как это происходит в мозге человека.
    Регулирование температуры воздуха в салоне В соответствии с уставкой температуры, заданной шкалой регулятора температуры, нейронно-сетевая система управления вычисляет температуру выпускаемого воздуха на основе сигналов, поступающих от различных датчиков.
    Двойное управление Для обеспечения разных температур в левой и правой частях салона автомобиля температуры воздуха со стороны водителя и со стороны пассажира регулируются независимо. Таким образом, кондиционер способен удовлетворить запросы всех, кто находится в салоне.
    Управление вентилятором Управление электродвигателем вентилятора осуществляется в соответствии с расходом воздуха, вычисленным нейронно-сетевой системой управления на основе сигналов различных датчиков.
    Регулировка распределения воздушных потоков Система автоматически распределяет воздушные потоки в соответствии с режимом воздухораспределения, определенным нейронно-сетевой системой управления.
    В зависимости от температуры охлаждающей жидкости двигателя, температуры окружающего воздуха, естественной освещенности, заданной температуры на выходе вентилятора и скорости автомобиля система управления автоматически устанавливает режим подачи воздуха к ногам и через оттаиватели, предотвращая запотевание стекол при низкой температуре окружающего воздуха.
    Управление забором воздуха Обеспечивает автоматическое управление входной заслонкой для достижения вычисленной температуры воздуха в салоне.
    Система управляет серводвигателями входных заслонок, устанавливая заслонки в положение впуска наружного воздуха или рециркуляции в зависимости от состояния переключателя управления входными заслонками.
    Управление компрессором Вычисляя требуемую температуру испарителя на основе сигналов различных датчиков, блок управления системой кондиционирования оптимальным образом регулирует производительность компрессора путем изменения степени открывания электромагнитного клапана компрессора.
    Режим фильтрации пыльцы
    • Эта функция приводится в действие переключателем режима фильтрации пыльцы.

    • Устанавливает режим воздухораспределения FACE.

    • При этом воздух, пропущенный через воздушный фильтр, направляется на водителя и переднего пассажира сверху. Для удаления пыли и пыльцы воздух фильтруется воздушным фильтром.

    Управление оттаивателями Для улучшения характеристик оттаивателя используется логическая схема управления оттаивателем.
    Управление обогревателем заднего стекла

    См. описание системы обогревателя заднего стекла.

    Нажмите здесь Click here

    Управление в режиме ECO Когда комбинированный переключатель в сборе (выключатель режима ECO) включен, блок управления системой кондиционирования в сборе ограничивает производительность системы кондиционирования.
    Диагностика Когда блок управления системой кондиционирования обнаруживает неисправность в системе кондиционирования, в памяти сохраняется диагностический код неисправности (DTC).
    Управление обращением к памяти

    Обеспечивает сохранение в памяти настроек системы кондиционирования, когда выключатель зажигания переводится из состояния ON (ВКЛ) (IG) в состояние OFF (ВЫКЛ), в соответствии с идентификационным кодом передатчика электронного ключа, который используется для управления автомобилем. Функция обращения к памяти восстанавливает настройки передатчика электронного ключа в сборе, использованные при включении зажигания (IG) . Данная функция приводится в действие при выполнении обоих следующих условий.


    • Дверь водителя разблокируется с помощью датчика разблокировки, а затем дверь водителя открывается.

    • Зажигание включено (IG).

  2. НЕЙРОННО-СЕТЕВОЕ УПРАВЛЕНИЕ


    • В использовавшихся ранее системах кондиционирования блок управления системой кондиционирования определял требуемую температуру воздуха на выпуске и расход воздуха на вентиляторе по формуле, получаемой на основе информации, передаваемой датчиками.

      Однако поскольку органы чувств человека устроены значительно сложнее, одна и та же температура воспринимается по-разному, в зависимости от условий, в которых находится человек. Например, при одинаковой интенсивности солнечного света можно чувствовать себя комфортно в условиях холодного климата и крайне некомфортно в условиях жаркого климата. По этой причине для обеспечения более высокого уровня автоматизации управления в системе кондиционирования используется управление на основе нейронных сетей. Согласно этому подходу данные, собираемые при различных условиях внешней среды, сохраняются в памяти блока управления системой кондиционирования. В дальнейшем они используются с целью обеспечения повышенного комфорта при работе кондиционера.

    • Применяемая в системе управления нейронная сеть включает в себя три слоя нейронов: входной, промежуточный и выходной. Нейроны входного слоя обрабатывают входные данные (значения температуры окружающего воздуха, интенсивности солнечного освещения и температуры воздуха в салоне) с учетом состояний на выходах переключателей и датчиков, и передают результаты нейронам промежуточного слоя. Исходя из этого, нейроны промежуточного слоя регулируют прочность связей между нейронами. Суммируя полученные результаты, нейроны выходного слоя определяют требуемое значение температуры на выпуске, поправки на солнечную радиацию, необходимый расход воздуха и итоговое распределение потоков воздуха. В соответствии с данными вычислений блок управления системой кондиционирования формирует команды управления для серводвигателей и электродвигателя вентилятора.

    A01OFMNE02
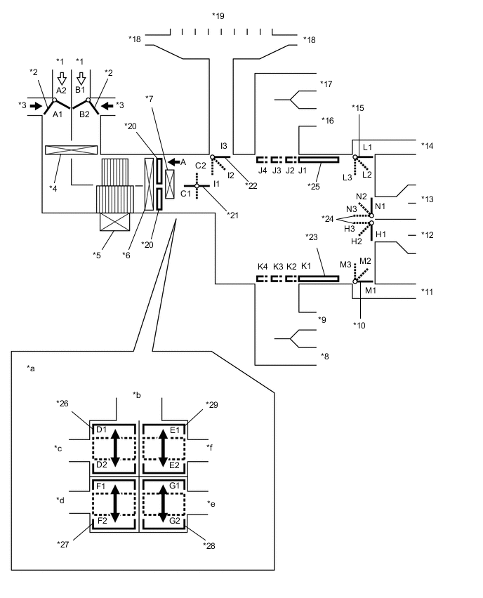
  3. РЕЖИМЫ ПОДАЧИ ВОЗДУХА И ПОЛОЖЕНИЯ ЗАСЛОНОК

    Режимы подачи воздуха и положения заслонок.

    A01OFSXC01
    *1 Рециркулируемый воздух *2 Входная заслонка
    *3 Наружный воздух *4 Фильтрующий элемент воздушного фильтра
    *5 Электродвигатель вентилятора с вентилятором в сборе *6 Испаритель системы кондиционирования № 1 в сборе
    *7 Блок радиатора отопителя в сборе *8 Боковой воздуховод с дефлектором (со стороны переднего пассажира)
    *9 Центральный воздуховод с дефлектором (со стороны переднего пассажира) *10 Заслонка распределения потоков воздуха (для воздуховода с дефлектором в выемке для ног переднего пассажира)
    *11 Воздуховод с дефлектором в передней выемке для ног (со стороны переднего пассажира) *12 Воздуховод с дефлектором в задней выемке для ног
    *13 Воздуховод с дефлектором вещевого ящика в облицовке туннеля пола *14 Воздуховод с дефлектором в передней выемке для ног (со стороны водителя)
    *15 Заслонка распределения потоков воздуха (для воздуховода с дефлектором в выемке для ног водителя) *16 Центральный воздуховод с дефлектором (со стороны водителя)
    *17 Боковой воздуховод с дефлектором (со стороны водителя) *18 Боковой оттаиватель
    *19 Центральный оттаиватель *20 Смесительная заслонка
    *21 Заслонка двухуровневого воздухораспределения с забором внутреннего и наружного воздуха *22 Заслонка распределения потоков воздуха (для оттаивателя)
    *23 Заслонка распределения потоков воздуха (для центрального и бокового воздуховодов с дефлектором со стороны переднего пассажира) *24 Заслонка распределения потоков воздуха (для воздуховода с дефлектором вещевого ящика в облицовке туннеля пола и воздуховода с дефлектором в выемке для ног заднего пассажира)
    *25 Заслонка распределения потоков воздуха (для центрального и бокового воздуховодов с дефлектором со стороны водителя) *26 Смесительная заслонка (верхнего уровня для водителя)
    *27 Смесительная заслонка (нижнего уровня для водителя) *28 Смесительная заслонка (для нижнего слоя со стороны переднего пассажира)
    *29 Смесительная заслонка (верхнего уровня для переднего пассажира) - -
    *a Вид A *b К центральному и боковому оттаивателям
    *c К центральному и боковому воздуховодам с дефлектором со стороны водителя *d К воздуховоду с дефлектором в выемке для ног водителя
    *e К воздуховоду с дефлектором в выемке для ног переднего пассажира *f К центральному и боковому воздуховодам с дефлектором со стороны переднего пассажира
    Управляющая заслонка Режим работы Положение заслонки Принцип работы
    Входная управляющая заслонка FRESH A2, B1 Обеспечивает подачу в салон наружного воздуха.
    RECIRCULATION A1, B2 Обеспечивает рециркуляцию воздуха в салоне.
    Заслонка двухуровневого воздухораспределения с забором внутреннего и наружного воздуха - (автоматический режим) C1 - C2 Разделяет или объединяет верхний и нижний уровни в зависимости от условий, осуществляя управление уровнями двухуровневого воздухораспределения с забором внутреннего и наружного воздуха.
    Смесительная заслонка Уставка температуры от MAX COLD (макс. охлаждение) до MAX HOT (макс. обогрев)

    D1 - D2*1

    E1 - E2*2

    F1 - F2*3

    G1 - G2*4

    Изменяет соотношение теплого и холодного воздуха, непрерывно регулируя температуру (от максимального обогрева до максимального охлаждения).
    Заслонка распределения потоков воздуха A01OG5S FACE J1, K1, L1, M1, N3, H1, I3 Воздух подается через передний центральный воздуховод с дефлектором, боковой воздуховод с дефлектором и воздуховод с дефлектором вещевого ящика в облицовке туннеля пола.
    A01OG09 BI-LEVEL J2, K2, L2, M2, N2, H2, I3 Воздух подается через передний центральный воздуховод с дефлектором, воздуховод вещевого ящика в облицовке туннеля пола, боковой воздуховод с дефлектором и воздуховоды с дефлектором в передней и задней выемках для ног. В зависимости от условий в салоне воздух может выпускаться через центральный и боковой оттаиватели (I2).
    A01OG7M FOOT J3, K3, L3, M3, N2, H3, I3*5 или I2*6 Воздух подается через воздуховоды с дефлектором в передней и задней выемках для ног. Кроме того, незначительный поток воздуха выпускается через передний центральный воздуховод с дефлектором, боковой воздуховод с дефлектором и воздуховод с дефлектором вещевого ящика в облицовке туннеля пола. Когда при автоматическом управлении включается режим FOOT, незначительный поток воздуха выпускается через центральный и боковой оттаиватели.
    A01OFEI FOOT И DEFROSTER J3, K3, L2, M2, N2, H2, I1 Обеспечивает оттаивание ветрового стекла, подавая теплый воздух через центральный и боковой оттаиватели; кроме того, воздух выпускается через воздуховоды с дефлектором в передней и задней выемках для ног. Кроме того, незначительный поток воздуха выпускается через передний центральный воздуховод с дефлектором, боковой воздуховод с дефлектором и воздуховод с дефлектором вещевого ящика в облицовке туннеля пола.
    A01OFHP DEFROSTER J4, K4, L1, M1, H1, I1 Обеспечивает оттаивание ветрового стекла, подавая теплый воздух через воздуховоды центрального и бокового оттаивателей.

    Tech Tips

    *1: для переднего и бокового воздуховодов с дефлектором со стороны водителя

    *2: для переднего и бокового воздуховодов с дефлектором со стороны переднего пассажира

    *3: для воздуховода с дефлектором в передней выемке для ног со стороны водителя

    *4: Для воздуховода с дефлектором в выемке для ног переднего пассажира

    *5: при ручном выборе режима FOOT.

    *6: при включении режима FOOT посредством автоматического управления или ручном выборе режима FOOT во время действия другого режима.

  4. ВОЗДУХОВЫПУСКНЫЕ ОТВЕРСТИЯ И ВОЗДУХОРАСПРЕДЕЛЕНИЕ

    Воздуховыпускные отверстия и воздухораспределение.

    A01OG5FN01
    Режим Режим управления FACE FOOT DEF
    Автоматическое управление Ручное управление По центру Сбоку Сзади Вперед Сзади F
    А B C D E

    FACE-U

    A01OG5S
    A01OG0M A01OG0M A01OFYV A01OFYV A01OFYV A01OFCI A01OFCI A01OFCI

    FACE-L

    A01OG5S
    A01OG0M A01OFCI A01OG75 A01OG75 A01OG75 A01OFMJ A01OFMJ A01OFCI

    FACE-R

    A01OG5S
    A01OG0M A01OFCI A01OFTL A01OFTL A01OFTL A01OFCI A01OFCI A01OFCI

    B/L

    A01OG09
    A01OG0M A01OG0M A01OFTL A01OFTL A01OFTL A01OFTL A01OFTL A01OFMJ

    FOOT-D

    A01OG7M
    A01OG0M A01OFCI A01OFMJ A01OFMJ A01OFMJ A01OFTL A01OFTL A01OG0M

    FOOT-R

    A01OG7M
    A01OG0M A01OG0M A01OFMJ A01OFMJ A01OFMJ A01OFTL A01OFTL A01OFMJ

    FOOT-F

    A01OG7M
    A01OG0M A01OFCI A01OFMJ A01OFMJ A01OFMJ A01OG75 A01OFMJ A01OFMJ

    FOOT/DEF

    A01OFEI
    A01OG0M A01OG0M A01OFMJ A01OFMJ A01OFMJ A01OG0M A01OFMJ A01OG75

    DEF

    A01OFHP
    A01OG0M A01OG0M A01OFCI A01OFCI A01OFCI A01OFCI A01OFCI A01OFYV

    Размер окружности ○ пропорционален объему выпускаемого воздуха.

  5. КОМПРЕССОР


    1. Общие сведения:


      1. Производительность компрессора плавно регулируется в соответствии с тепловой нагрузкой системы кондиционирования.

      2. Компрессор системы кондиционирования включает в себя шкив, вал, прижимную пластину, наклонный диск, поршень, колодку, внутреннюю полость картера, цилиндр, электромагнитный клапан со встроенным клапаном между внутренней полостью картера и всасывающим каналом (CS), маслоотделитель и дроссельную заслонку со стороны регулирования всасывания.

      3. Электромагнитный клапан позволяет регулировать давление всасывания в соответствии с требованиями.

      4. Клапан между внутренней полостью картера и всасывающей камерой (CS), встроенный в электромагнитный клапан, действует в соответствии с давлением всасывания.

      5. Маслоотделитель устанавливается в канал хладагента для отделения масла компрессора от нагнетаемого хладагента. Это помогает предотвратить попадание масла компрессора в систему кондиционирования и соответствующее снижение эффективности охлаждения.

    2. Принцип действия электромагнитного клапана:


      1. Внутренняя полость картера соединена с всасывающим каналом. Между всасывающим каналом (низкого давления) и нагнетательным каналом (высокого давления) смонтирован электромагнитный клапан.

      2. В соответствии с сигналами, которые передает блок управления системой кондиционирования, регулируется продолжительность включения электромагнитного клапана.

      3. Когда электромагнитный клапан закрыт (через катушку электромагнита протекает ток), создается разность давлений, и давление во внутренней полости картера уменьшается. Давление, прикладываемое к правой стороне поршня, становится больше давления, прикладываемого к левой стороне поршня. Это вызывает сжатие пружины и наклон наклонного диска. В результате ход поршня увеличивается, и производительность растет.

      4. Когда электромагнитный клапан открыт (через катушку электромагнита не протекает ток), разность давлений исчезает. Давление, прикладываемое к левой стороне поршня, становится равным давлению, прикладываемому к правой стороне поршня. Таким образом, пружина растягивается и устраняет наклон наклонного диска. В результате ход поршня и производительность уменьшаются.

    3. Принцип работы клапана CS:


      1. Клапан CS включает в себя каналы A и B. Если автомобиль в течение длительного времени остается на стоянке, хладагент может аккумулироваться во внутренней полости картера из-за разности теплоемкостей.

      2. Электромагнитный клапан управления работает под управлением блока управления системой кондиционирования. Во время работы компрессора электромагнитный клапан управления выталкивает вниз шток клапана CS и открывает канал A.

      3. При описанном выше условии давление во внутренней полости картера будет высоким только при скоплении хладагента во внутренней полости картера. В результате сильфон сожмется из-за перепада давлений по отношению к его внутреннему давлению (разрежению) и откроет канал B.

      4. Это приведет ко всасыванию скопившегося хладагента через каналы A и B, благодаря чему скопившийся хладагент будет удален раньше, и охлаждение начнется быстрее.

  6. АВТОМАТИЧЕСКОЕ УПРАВЛЕНИЕ РЕЦИРКУЛЯЦИЕЙ (для моделей с обогревателем зеркала)


    1. Во время автоматического управления рециркуляцией, когда выбран режим воздухозабора AUTO, блок управления системой кондиционирования автоматически изменяет режим воздухозабора (устанавливает режим рециркуляции или режим впуска наружного воздуха) исходя из сигналов датчика дыма, термистора в сборе и термистора системы кондиционирования (датчика температуры в салоне).

      A01OG3XE01

      1. На основе сигнала датчика дыма блок управления системой кондиционирования регистрирует наличие вредных веществ (CO, CH и NOx) и автоматически устанавливает режим рециркуляции (RECIRCULATION) для предотвращения попадания этих веществ в салон.

      2. По сигналу датчика температуры в салоне блок управления системой кондиционирования определяет температуру в салоне и автоматически устанавливает режим рециркуляции (RECIRCULATION), чтобы предотвратить чрезмерное повышение температуры в салоне.

      3. По сигналу датчика температуры окружающего воздуха блок управления системой кондиционирования определяет температуру окружающего воздуха и автоматически устанавливает режим впуска наружного воздуха (FRESH), чтобы предотвратить запотевание ветрового стекла.

        Note

        Датчик дыма не способен регистрировать дым костра и промышленные выбросы, запахи нечистот и животных, а также частицы грязи и пыли. Соответственно, при наличии этих веществ режим воздухозабора автоматически переключаться не будет.

  7. ТЕРМИСТОР КОНДИЦИОНЕРА № 1

    Термистор системы кондиционирования № 1 определяет температуру охлажденного воздуха непосредственно на выходе испарителя посредством изменения внутреннего сопротивления и передает соответствующий сигнал в блок управления системой кондиционирования.

  8. ВЕНТИЛЯТОР С ЭЛЕКТРОДВИГАТЕЛЕМ В СБОРЕ

    Электродвигатель вентилятора в сборе имеет встроенный контроллер вентилятора и управляется блоком управления системой кондиционирования путем регулирования продолжительности включения.

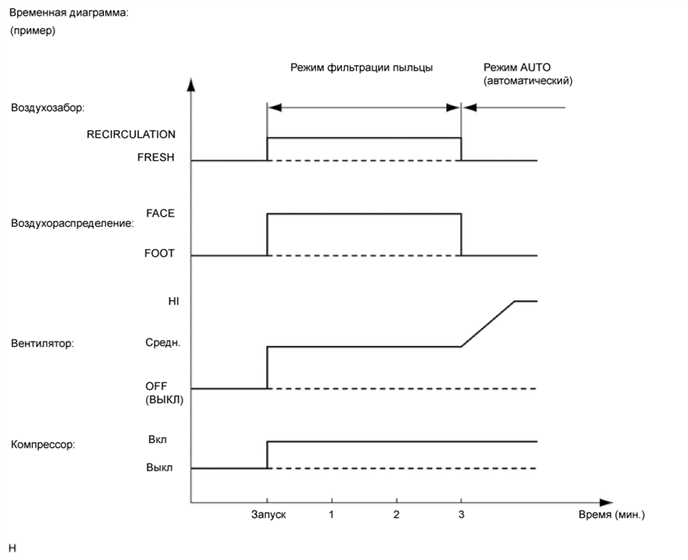
  9. УПРАВЛЕНИЕ РЕЖИМОМ ФИЛЬТРАЦИИ ПЫЛЬЦЫ


    1. При нажатии переключателя режима фильтрации пыльцы активируется режим фильтрации пыльцы.

    2. В результате устанавливается режим воздухораспределения FACE, и очищенный от пыльцы и пыли рециркулирующий воздушный поток направляется на водителя и переднего пассажира сверху.

    3. После поступления сигнала от датчика режима фильтрации пыльцы блок управления системой кондиционирования приводит в действие компрессор со шкивом в сборе, серводвигатель управления входной заслонкой, серводвигатель управления заслонкой распределения потоков воздуха и электродвигатель вентилятора в соответствии с временной диаграммой, показанной ниже.

    4. Такой режим работы сохраняется, как правило, в течение примерно 3 минут. Однако если температура наружного воздуха низка (не выше 5°C (41°F)), эта продолжительность сокращается примерно до 1 мин.

    5. По истечении указанного времени рассматриваемая функция прекращает работу, и блок управления системой кондиционирования возобновляет управление системой кондиционирования в режиме AUTO.

      A01OG2ZE22
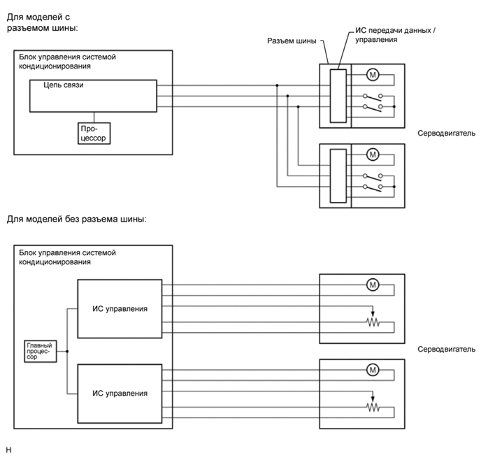
  10. РАЗЪЕМ ШИНЫ (ЖГУТ ПРОВОДОВ СИСТЕМЫ КОНДИЦИОНИРОВАНИЯ)


    1. В соединении жгута проводов, связывающем сервоприводы с блоком управления системой кондиционирования, используются разъемы шины.

      A01OFDBC01
      *a Пример *b

      Разъем шины

      (к сервоприводу заслонки радиатора системы кондиционирования № 5 в сборе (нижней смесительной заслонки со стороны водителя))

      *c

      Разъем шины

      (к сервоприводу заслонки радиатора системы кондиционирования № 2 в сборе (верхней смесительной заслонки со стороны водителя))

      *d

      Разъем шины

      (к сервоприводу заслонки радиатора системы кондиционирования № 3 в сборе)

      *e

      Разъем шины

      (к сервоприводу заслонки радиатора системы кондиционирования № 1 в сборе)

      *f

      Разъем шины

      (к сервоприводу заслонки радиатора системы кондиционирования № 2 в сборе (верхней смесительной заслонки со стороны переднего пассажира))

      *g

      Разъем шины

      (к сервоприводу заслонки радиатора системы кондиционирования № 4 в сборе (нижней смесительной заслонки со стороны переднего пассажира))

      *h

      Разъем шины

      (к сервоприводу заслонки вентилятора № 1 в сборе)

      *i К блоку управления системой кондиционирования *j к термистору кондиционера № 1
    2. В каждый разъем шины встроена ИС связи/управления, которая обменивается данными с блоком управления системой кондиционирования в сборе, приводит в действие серводвигатель и выполняет функцию определения положения. Это обеспечивает объединение в шину жгутов проводов отдельных сервоприводов, способствует облегчению конструкции и уменьшению количества проводов.

      A01OG8BE13
  11. СЕРВОПРИВОД

    Сервопривод с импульсным управлением состоит из печатной платы и серводвигателя. Печатная плата имеет 3 контакта и может передавать 2 релейных сигнала в блок управления системой кондиционирования исходя из разности фаз импульсных сигналов. По этим сигналам разъем шины способен определять положение заслонки и направление вращения.

    A01OFH9E09
  12. УПРАВЛЕНИЕ РЕЖИМОМ ECO

    В режиме ECO блок управления системой кондиционирования ограничивает функциональные возможности системы кондиционирования при определенных условиях, тем самым повышая экономию топлива.

  13. ТЕРМИСТОР СИСТЕМЫ КОНДИЦИОНИРОВАНИЯ (ДАТЧИК ТЕМПЕРАТУРЫ ВОЗДУХА В САЛОНЕ)

    Термистор системы кондиционирования (датчик температуры в салоне) определяет температуру в салоне по изменению сопротивления встроенного термистора и передает соответствующий сигнал в блок управления системой кондиционирования.

  14. ТЕРМИСТОР В СБОРЕ

    Термистор определяет температуру окружающего воздуха по изменению сопротивления встроенного термистора и передает соответствующий сигнал в блок управления системой кондиционирования.

  15. ДАТЧИК СИСТЕМЫ АВТОМАТИЧЕСКОГО УПРАВЛЕНИЯ ОСВЕЩЕНИЕМ

    Датчик автоматического управления освещением регистрирует изменение естественной освещенности (путем изменения тока, протекающего через встроенный фотодиод) и передает соответствующие сигналы в блок управления системой кондиционирования.

  16. ДАТЧИК ДАВЛЕНИЯ СИСТЕМЫ КОНДИЦИОНИРОВАНИЯ

    Датчик давления системы кондиционирования определяет давление хладагента и передает результат в блок управления системой кондиционирования в форме изменения напряжения.