СИСТЕМА ОТКРЫВАНИЯ ГАРАЖНОЙ ДВЕРИ РЕГИСТРАЦИЯ

ПОРЯДОК ВЫПОЛНЕНИЯ


  1. ЗАРЕГИСТРИРУЙТЕ КОД ПЕРЕДАТЧИКА

    Tech Tips


    • Система открывания гаражной двери автомобиля регистрирует коды передатчика для таких устройств и систем, как гаражные двери, ворота, входные ворота, дверные замки, системы освещения помещений, охранные системы и прочие системы на базе кода передатчика.

    • Система открывания гаражной двери встроена во внутреннее зеркало заднего вида. В случае замены внутреннего зеркала заднего вида в сборе коды передатчика для всех систем, ранее зарегистрированных в системе открывания гаражной двери, должны быть перерегистрированы.


    1. Перерегистрация кодов в системе открывания гаражных дверей (режим регистрации).

      CAUTION:

      Никогда не регистрируйте код передатчика системы, если рядом с системой располагаются люди или какие-либо предметы. Регистрация кодов передатчика может привести к несчастному случаю или причинить ущерб, так как система может выполнить операцию открывания, закрывания, разблокировки или какую-либо другую.

      Note


      • Перед регистрацией кода передатчика убедитесь, что все электрооборудование (фары, электродвигатель вентилятора, обогреватель заднего стекла и т.д.) выключено, и ключ не находится в салоне автомобиля.

      • Система открывания гаражной двери нельзя использовать с системами, которые:

        (1) Были изготовлены до 1 апреля 1982 г.

        2) Не отвечают требованиям государственным стандартам пот технике безопасности (например, с гаражными дверями без функции травмобезопасности).

      Tech Tips


      • В передатчике системы открывания гаражных дверей можно зарегистрировать не более 3 кодов. Для каждой из 3 кнопок устройства открывания гаражной двери можно зарегистрировать 1 код портативного (оригинального) передатчика.

      • Отсоединение аккумуляторной батареи автомобиля не приводит к удалению кодов передатчика, зарегистрированных с помощью системы открывания гаражных дверей.

      • Попытка перезаписать ранее зарегистрированные коды может оказаться неудачной. В подобном случае ранее зарегистрированный код передатчика не стирается.

      • Для успешного программирования системы открывания гаражных дверей может придется предварительно заменить батарею портативного передатчика.


      1. A01FNO9C01
        *a Контрольная лампа системы ("HomeLink")
        *b Контрольная лампы управления гаражной дверью
        *c Пиктограмма ("HomeLink")
        *d Переключатели системы открывания гаражной двери ("HomeLink")

        Шаг 1:

        Выберите выключатель системы открывания гаражной двери ("HomeLink") для регистрации кода передатчика и убедитесь, что контрольная лампа системы ("HomeLink") мигает.

        Tech Tips

        Выполните шаг 3 в течение 60 секунд после шага 1. В противном случае контрольная лампа прекратит мигать, и завершить программирование будет невозможно.

      2. A01FK7FC01
        *a Портативный передатчик
        *b Переключатели системы открывания гаражной двери ("HomeLink")

        Шаг 2:

        Направьте передатчик пульта дистанционного управления устройства на зеркало заднего вида, на расстоянии 2,5 - 7,5 см (1,0 - 3,0 дюйма) от выключателей системы открывания гаражной двери ("HomeLink").

        Tech Tips

        Следите за контрольной лампой ("HomeLink") во время программирования.

      3. Шаг 3:

        для типа A
        Нажмите и удерживайте кнопку портативного передатчика, пока контрольная лампа ("HomeLink") не перейдет из режима медленного мигания (оранжевым светом) в режим быстрого мигания (зеленым светом) (непрерывно изменяющийся код) или постоянного свечения (зеленым светом) (фиксированный код), а затем отпустите кнопку портативного передатчика.
        для типа B
        Несколько раз нажимайте и отпускайте кнопку портативного передатчика с 2-секундными интервалами, пока контрольная лампа ("HomeLink") не перейдет из режима медленного мигания (оранжевым светом) в режим быстрого мигания (зеленым светом) (непрерывно изменяющийся код) или постоянного свечения (зеленым светом) (фиксированный код).
      4. Шаг 4:

        Проверьте работу системы ("HomeLink"), нажимая вновь запрограммированный выключатель и наблюдая за контрольной лампой.

        Tech Tips


        • Устройство с фиксированным кодом: если контрольная лампа горит непрерывно, то программирование завершено, и устройство должно активироваться при нажатии и отпускании выключателя системы открывания гаражной двери ("HomeLink").

        • Устройство с непрерывно изменяющимся кодом: если контрольная лампа быстро мигает, то электродвигатель системы открывания гаражной двери (или другое устройство) снабжено непрерывно изменяющимся кодом. Завершите процесс программирования, с усилием нажав и удерживая запрограммированный выключатель системы открывания гаражной двери ("HomeLink") в течение 2 секунд, а затем отпустите кнопку портативного передатчика.

        • Если гаражная дверь или другое устройство не работает, перейдите к разделу "Программирование системы с непрерывно изменяющимся кодом".

      5. Если регистрация кода передатчика проходит успешно, контрольная лампа системы открывания гаражной двери ("HomeLink") мигает (зеленым светом) с частотой 10 Гц (быстро). При отсутствии сбоев отпустите выключатель системы открывания гаражной двери ("HomeLink") и кнопку портативного передатчика.

        A01FMR1C02
        *A для типа A - -
        A01FNUHC05
        *A для типа B - -

        Tech Tips


        • Если регистрацию кода передатчика выполнить не удалось:

          (1) Батарея в портативном передатчике разрядилась или нуждается в замене.

          (2) Портативный передатчик и регистрируемое устройство открывания не совместимы с системой открывания гаражных дверей.

        • Сигналы некоторых передатчиков прекращают выдаваться спустя 1-2 с. При работе с такими передатчиками:

          (1) Нажмите и удерживайте один из выключателей системы открывания гаражной двери ("HomeLink").

          (2) Нажимайте и отпускайте кнопку портативного передатчика каждые 2 секунды. Убедитесь, что код передатчика успешно зарегистрирован.

        • Регистрация кода передатчика должна быть завершена в течение 90 с после перехода в режим регистрации системы открывания гаражной двери. По истечении 55 с механизм гаражной двери перейдет в энергосберегающий режим (см. "Энергосберегающий режим" ниже).

      6. Повторите описанные выше шаги для программирования другого устройства для любого из оставшихся выключателей системы открывания гаражной двери ("HomeLink").

    2. A01FNO9C02
      *a Контрольная лампа системы ("HomeLink")
      *b Переключатель системы открывания гаражной двери ("HomeLink") 1
      *c Переключатель системы открывания гаражной двери ("HomeLink") 3

      Удаление кодов передатчика в системе открывания гаражных дверей (режим удаления кодов).

      Tech Tips

      Удаляются все 3 зарегистрированных кода передатчика. Удалить только 1 код передатчика невозможно.


      1. Нажмите и удерживайте выключатели 1 и 3 системы открывания гаражной двери ("HomeLink") в течение 10 секунд, пока контрольная лампа системы ("HomeLink") не перейдет из режима постоянного свечения оранжевым светом в режим быстрого мигания зеленым светом.

        A01FOHUE01
    3. Энергосберегающий режим:


      1. Если удерживать кнопку системы открывания гаражной двери ("HomeLink") в нажатом состоянии в течение 55 секунд и более, система открывания гаражной двери переходит в энергосберегающий режим для экономии потребляемой энергии. После перехода системы открывания гаражной двери в энергосберегающий режим контрольная лампа системы ("HomeLink") выключается.

  2. СИСТЕМЫ С НЕПРЕРЫВНО ИЗМЕНЯЮЩИМСЯ КОДОМ


    1. A01FNV6C05
      *a Пример
      *b Кнопка обучения

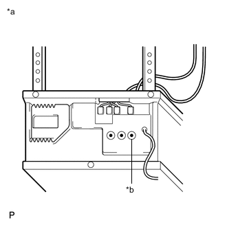
      Если портативный передатчик для программируемого устройства открывания (гаражной двери клиента) использует непрерывно изменяющиеся коды, может придется провести "обучение" устройства открывания гаражной двери.

      Tech Tips


      • "Обучение" состоит в наделении устройства открывания (механизма открывания потолочной двери гаража клиента) способностью распознавать неизменяющийся код.

      • Процедуры, необходимые для "обучения" устройства открывания, могут зависеть от модели, типа, года выпуска и производителя устройства.


      1. Определите местонахождение кнопки обучения на устройстве открывания.

      2. Нажмите кнопку обучения.

      3. В течение 30 секунд дважды нажмите и отпустите запрограммированную кнопку "система открывания гаражной двери ("HomeLink")". Некоторые устройства открывания могут потребовать троекратного нажатия кнопки "система открывания гаражной двери ("HomeLink")".

        Tech Tips

        После этого система открывания гаражных дверей может управлять работой устройства открывания. Под устройством открывания понимается устройство типа механизма открывания потолочной двери гаража, находящегося по месту жительства клиента. Для безопасного и успешного выполнения описанной выше процедуры необходимо ознакомиться с инструкциями по эксплуатации устройства открывания, используемого клиентом. Клиент должен быть уведомлен, что выполнение данной процедуры приведет к снижению уровня защиты, обеспечиваемого устройством открывания.