СИСТЕМА НАВИГАЦИИ Цепь сигнала скорости автомобиля между компонентным стереоусилителем и щитком приборов

ОПИСАНИЕ

Для управления функцией ASL компонентный стереоусилитель в сборе получает сигнал скорости автомобиля от щитка приборов.

Tech Tips


  • Напряжение 12 В или 5 В выдается каждым ЭБУ, а затем подается в щиток приборов в сборе. Сигнал преобразуется в последовательность импульсов транзисторным преобразователем щитка приборов. Каждый ЭБУ управляет соответствующей системой в соответствии с этим импульсным сигналом.

  • При коротком замыкании в одном из ЭБУ или жгуте проводов, подключенном к какому-либо ЭБУ, ни одна из систем, указанных в приведенной ниже блок-схеме, не будет работать должным образом.

СХЕМА ЭЛЕКТРИЧЕСКИХ СОЕДИНЕНИЙ

A01VOF0E02

ПОРЯДОК ВЫПОЛНЕНИЯ


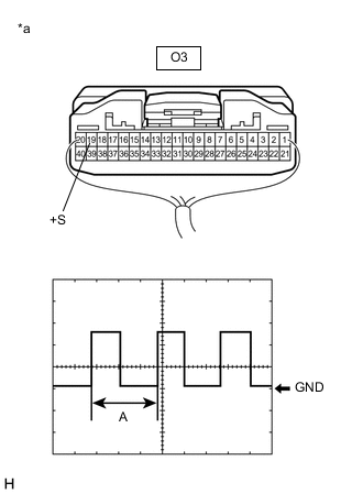
  1. ПРОВЕРЬТЕ ЩИТОК ПРИБОРОВ В СБОРЕ (ФОРМУ ВЫХОДНОГО СИГНАЛА)


    1. A01VMSYC23
      *a

      Устройство с подсоединенным жгутом проводов

      (щиток приборов в сборе)

      Проверьте форму выходного сигнала.


      1. Снимите щиток приборов в сборе с подсоединенным разъемом.

      2. Подсоедините осциллограф к контакту O3-19 (+S) и массе.

      3. Включите зажигание (IG).

      4. Медленно поверните колесо.

      5. Проверьте форму сигнала в соответствии с условиями, указанными в таблице ниже.

        Параметр / Устройство Условие
        Контакты, на которых выполняются измерения O3-19 (+S) - масса
        Настройки прибора 5 В/дел., 20 мс/ дел.
        Состояние автомобиля Колесо вращается
        OK
        Форма сигнала похожа на показанную на рисунке.

        Tech Tips

        Когда система функционирует нормально, за один оборот колеса формируется 4 импульса. По мере увеличения скорости автомобиля период (A), отмеченный на рисунке, уменьшается.

      Результат
      Перейти к
      OK
      NG

    NG
    OK
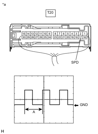
  2. ПРОВЕРЬТЕ КОМПОНЕНТНЫЙ СТЕРЕОУСИЛИТЕЛЬ В СБОРЕ (ФОРМУ ВХОДНОГО СИГНАЛА)


    1. A01VNIUC03
      *a

      Устройство с подсоединенным жгутом проводов

      (компонентный стереоусилитель в сборе)

      Проверьте форму входного сигнала.


      1. Снимите компонентный стереоусилитель в сборе, не отсоединяя разъема.

      2. Подключите осциллограф к контакту T20-17 (SPD) и массе.

      3. Включите зажигание (IG).

      4. Медленно поверните колесо.

      5. Проверьте форму сигнала в соответствии с условиями, указанными в таблице ниже.

        Параметр / Устройство Условие
        Контакты, на которых выполняются измерения T20-17 (SPD) - масса
        Настройки прибора 5 В/дел., 20 мс/ дел.
        Состояние автомобиля Колесо вращается
        OK
        Форма сигнала похожа на показанную на рисунке.

        Tech Tips

        Когда система функционирует нормально, за один оборот колеса формируется 4 импульса. По мере увеличения скорости автомобиля период (A), отмеченный на рисунке, уменьшается.

      Результат
      Перейти к
      OK
      NG

    OK
    NG