СИСТЕМА КУРСОВОЙ УСТОЙЧИВОСТИ, Diagnostic DTC:C1361, C146C, C146D

Код DTC Наименование DTC
C1361 Короткое замыкание в цепи реле аварийного режима работы электродвигателя ABS
C146C Обрыв в цепи реле двигателя ABS
C146D Обрыв в цепи реле электродвигателя ABS

ОПИСАНИЕ

Эти коды DTC сохраняются при обнаружении неисправности в ЭБУ системы противоскольжения (блоке управления рабочими цилиндрами тормозов).

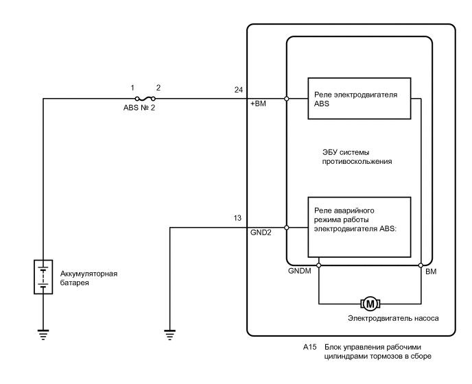
Реле электродвигателя АБС подает питание на электродвигатель насоса. Когда АБС включена, ЭБУ включает реле электродвигателя ABS и управляет двигателем насоса.

Эти коды DTC могут сохраняться, когда напряжение, подаваемое на реле электродвигателя ABS (+BM), оказывается ниже порога регистрации DTC из-за низкого напряжения аккумуляторной батареи или генератора.

№ DTC Неисправность Условие обнаружения DTC Неисправный участок
C1361 Короткое замыкание в цепи реле аварийного режима работы электродвигателя ABS Сразу же после включения зажигания (IG) контакт реле замыкается на 4 с при выключенном реле аварийного режима электродвигателя АБС.
  • Цепь реле аварийного режима двигателя АБС

  • ЭБУ системы противоскольжения (блок управления рабочими цилиндрами тормозов в сборе)

C146C Обрыв в цепи реле двигателя ABS

При выполнении одного из следующих условий:


  1. В течение не менее 0,12 с выполняются все следующие условия.


    • Напряжение на контакте IG1 составляет не менее 9,5 В.


    • Выполняется первоначальная проверка, и работает АБС, BA, TRC или VSC.


    • Контакт реле остается разомкнутым, когда реле включено.

  2. В течение 0,12 с или дольше выполняются оба следующих условия.


    • Напряжение на контакте IG1 составляет менее 9,5 В.

    • Контакт реле остается разомкнутым, когда реле включено.


  • Предохранитель ABS № 2

  • Цепь реле электродвигателя ABS

  • ЭБУ системы противоскольжения (блок управления рабочими цилиндрами тормозов в сборе)

C146D Обрыв в цепи реле электродвигателя АБС Когда реле электродвигателя ABS выключено, реле электродвигателя ABS остается замкнутым в течение 4 с или более. ЭБУ системы противоскольжения (блок управления рабочими цилиндрами тормозов в сборе)

Tech Tips

Для C146C: Даже после устранения неисправностей контрольная лампа ABS выключается только после выполнения следующих операций:


  1. Совершите поездку на автомобиле со скоростью 30 км/час (19 миль в час) в течение не менее 30 с и убедитесь, что контрольная лампа ABS погасла.

  2. Удалите коды DTC.

СХЕМА ЭЛЕКТРИЧЕСКИХ СОЕДИНЕНИЙ

A01VOG8E01

ПРЕДОСТЕРЕЖЕНИЕ / ПРИМЕЧАНИЕ / УКАЗАНИЕ

Note


  • В случае замены ЭБУ системы противоскольжения (блока управления рабочими цилиндрами тормозов в сборе) выполните калибровку "нуля" датчика и сохраните системную информацию.

    Нажмите здесь Click here

  • Перед выполнением последующей процедуры проверки проверьте плавкие предохранители цепей, относящихся к данной системе.

Tech Tips

Если совместно с C1361, C146C и/или C146D выводятся коды C1241 и/или C1417, сначала следует проверить и отремонтировать неисправные узлы, на которые указывают коды C1241 и/или C1417.

Для моделей с C1241: Нажмите здесь Click here

Для моделей с C1417: Нажмите здесь Click here

ПОРЯДОК ВЫПОЛНЕНИЯ


  1. ПРОВЕРЬТЕ ЖГУТ ПРОВОДОВ И РАЗЪЕМ (КОНТАКТ +BM)


    1. A01VOCNC42
      *a

      Вид спереди разъема со стороны жгута проводов:

      (к ЭБУ системы противоскольжения (блоку управления рабочими цилиндрами тормозов))

      Проверьте, не ослаблены ли фиксирующая и соединительная части разъема.

    2. Отсоедините разъем A15 ЭБУ системы противоскольжения (блока управления рабочими цилиндрами тормозов в сборе).

    3. Измерьте напряжение в соответствии со значениями, приведенными в таблице.

      Номинальное напряжение
      Подключение диагностического прибора Условие Заданные условия
      A15-24 (+BM) - масса Всегда 11 - 14 В
      Результат
      Перейти к
      OK
      NG

    NG
    OK
  2. ПРОВЕРЬТЕ ЖГУТ ПРОВОДОВ И РАЗЪЕМ (КОНТАКТ GND2)


    1. A01VOCNC32
      *a

      Вид спереди разъема со стороны жгута проводов:

      (к ЭБУ системы противоскольжения (блоку управления рабочими цилиндрами тормозов))

      Измерьте сопротивление в соответствии со значениями, приведенными в таблице ниже.

      Номинальное сопротивление
      Подключение диагностического прибора Значение Заданные условия
      A15-13 (GND2) - масса Всегда Менее 1 Ом
      Результат
      Следующий шаг
      OK
      NG

    NG
    OK
  3. СНОВА ПРОВЕРЬТЕ DTC

    Tech Tips

    Реле электродвигателя ABS находится в ЭБУ системы противоскольжения (блоке управления рабочими цилиндрами тормозов в сборе). Поэтому выполнить проверку реле двигателя ABS и блока реле электродвигателя ABS невозможно. Перед заменой ЭБУ системы противоскольжения (блока управления рабочими цилиндрами тормозов) обязательно повторно проверьте, не выводится ли какие-либо коды DTC.


    1. Подсоедините разъем A15 ЭБУ системы противоскольжения (блока управления рабочими цилиндрами тормозов в сборе).

    2. Выключите зажигание.

    3. Сбросьте коды DTC.

      Нажмите здесь Click here


      Chassis > ABS/VSC/TRC > Clear DTCs
    4. Выключите зажигание.

    5. Запустите двигатель.

    6. Проведите дорожные испытания.

    7. Проверьте, выводится ли такой же DTC.

      Нажмите здесь Click here


      Chassis > ABS/VSC/TRC > Trouble Codes
      Результат
      Результат Следующий шаг
      Коды DTC C1361, C146C и C146D не выводятся. А
      Коды DTC C1361, C146C и/или C146D выводятся. B

      Tech Tips


      • Если при включенном зажигании (IG) и выключенном выключателе стоп-сигналов в ЭБУ системы противоскольжения (блок управления рабочими цилиндрами тормозов) направляется сигнал скорости 6 км/час (4 мили в час) или более, ЭБУ выполняет самодиагностику цепей двигателя и электромагнитного клапана.

      • Если выводится код нормальной работы системы (коды DTC не выводятся), слегка покачайте разъемы, жгуты проводов и предохранители ЭБУ системы противоскольжения (блока управления рабочими цилиндрами тормозов).

      • Если при покачивании разъема или жгута проводов ЭБУ системы противоскольжения (блока управления рабочими цилиндрами тормозов) выводятся какие-либо коды DTC, проверьте и отремонтируйте разъем или жгут проводов.

      • Если коды DTC не выводились при повторном подтверждении кодов DTC, необходима проверка наличия эпизодических неисправностей из-за подозрения на то, что исходные коды DTC были сохранены вследствие плохого соединения контакта разъема.


    А
    B