СИСТЕМА КУРСОВОЙ УСТОЙЧИВОСТИ, Diagnostic DTC:C1273, C1274, C1277, C1278, C1415, C1416

Код DTC Наименование DTC
C1273 Слабый выходной сигнал заднего правого датчика частоты вращения (DTC режима активной диагностики)
C1274 Слабый выходной сигнал заднего левого датчика частоты вращения (DTC режима активной диагностики)
C1277 Ненормальное изменение выходного сигнала заднего правого датчика частоты вращения (DTC режима активной диагностики)
C1278 Ненормальное изменение выходного сигнала левого заднего датчика частоты вращения (DTC режима активной диагностики)
C1415 Сбой выходного напряжения правого заднего датчика частоты вращения
C1416 Сбой выходного напряжения левого заднего датчика частоты вращения

ОПИСАНИЕ

Каждый датчик частоты вращения определяет частоту вращения колеса и передает сигналы в ЭБУ системы противоскольжения (блок управления рабочими цилиндрами тормозов). Эти сигналы используются системой АБС.

На роторах датчиков частоты вращения находятся ряды чередующихся магнитных полюсов N и S. Датчики частоты вращения формируют импульсы, частота которых зависит от скорости автомобиля. Поскольку датчик формирует цифровые импульсы, он может определять скорость автомобиля, когда автомобиль почти неподвижен.

При передаче датчиком частоты вращения сигнала скорости автомобиля или выходе из режима активной диагностики DTC C1273, C1274, C1277 и C1278 удаляются. Коды DTC C1273, C1274, C1277 и C1278 выводятся только в режиме активной диагностики.

A01VMNBE06

Tech Tips

Проверьте соединение разъема датчика и жгута проводов автомобиля.

№ DTC Неисправность Условие обнаружения DTC Неисправный участок
C1273 Слабый выходной сигнал заднего правого датчика частоты вращения (DTC режима активной диагностики) Регистрируется только в режиме активной диагностики.
  • Правый задний датчик частоты вращения

  • Установка датчика

  • Ротор правого заднего датчика частоты вращения (ступица и подшипник заднего правого колеса в сборе)

C1274 Слабый выходной сигнал заднего левого датчика частоты вращения (DTC режима активной диагностики) Регистрируется только в режиме активной диагностики.
  • Левый задний датчик частоты вращения

  • Установка датчика

  • Ротор левого заднего датчика частоты вращения (ступица и подшипник заднего левого колеса в сборе)

C1277 Ненормальное изменение выходного сигнала заднего правого датчика частоты вращения (DTC режима активной диагностики) Регистрируется только в режиме активной диагностики. Ротор правого заднего датчика частоты вращения (ступица и подшипник заднего правого колеса в сборе)
C1278 Ненормальное изменение выходного сигнала левого заднего датчика частоты вращения (DTC режима активной диагностики) Регистрируется только в режиме активной диагностики. Ротор левого заднего датчика частоты вращения (ступица и подшипник заднего левого колеса в сборе)
C1415 Сбой выходного напряжения правого заднего датчика частоты вращения

При выполнении любого из следующих условий:


  1. Обрыв в сигнальной цепи датчика на неисправном участке регистрировался не менее 255 раз.

  2. На скорости автомобиля 20 км/час (12 миль в час) или выше в сигналах датчика колеса, работа которого нарушена, не менее 75 раз в течение 5 с регистрировался шум.

  3. На скорости автомобиля 10 км/час (6 миль в час) или выше в течение не менее 15 с регистрировалось однократное появление шума при каждом обороте ротора.


  • Правый задний датчик частоты вращения

  • Цепь датчика частоты вращения

  • Установка датчика

  • Ротор правого заднего датчика частоты вращения (ступица и подшипник заднего правого колеса в сборе)

  • ЭБУ системы противоскольжения (блок управления рабочими цилиндрами тормозов в сборе)

C1416 Сбой выходного напряжения левого заднего датчика частоты вращения

При выполнении любого из следующих условий:


  1. Обрыв в сигнальной цепи датчика на неисправном участке регистрировался не менее 255 раз.

  2. На скорости автомобиля 20 км/час (12 миль в час) или выше в сигналах датчика колеса, работа которого нарушена, не менее 75 раз в течение 5 с регистрировался шум.

  3. На скорости автомобиля 10 км/час (6 миль в час) или выше в течение не менее 15 с регистрировалось однократное появление шума при каждом обороте ротора.


  • Левый задний датчик частоты вращения

  • Цепь датчика частоты вращения

  • Установка датчика

  • Ротор левого заднего датчика частоты вращения (ступица и подшипник заднего левого колеса в сборе)

  • ЭБУ системы противоскольжения (блок управления рабочими цилиндрами тормозов в сборе)

Tech Tips

Для C1415 и C1416: Даже после устранения неисправностей контрольная лампа ABS выключается только после выполнения следующих операций:


  1. Совершите поездку на автомобиле со скоростью 30 км/час (19 миль в час) в течение не менее 30 с и убедитесь, что контрольная лампа ABS погасла.

  2. Удалите коды DTC.

Tech Tips


  • DTC C1415 указывает на неисправность правого заднего датчика частоты вращения.

  • DTC C1416 указывает на неисправность левого заднего датчика частоты вращения.

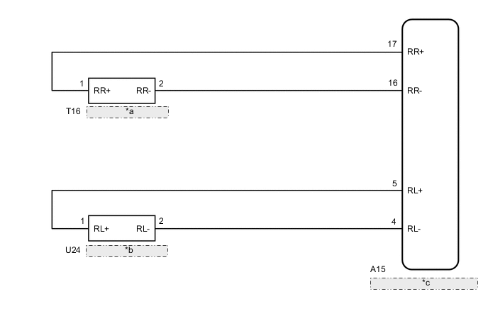
СХЕМА ЭЛЕКТРИЧЕСКИХ СОЕДИНЕНИЙ

A01VO7QE47
*a Правый задний датчик частоты вращения
*b Левый задний датчик частоты вращения
*c ЭБУ системы противоскольжения (блок управления рабочими цилиндрами тормозов в сборе)

ПРЕДОСТЕРЕЖЕНИЕ / ПРИМЕЧАНИЕ / УКАЗАНИЕ

Note

В случае замены ЭБУ системы противоскольжения (блока управления рабочими цилиндрами тормозов в сборе) выполните калибровку "нуля" датчика и сохраните системную информацию.

Нажмите здесь Click here

ПОРЯДОК ВЫПОЛНЕНИЯ


  1. ПРОВЕРЬТЕ ЖГУТ И РАЗЪЕМ (НА НАЛИЧИЕ КРАТКОВРЕМЕННОГО РАЗМЫКАНИЯ)


    1. С помощью GTS проверьте, нет ли кратковременных размыканий в жгуте проводов и разъеме, соответствующих DTC.

      Нажмите здесь Click here


      Chassis > ABS/VSC/TRC > Data List
      Информация на дисплее прибора Измеряемая величина Диапазон Нормальное состояние Замечание по диагностике
      RR Speed Open Обрыв в цепи правого заднего датчика частоты вращения Error или Normal

      Error: кратковременное прерывание

      Normal: нормальное состояние

      -
      RL Speed Open Обрыв в цепи левого заднего датчика частоты вращения Error или Normal

      Error: кратковременное прерывание

      Normal: нормальное состояние

      -

      Chassis > ABS/VSC/TRC > Data List
      Информация на дисплее прибора
      RR Speed Open
      RL Speed Open
      OK
      Отсутствие кратковременных размыканий.

      Tech Tips

      Описанную выше проверку следует выполнять перед снятием датчика и отсоединением разъема.

      Результат
      Следующий шаг
      OK
      NG

    NG
    OK
  2. СНИМИТЕ ПОКАЗАНИЯ GTS (ЗАДНИЙ ДАТЧИК ЧАСТОТЫ ВРАЩЕНИЯ)


    1. Выключите зажигание.

    2. Подключите GTS к DLC3.

    3. Запустите двигатель.

    4. Выберите Data List на дисплее GTS.

      Нажмите здесь Click here


      Chassis > ABS/VSC/TRC > Data List
      Информация на дисплее прибора Измеряемая величина Диапазон Нормальное состояние Замечание по диагностике
      RR Wheel Speed Показания датчика частоты вращения правого заднего колеса Мин.: 0 км/час (0 миль в час), макс.: 326 км/час (202 мили в час) Автомобиль неподвижен: 0 км/час (0 миль в час) При движении с постоянной скоростью: нет больших колебаний
      RL Wheel Speed Показания датчика частоты вращения левого заднего колеса Мин.: 0 км/час (0 миль в час), макс.: 326 км/час (202 мили в час) Автомобиль неподвижен: 0 км/час (0 миль в час) При движении с постоянной скоростью: нет больших колебаний

      Chassis > ABS/VSC/TRC > Data List
      Информация на дисплее прибора
      RR Wheel Speed
      RL Wheel Speed
    5. Проверьте показание датчика частоты вращения на экране GTS.

      Tech Tips

      На отображаемую скорсть автомобиля влияют такие факторы, как размер, давление в шинах и износ шин. Скорость, отображаемая на спидометре, имеет допустимую погрешность. Ее можно определить с помощью стенда проверки спидометра (откалиброванного динамометрического стенда). Подробная информация о проверке и допустимой погрешности приведена в справочной таблице.

      Нажмите здесь Click here

      OK
      Значение скорости, передаваемое датчиком частоты вращения и отображаемое на GTS, совпадает с показаниями спидометра.
      Результат
      Перейти к
      OK
      NG

    NG
    OK
  3. СНОВА ПРОВЕРЬТЕ DTC


    1. Выключите зажигание.

    2. Удалите коды DTC.

      Нажмите здесь Click here


      Chassis > ABS/VSC/TRC > Clear DTCs
    3. Выключите зажигание.

    4. Запустите двигатель.

    5. Проведите дорожные испытания.

    6. Проверьте, выводится ли такой же DTC.

      Нажмите здесь Click here


      Chassis > ABS/VSC/TRC > Trouble Codes
      Результат
      Результат Следующий шаг
      Коды DTC C1415 и C1416 не выводятся. А
      DTC C1415 и/или C1416 выводятся. B

      Tech Tips

      Если поиск неисправностей выполнялся в соответствии с таблицей признаков неисправностей, перед заменой деталей вернитесь к таблице и перейдите к следующему шагу.

      Нажмите здесь Click here


    А
    B
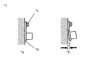
  4. ПРОВЕРЬТЕ МОНТАЖ ЗАДНЕГО ДАТЧИКА ЧАСТОТЫ ВРАЩЕНИЯ


    1. Выключите зажигание.

    2. A01VNTAC10
      *1 Задний датчик частоты вращения
      *a Правильно
      *b Неправильно
      *c 8,5 Н*м
      *d Отсутствие зазора

      Проверьте монтаж датчика частоты вращения.

      OK
      Между датчиком и кулаком задней подвески отсутствует зазор.
      Установочный болт затянут правильно.
      Крутящий момент
      8,5 Н*м (87 кгс*см, 75 фунт-сила-дюймов)
      Результат
      Перейти к
      OK
      NG

    NG
    OK
  5. ПРОВЕРЬТЕ ЗАДНИЙ ДАТЧИК ЧАСТОТЫ ВРАЩЕНИЯ И РОТОР ДАТЧИКА


    1. Снимите задний датчик частоты вращения и узел с ротором датчика.

      для датчика частоты вращения: Нажмите здесь Click here

      для ротора датчика: Нажмите здесь Click here

    2. Проверьте наконечник и ротор датчика частоты вращения.

      OK
      Отсутствие царапин, масла и посторонних частиц на наконечнике датчика и роторе.

      Note


      • Если в ходе данной проверки повреждения наконечника датчика частоты вращения не обнаружены, не заменяйте датчик частоты вращения.

      • Если к ротору пристала железная стружка, это приведет к неправильной работе датчика, поэтому перед заменой датчика убедитесь, что ротор не загрязнен посторонними частицами.

      • Проверьте сигнал датчика частоты вращения после очистки или замены.

        Нажмите здесь Click here

      Результат
      Перейти к
      OK
      NG

    NG
    OK
  6. ПРОВЕРЬТЕ ЖГУТ ПРОВОДОВ И РАЗЪЕМ (БЛОК УПРАВЛЕНИЯ РАБОЧИМИ ЦИЛИНДРАМИ ТОРМОЗОВ В СБОРЕ – ЗАДНИЙ ДАТЧИК ЧАСТОТЫ ВРАЩЕНИЯ)


    1. Проверьте, не ослаблены ли фиксирующая и соединительная части разъема.

    2. Отсоедините разъем A15 ЭБУ системы противоскольжения (блока управления рабочими цилиндрами тормозов в сборе).

    3. Отсоедините разъем T16 или U24 заднего датчика частоты вращения.

    4. Измерьте сопротивление в соответствии со значениями, приведенными в таблице ниже.

      Номинальное сопротивление
      Для правой стороны
      Подключение диагностического прибора Условие Заданные условия
      A15-17 (RR+) - T16-1 (RR+) Всегда Менее 1 Ом
      A15-17 (RR+) или T16-1 (RR+) - масса Всегда 10 кОм или более
      A15-16 (RR-) - T16-2 (RR-) Всегда Менее 1 Ом
      A15-16 (RR-) или T16-2 (RR-) - масса Всегда 10 кОм или более
      Для левой стороны
      Подключение диагностического прибора Условие Заданные условия
      A15-5 (RL+) - U24-1 (RL+) Всегда Менее 1 Ом
      A15-5 (RL+) или U24-1 (RL+) - масса Всегда 10 кОм или более
      A15-4 (RL-) - U24-2 (RL-) Всегда Менее 1 Ом
      A15-4 (RL-) или U24-2 (RL-) - масса Всегда 10 кОм или более
      Результат
      Следующий шаг
      OK
      NG

    NG
    OK
  7. ПРОВЕРЬТЕ БЛОК УПРАВЛЕНИЯ РАБОЧИМИ ЦИЛИНДРАМИ ТОРМОЗОВ В СБОРЕ (ВХОДНОЙ СИГНАЛ ДАТЧИКА)


    1. A01VO3QC01
      *A Для правой стороны
      *B Для левой стороны
      *a

      Вид спереди разъема со стороны жгута проводов:

      (к заднему датчику частоты вращения)

      Подсоедините разъем A15 ЭБУ системы противоскольжения (блока управления рабочими цилиндрами тормозов в сборе).

    2. Включите зажигание (IG).

    3. Измерьте напряжение в соответствии со значениями, приведенными в таблице.

      Номинальное напряжение
      Для правой стороны
      Подключение диагностического прибора Условие Заданные условия
      T16-1 (RR+) - масса Зажигание включено (IG) 5,7-14 В
      Для левой стороны
      Подключение диагностического прибора Условие Заданные условия
      U24-1 (RL+) - масса Зажигание включено (IG) 5,7-14 В

      Note

      Проверьте сигнал датчика частоты вращения после замены.

      Нажмите здесь Click here

      Tech Tips

      Если поиск неисправностей выполнялся в соответствии с таблицей признаков неисправностей, перед заменой деталей вернитесь к таблице и перейдите к следующему шагу.

      Нажмите здесь Click here

      Результат
      Следующий шаг
      OK
      NG

    OK
    NG