СИСТЕМА КУРСОВОЙ УСТОЙЧИВОСТИ, Diagnostic DTC:C1271, C1272, C1275, C1276, C1413, C1414

Код DTC Наименование DTC
C1271 Слабый выходной сигнал правого переднего датчика частоты вращения (DTC режима активной диагностики)
C1272 Слабый выходной сигнал левого переднего датчика частоты вращения (DTC режима активной диагностики)
C1275 Ненормальное изменение выходного сигнала правого переднего датчика частоты вращения (DTC режима активной диагностики)
C1276 Ненормальное изменение выходного сигнала левого переднего датчика частоты вращения (DTC режима активной диагностики)
C1413 Сбой выходного напряжения правого переднего датчика частоты вращения
C1414 Сбой выходного напряжения левого переднего датчика частоты вращения

ОПИСАНИЕ

Каждый датчик частоты вращения определяет частоту вращения колеса и передает сигналы в ЭБУ системы противоскольжения (блок управления рабочими цилиндрами тормозов). Эти сигналы используются системой АБС.

На роторах датчиков частоты вращения находятся ряды чередующихся магнитных полюсов N и S. Датчики частоты вращения формируют импульсы, частота которых зависит от скорости автомобиля. Поскольку датчик формирует цифровые импульсы, он может определять скорость автомобиля, когда автомобиль почти неподвижен.

При передаче датчиком частоты вращения сигнала скорости автомобиля или выходе из режима активной диагностики DTC C1271, C1272, C1275 и C1276 удаляются. Коды DTC C1271, C1272, C1275 и C1276 выводятся только в режиме активной диагностики.

A01VNPEE35

Tech Tips

Проверьте соединение разъема датчика и жгута проводов автомобиля.

№ DTC Неисправность Условие обнаружения DTC Неисправный участок
C1271 Слабый выходной сигнал правого переднего датчика частоты вращения (DTC режима активной диагностики) Регистрируется только в режиме активной диагностики.
  • Установка датчика

  • Правый передний датчик частоты вращения (ступица правого переднего колеса в сборе)

C1272 Слабый выходной сигнал левого переднего датчика частоты вращения (DTC режима активной диагностики) Регистрируется только в режиме активной диагностики.
  • Установка датчика

  • Левый передний датчик частоты вращения (ступица левого переднего колеса в сборе)

C1275 Ненормальное изменение выходного сигнала правого переднего датчика частоты вращения (DTC режима активной диагностики) Регистрируется только в режиме активной диагностики. Ротор правого переднего датчика частоты вращения (ступица правого переднего колеса в сборе)
C1276 Ненормальное изменение выходного сигнала левого переднего датчика частоты вращения (DTC режима активной диагностики) Регистрируется только в режиме активной диагностики. Ротор левого переднего датчика частоты вращения (ступица левого переднего колеса в сборе)
C1413 Сбой выходного напряжения правого переднего датчика частоты вращения

При выполнении любого из следующих условий:


  1. Обрыв в сигнальной цепи датчика на неисправном участке регистрировался не менее 255 раз.

  2. На скорости автомобиля 20 км/час (12 миль в час) или выше в сигналах датчика колеса, работа которого нарушена, не менее 75 раз в течение 5 с регистрировался шум.

  3. На скорости автомобиля 10 км/час (6 миль в час) или выше в течение не менее 15 с регистрировалось однократное появление шума при каждом обороте ротора.


  • Установка датчика

  • Правый передний датчик частоты вращения (ступица правого переднего колеса в сборе)

  • Ротор правого переднего датчика частоты вращения (ступица правого переднего колеса в сборе)

  • Цепь датчика частоты вращения

  • ЭБУ системы противоскольжения (блок управления рабочими цилиндрами тормозов в сборе)

C1414 Сбой выходного напряжения левого переднего датчика частоты вращения

При выполнении любого из следующих условий:


  1. Обрыв в сигнальной цепи датчика на неисправном участке регистрировался не менее 255 раз.

  2. На скорости автомобиля 20 км/час (12 миль в час) или выше в сигналах датчика колеса, работа которого нарушена, не менее 75 раз в течение 5 с регистрировался шум.

  3. На скорости автомобиля 10 км/час (6 миль в час) или выше в течение не менее 15 с регистрировалось однократное появление шума при каждом обороте ротора.


  • Установка датчика

  • Левый передний датчик частоты вращения (ступица левого переднего колеса в сборе)

  • Ротор левого переднего датчика частоты вращения (ступица левого переднего колеса в сборе)

  • Цепь датчика частоты вращения

  • ЭБУ системы противоскольжения (блок управления рабочими цилиндрами тормозов в сборе)

Tech Tips

Для C1413 и C1414: Даже после устранения неисправностей контрольная лампа ABS выключается только после выполнения следующих операций:


  1. Совершите поездку на автомобиле со скоростью 30 км/час (19 миль в час) в течение не менее 30 с и убедитесь, что контрольная лампа ABS погасла.

  2. Удалите коды DTC.

Tech Tips


  • DTC C1413 указывает на неисправность правого переднего датчика частоты вращения.

  • DTC C1414 указывает на неисправность левого переднего датчика частоты вращения.

СХЕМА ЭЛЕКТРИЧЕСКИХ СОЕДИНЕНИЙ

A01VNBME12

ПРЕДОСТЕРЕЖЕНИЕ / ПРИМЕЧАНИЕ / УКАЗАНИЕ

Note

В случае замены ЭБУ системы противоскольжения (блока управления рабочими цилиндрами тормозов в сборе) выполните калибровку "нуля" датчика и сохраните системную информацию.

Нажмите здесь Click here

ПОРЯДОК ВЫПОЛНЕНИЯ


  1. ПРОВЕРЬТЕ ЖГУТ И РАЗЪЕМ (НА НАЛИЧИЕ КРАТКОВРЕМЕННОГО РАЗМЫКАНИЯ)


    1. С помощью GTS проверьте, нет ли кратковременных размыканий в жгуте проводов и разъеме, соответствующих DTC.

      Нажмите здесь Click here


      Chassis > ABS/VSC/TRC > Data List
      Информация на дисплее прибора Измеряемая величина Диапазон Нормальное состояние Замечание по диагностике
      FR Speed Open Обрыв в цепи правого переднего датчика частоты вращения Error или Normal

      Error: кратковременное прерывание

      Normal: нормальное состояние

      -
      FL Speed Open Обрыв в цепи левого переднего датчика частоты вращения Error или Normal

      Error: кратковременное прерывание

      Normal: нормальное состояние

      -

      Chassis > ABS/VSC/TRC > Data List
      Информация на дисплее прибора
      FR Speed Open
      FL Speed Open
      OK
      Отсутствие кратковременных размыканий.

      Tech Tips

      Описанную выше проверку следует выполнять перед снятием датчика и отсоединением разъема.

      Результат
      Результат
      OK
      NG

    NG
    OK
  2. СНИМИТЕ ПОКАЗАНИЕ GTS (ДЛЯ ПЕРЕДНЕГО ДАТЧИКА ЧАСТОТЫ ВРАЩЕНИЯ)


    1. Выключите зажигание.

    2. Подключите GTS к DLC3.

    3. Запустите двигатель.

    4. Выберите Data List на дисплее GTS.

      Нажмите здесь Click here


      Chassis > ABS/VSC/TRC > Data List
      Информация на дисплее прибора Измеряемая величина Диапазон Нормальное состояние Замечание по диагностике
      FR Wheel Speed Показания датчика частоты вращения правого переднего колеса Мин.: 0 км/час (0 миль в час), макс.: 326 км/час (202 мили в час) Автомобиль неподвижен: 0 км/час (0 миль в час) При движении с постоянной скоростью: нет больших колебаний
      FL Wheel Speed Показания датчика частоты вращения левого переднего колеса Мин.: 0 км/час (0 миль в час), макс.: 326 км/час (202 мили в час) Автомобиль неподвижен: 0 км/час (0 миль в час) При движении с постоянной скоростью: нет больших колебаний

      Chassis > ABS/VSC/TRC > Data List
      Информация на дисплее прибора
      FR Wheel Speed
      FL Wheel Speed
    5. Проверьте показание датчика частоты вращения на экране GTS.

      Tech Tips

      На отображаемую скорсть автомобиля влияют такие факторы, как размер, давление в шинах и износ шин. Скорость, отображаемая на спидометре, имеет допустимую погрешность. Ее можно определить с помощью стенда проверки спидометра (откалиброванного динамометрического стенда). Подробная информация о проверке и допустимой погрешности приведена в справочной таблице.

      Нажмите здесь Click here

      OK
      Значение скорости, передаваемое датчиком частоты вращения и отображаемое на GTS, совпадает с показаниями спидометра.
      Результат
      Результат
      OK
      NG

    NG
    OK
  3. СНОВА ПРОВЕРЬТЕ DTC


    1. Выключите зажигание.

    2. Сбросьте коды DTC.

      Нажмите здесь Click here


      Chassis > ABS/VSC/TRC > Clear DTCs
    3. Выключите зажигание.

    4. Запустите двигатель.

    5. Проведите дорожные испытания.

    6. Проверьте, выводится ли такой же DTC.

      Нажмите здесь Click here


      Chassis > ABS/VSC/TRC > Trouble Codes
      Результат
      Результат Перейти к
      Коды DTC C1413 и C1414 не выводятся. А
      DTC C1413 и/или C1414 выводятся. B

      Tech Tips

      Если поиск неисправностей выполнялся в соответствии с таблицей признаков неисправностей, перед заменой деталей вернитесь к таблице и перейдите к следующему шагу.

      Нажмите здесь Click here


    А
    B
  4. ПРОВЕРЬТЕ МОНТАЖ ПЕРЕДНЕГО ДАТЧИКА ЧАСТОТЫ ВРАЩЕНИЯ


    1. A01VNPSC07
      *1 Передний датчик частоты вращения
      *a Правильно
      *b Неправильно
      *c Отсутствие зазора

      Проверьте монтаж датчика частоты вращения.

      OK
      Между датчиком и передним поворотным кулаком отсутствует зазор.
      Результат
      Перейти к
      OK
      NG

    NG
    OK
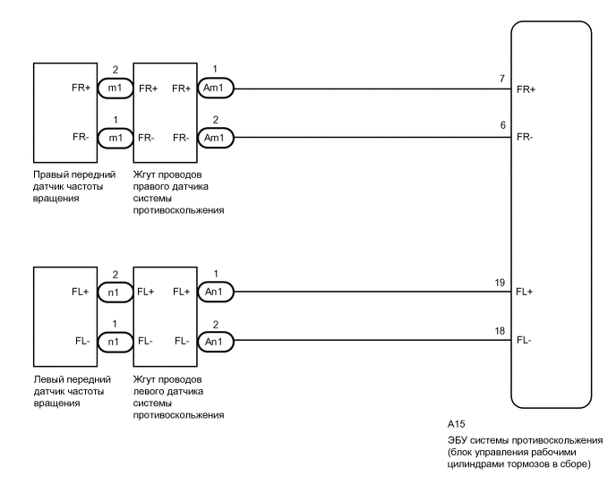
  5. ПРОВЕРЬТЕ ПРОВОД ДАТЧИКА СИСТЕМЫ ПРОТИВОСКОЛЬЖЕНИЯ


    1. A01VMXUC03
      *A Для правой стороны
      *B Для левой стороны
      *a Вид спереди провода датчика системы противоскольжения
      *b

      Вид спереди разъема со стороны жгута проводов:

      (к разъему со стороны датчика)

      *c

      Вид спереди разъема со стороны жгута проводов:

      (к разъему со стороны автомобиля)

      Выключите зажигание.

    2. Проверьте, не ослаблены ли фиксирующая и соединительная части разъема.

    3. Снимите провод датчика системы противоскольжения.

    4. Измерьте сопротивление в соответствии со значениями, приведенными в таблице ниже.

      Номинальное сопротивление
      Для правой стороны
      Подключение диагностического прибора Условие Заданные условия
      m1-2 (FR+) - Am1-1 (FR+) Всегда Менее 1 Ом
      m1-2 (FR+) - Am1-2 (FR-) Всегда 10 кОм или более
      m1-2 (FR+) или Am1-1 (FR+) - масса Всегда 10 кОм или более
      m1-1 (FR-) - Am1-2 (FR-) Всегда Менее 1 Ом
      m1-1 (FR-) - Am1-1 (FR+) Всегда 10 кОм или более
      m1-1 (FR-) или Am1-2 (FR-) - масса Всегда 10 кОм или более
      Для левой стороны
      Подключение диагностического прибора Условие Заданные условия
      n1-2 (FL+) - An1-1 (FL+) Всегда Менее 1 Ом
      n1-2 (FL+) - An1-2 (FL-) Всегда 10 кОм или более
      n1-2 (FL+) или An1-1 (FL+) - масса Всегда 10 кОм или более
      n1-1 (FL-) - An1-2 (FL-) Всегда Менее 1 Ом
      n1-1 (FL-) - An1-1 (FL+) Всегда 10 кОм или более
      n1-1 (FL-) или An1-2 (FL-) - масса Всегда 10 кОм или более

      Note

      Проверьте сигнал датчика частоты вращения после замены.

      Нажмите здесь Click here

      Результат
      Перейти к
      OK
      NG

    NG
    OK
  6. ПРОВЕРЬТЕ ЖГУТ ПРОВОДОВ И РАЗЪЕМ (БЛОК УПРАВЛЕНИЯ РАБОЧИМИ ЦИЛИНДРАМИ ТОРМОЗОВ - ПРОВОД ДАТЧИКА СИСТЕМЫ ПРОТИВОСКОЛЬЖЕНИЯ)


    1. Проверьте, не ослаблены ли фиксирующая и соединительная части разъема.

    2. Подсоедините разъем Am1 или An1 провода датчика системы противоскольжения (к разъему со стороны автомобиля).

    3. Отсоедините разъем A15 ЭБУ системы противоскольжения (блока управления рабочими цилиндрами тормозов в сборе).

    4. Измерьте сопротивление в соответствии со значениями, приведенными в таблице ниже.

      Номинальное сопротивление
      Для правой стороны
      Подключение диагностического прибора Условие Заданные условия
      A15-7 (FR+) - m1-2 (FR+) Всегда Менее 1 Ом
      A15-7 (FR+) или m1-2 (FR+) - масса Всегда 10 кОм или более
      A15-6 (FR-) - m1-1 (FR-) Всегда Менее 1 Ом
      A15-6 (FR-) или m1-1 (FR-) - масса Всегда 10 кОм или более
      Для левой стороны
      Подключение диагностического прибора Условие Заданные условия
      A15-19 (FL+) - n1-2 (FL+) Всегда Менее 1 Ом
      A15-19 (FL+) или n1-2 (FL+) - масса Всегда 10 кОм или более
      A15-18 (FL-) - n1-1 (FL-) Всегда Менее 1 Ом
      A15-18 (FL-) или n1-1 (FL-) - масса Всегда 10 кОм или более
      Результат
      Перейти к
      OK
      NG

    NG
    OK
  7. ПРОВЕРЬТЕ БЛОК УПРАВЛЕНИЯ РАБОЧИМИ ЦИЛИНДРАМИ ТОРМОЗОВ В СБОРЕ (ВХОДНОЙ СИГНАЛ ДАТЧИКА)


    1. A01VNUKC33
      *A Для правой стороны
      *B Для левой стороны
      *a

      Вид спереди разъема со стороны жгута проводов:

      (к проводу датчика системы противоскольжения)

      Подсоедините разъем A15 ЭБУ системы противоскольжения (блока управления рабочими цилиндрами тормозов в сборе).

    2. Включите питание (IG).

    3. Измерьте напряжение в соответствии со значениями, приведенными в таблице.

      Номинальное напряжение
      Для правой стороны
      Подключение диагностического прибора Условие Заданные условия
      m1-2 (FR+) - масса Зажигание включено (IG) 5,7 - 14 В
      Для левой стороны
      Подключение диагностического прибора Условие Заданные условия
      n1-2 (FL+) - масса Зажигание включено (IG) 5,7 - 14 В

      Note

      Проверьте сигнал датчика частоты вращения после замены.

      Нажмите здесь Click here

      Tech Tips


      • Ротор переднего датчика частоты вращения и передний датчик частоты вращения встроены в ступицу переднего колеса.

        Если требуется замена ротора переднего датчика частоты вращения, замените его со ступицей переднего колеса с передним датчиком частоты вращения.

      • Если поиск неисправностей выполнялся в соответствии с таблицей признаков неисправностей, перед заменой деталей вернитесь к таблице и перейдите к следующему шагу.

        Нажмите здесь Click here

      Результат
      Перейти к
      OK
      NG

    OK
    NG