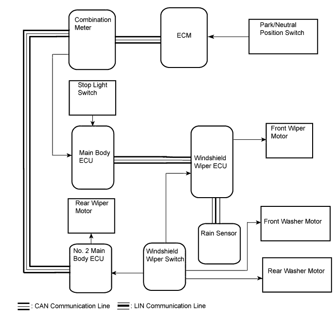
WIPER AND WASHER SYSTEM SYSTEM DIAGRAM


  1. Wiper and Washer System

    A01EQEZE01
    Communication Table
    Transmitter Receiving Signal Line
    Rain Sensor Windshield Wiper ECU
    • HI continuous operation command signal

    • LO continuous operation command signal

    • LO single operation command signal

    • Manual intermittent operation command signal

    • Wiper angle variable demand signal

    LIN
    Main Body ECU (Cowl side Junction Block LH) Windshield Wiper ECU Vehicle speed signal CAN
    Combination Meter No. 2 Main Body ECU Reverse position signal CAN
    Windshield Wiper ECU Rain Sensor Wiper and washer switch signal LIN
    ECM Combination Meter Reverse position signal CAN
  2. Headlight Cleaner System

    A01ENAEE05
  3. Washer Nozzle Heater System (w/ Washer Nozzle Heater System)

    A01EOATE02
    Communication Table
    Transmitter Receiving Signal Line
    Air Conditioning Amplifier Assembly No. 2 Main Body ECU Ambient temperature signal CAN