AIRBAG SYSTEM, Diagnostic DTC:B1900/73, B1901/73, B1902/73, B1903/73

DTC Code DTC Name
B1900/73 Short in Front Driver Side Pretensioner Squib Circuit
B1901/73 Open in Front Driver Side Pretensioner Squib Circuit
B1902/73 Short to GND in Front Driver Side Pretensioner Squib Circuit
B1903/73 Short to B+ in Front Driver Side Pretensioner Squib Circuit

DESCRIPTION

The driver side pretensioner squib circuit consists of the center airbag sensor and front seat outer belt RH or LH.

This circuit instructs the SRS to deploy when deployment conditions are met.

These DTCs are stored when a malfunction is detected in the driver side pretensioner squib circuit.

DTC Code DTC Detection Condition Trouble Area
B1900/73

One of the following conditions is met:


  • The center airbag sensor detects a line short circuit signal 5 times in the driver side pretensioner squib circuit during the primary check.

  • A driver side pretensioner squib malfunction.

  • A center airbag sensor malfunction.


  • No. 2 floor wire

  • Front seat outer belt assembly (Front driver side pretensioner squib)

  • Center airbag sensor assembly

B1901/73

One of the following conditions is met:


  • The center airbag sensor detects open circuit signal in the driver side pretensioner squib circuit for 2 seconds.

  • A driver side pretensioner squib malfunction.

  • A center airbag sensor malfunction.


  • No. 2 floor wire

  • Front seat outer belt assembly (Front driver side pretensioner squib)

  • Center airbag sensor assembly

B1902/73

One of the following conditions is met:


  • The center airbag sensor detects a short circuit to ground signal in the driver side pretensioner squib circuit for 0.5 seconds.

  • A driver side pretensioner squib malfunction.

  • A center airbag sensor malfunction.


  • No. 2 floor wire

  • Front seat outer belt assembly RH (Front pretensioner squib RH)

  • Front seat outer belt assembly LH (Front pretensioner squib LH)

  • Center airbag sensor assembly


  • No. 2 floor wire

  • Front seat outer belt assembly (Front driver side pretensioner squib)

  • Center airbag sensor assembly

B1903/73

One of the following conditions is met:


  • The center airbag sensor detects a short circuit to B+ signal in the driver side pretensioner squib circuit for 0.5 seconds.

  • A driver side pretensioner squib malfunction.

  • A center airbag sensor malfunction.


  • No. 2 floor wire

  • Front seat outer belt assembly (Front driver side pretensioner squib)

  • Center airbag sensor assembly

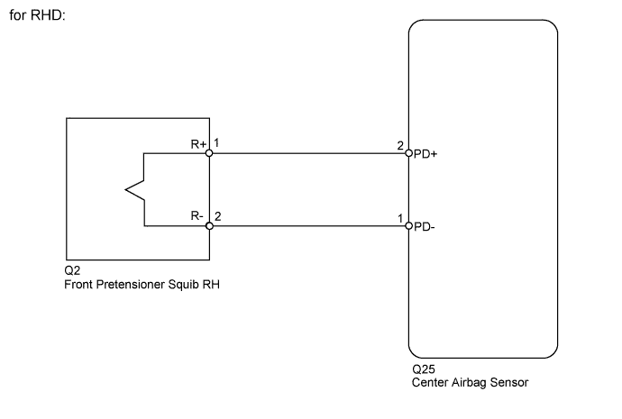
WIRING DIAGRAM

A00XH5GE38
A00XH5GE39

INSPECTION PROCEDURE

Note


  • After turning the ignition switch off, waiting time may be required before disconnecting the cable from the battery terminal. Therefore, make sure to read the disconnecting the cable from the battery terminal notice before proceeding with work Click here.

  • When disconnecting the cable from the negative (-) battery terminal while performing repairs, some systems need to be initialized after the cable is reconnected Click here.

Tech Tips

To perform the simulation method, enter check mode (signal check) with the intelligent tester Click here, and then wiggle each connector of the airbag system or drive the vehicle on various types of road Click here.

PROCEDURE


  1. CHECK VEHICLE TYPE


    1. Check vehicle type.

      Result
      Result Proceed to
      for LHD A
      for RHD B

    A
    B
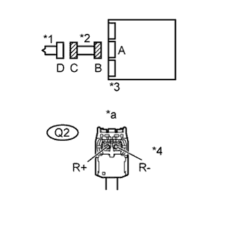
  2. CHECK FRONT SEAT OUTER BELT RH (FRONT PRETENSIONER SQUIB RH)


    1. A00XGPZE05
      Text in Illustration
      *1 Front Pretensioner Squib RH
      *2 Center Airbag Sensor
      *3 Connector C
      *4 SST
      *a

      Front view of wire harness connector

      (to Front Pretensioner Squib RH)

      Turn the ignition switch off.

    2. Disconnect the cable from the negative (-) battery terminal, and wait for at least 90 seconds.

    3. Disconnect the connectors from the front seat outer belt RH.

    4. Connect the white wire side of SST (resistance: 2.1 Ω) to connector C.

      CAUTION:

      Never connect the tester to the front seat outer belt RH (front pretensioner squib RH) for measurement, as this may lead to a serious injury due to airbag deployment.

      Note


      • Do not forcibly insert SST into the terminals of the connector when connecting SST.

      • Insert SST straight into the terminals of the connector.

      SST
      09843-18061
    5. Connect the cable to the negative (-) battery terminal, and wait for at least 2 seconds.

    6. Turn the ignition switch to ON, and wait for at least 60 seconds.

    7. Clear the DTCs Click here.

    8. Turn the ignition switch off.

    9. Turn the ignition switch to ON, and wait for at least 60 seconds.

    10. Check for DTCs Click here.

      OK
      DTC B1900, B1901, B1902 or B1903 is not output.

      Tech Tips

      Codes other than DTC B1900, B1901, B1902 and B1903 may be output at this time, but they are not related to this check.

      Result
      Result Proceed to
      OK (for 3 Door) A
      OK (for 5 Door) B
      NG C

    A
    B
    C
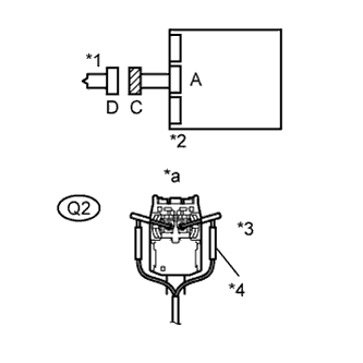
  3. CHECK CONNECTOR


    1. Turn the ignition switch off.

    2. Disconnect the cable from the negative (-) battery terminal, and wait for at least 90 seconds.

    3. Disconnect SST from connector C.

    4. A00XKC7E02
      Text in Illustration
      *1 Front Pretensioner Squib RH
      *2 Center Airbag Sensor

      Check that the floor wire connector (on the front seat outer belt RH side) is not damaged.

      OK
      The lock button is not disengaged, and the claw of the lock is not deformed or damaged.

    NG
    OK
  4. CHECK NO. 2 FLOOR WIRE (FRONT PRETENSIONER SQUIB RH CIRCUIT)


    1. A00XIIME05
      Text in Illustration
      *1 Front Pretensioner Squib RH
      *2 No. 2 Floor Wire
      *3 Center Airbag Sensor
      *4 Connector C
      *a

      Front view of wire harness connector

      (to Front Pretensioner Squib RH)

      Disconnect the connectors from the center airbag sensor.

    2. Connect the cable to the negative (-) battery terminal, and wait for at least 2 seconds.

    3. Measure the voltage according to the value(s) in the table below.

      Standard Voltage
      Tester Connection Switch Condition Specified Condition
      Q2-1 (R+) - Body ground Ignition switch ON Below 1 V
      Q2-2 (R-) - Body ground Ignition switch ON Below 1 V
    4. Turn the ignition switch off.

    5. Disconnect the cable from the negative (-) battery terminal, and wait for at least 90 seconds.

    6. Measure the resistance according to the value(s) in the table below.

      Standard Resistance
      Tester Connection Condition Specified Condition
      Q2-1 (R+) - Q2-2 (R-) Always Below 1 Ω
    7. Release the activation prevention mechanism built into connector B Click here.

    8. Measure the resistance according to the value(s) in the table below.

      Standard Resistance
      Tester Connection Condition Specified Condition
      Q2-1 (R+) - Q2-2 (R-) Always 1 MΩ or higher
      Q2-1 (R+) - Body ground Always 1 MΩ or higher
      Q2-2 (R-) - Body ground Always 1 MΩ or higher

    NG
    OK
  5. CHECK CENTER AIRBAG SENSOR


    1. A00XJPWE02
      Text in Illustration
      *1 Front Pretensioner Squib RH
      *2 Center Airbag Sensor

      Connect the connectors to the front seat outer belt RH and center airbag sensor.

    2. Connect the cable to the negative (-) battery terminal, and wait for at least 2 seconds.

    3. Turn the ignition switch to ON, and wait for at least 60 seconds.

    4. Clear the DTCs stored in memory Click here.

    5. Turn the ignition switch off.

    6. Turn the ignition switch to ON, and wait for at least 60 seconds.

    7. Check for DTCs Click here.

      OK
      DTC B1900, B1901, B1902 or B1903 is not output.

      Tech Tips

      Codes other than DTC B1900, B1901, B1902 and B1903 may be output at this time, but they are not related to this check.


    NG
    OK
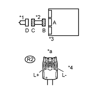
  6. CHECK FRONT SEAT OUTER BELT LH (FRONT PRETENSIONER SQUIB LH)


    1. A00XGPZE06
      Text in Illustration
      *1 Front Pretensioner Squib LH
      *2 Center Airbag Sensor
      *3 Connector C
      *4 SST
      *a

      Front view of wire harness connector

      (to Front Pretensioner Squib LH)

      Turn the ignition switch off.

    2. Disconnect the cable from the negative (-) battery terminal, and wait for at least 90 seconds.

    3. Disconnect the connectors from the front seat outer belt LH.

    4. Connect the white wire side of SST (resistance: 2.1 Ω) to connector C.

      CAUTION:

      Never connect the tester to the front seat outer belt LH (front pretensioner squib LH) for measurement, as this may lead to a serious injury due to airbag deployment.

      Note


      • Do not forcibly insert SST into the terminals of the connector when connecting SST.

      • Insert SST straight into the terminals of the connector.

      SST
      09843-18061
    5. Connect the cable to the negative (-) battery terminal, and wait for at least 2 seconds.

    6. Turn the ignition switch to ON, and wait for at least 60 seconds.

    7. Clear the DTCs Click here.

    8. Turn the ignition switch off.

    9. Turn the ignition switch to ON, and wait for at least 60 seconds.

    10. Check for DTCs Click here.

      OK
      DTC B1900, B1901, B1902 or B1903 is not output.

      Tech Tips

      Codes other than DTC B1900, B1901, B1902 and B1903 may be output at this time, but they are not related to this check.

      Result
      Result Proceed to
      OK (for 3 Door) A
      OK (for 5 Door) B
      NG C

    A
    B
    C
  7. CHECK CONNECTOR


    1. Turn the ignition switch off.

    2. Disconnect the cable from the negative (-) battery terminal, and wait for at least 90 seconds.

    3. Disconnect SST from connector C.

    4. A00XKC7E02
      Text in Illustration
      *1 Front Pretensioner Squib LH
      *2 Center Airbag Sensor

      Check that the floor wire connector (on the front seat outer belt LH side) is not damaged.

      OK
      The lock button is not disengaged, and the claw of the lock is not deformed or damaged.

    NG
    OK
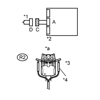
  8. CHECK NO. 2 FLOOR WIRE (FRONT PRETENSIONER SQUIB LH CIRCUIT)


    1. A00XIIME06
      Text in Illustration
      *1 Front Pretensioner Squib LH
      *2 No. 2 Floor Wire
      *3 Center Airbag Sensor
      *4 Connector C
      *a

      Front view of wire harness connector

      (to Front Pretensioner Squib LH)

      Disconnect the connectors from the center airbag sensor.

    2. Connect the cable to the negative (-) battery terminal, and wait for at least 2 seconds.

    3. Measure the voltage according to the value(s) in the table below.

      Standard Voltage
      Tester Connection Switch Condition Specified Condition
      R2-1 (L+) - Body ground Ignition switch ON Below 1 V
      R2-2 (L-) - Body ground Ignition switch ON Below 1 V
    4. Turn the ignition switch off.

    5. Disconnect the cable from the negative (-) battery terminal, and wait for at least 90 seconds.

    6. Measure the resistance according to the value(s) in the table below.

      Standard Resistance
      Tester Connection Condition Specified Condition
      R2-1 (L+) - R2-2 (L-) Always Below 1 Ω
    7. Release the activation prevention mechanism built into connector B Click here.

    8. Measure the resistance according to the value(s) in the table below.

      Standard Resistance
      Tester Connection Condition Specified Condition
      R2-1 (L+) - R2-2 (L-) Always 1 MΩ or higher
      R2-1 (L+) - Body ground Always 1 MΩ or higher
      R2-2 (L-) - Body ground Always 1 MΩ or higher

    NG
    OK
  9. CHECK CENTER AIRBAG SENSOR ASSEMBLY


    1. A00XJPWE02
      Text in Illustration
      *1 Front Pretensioner Squib LH
      *2 Center Airbag Sensor

      Connect the connectors to the front seat outer belt LH and center airbag sensor.

    2. Connect the cable to the negative (-) battery terminal, and wait for at least 2 seconds.

    3. Turn the ignition switch to ON, and wait for at least 60 seconds.

    4. Clear the DTCs Click here.

    5. Turn the ignition switch off.

    6. Turn the ignition switch to ON, and wait for at least 60 seconds.

    7. Check for DTCs Click here.

      OK
      DTC B1900, B1901, B1902 or B1903 is not output.

      Tech Tips

      Codes other than DTC B1900, B1901, B1902 and B1903 may be output at this time, but they are not related to this check.


    NG
    OK