AIRBAG SYSTEM, Diagnostic DTC:B1693/81, B1698/82

DTC Code DTC Name
B1693/81 Door Side Airbag Sensor RH Initialization Incomplete
B1698/82 Door Side Airbag Sensor LH Initialization Incomplete

DESCRIPTION

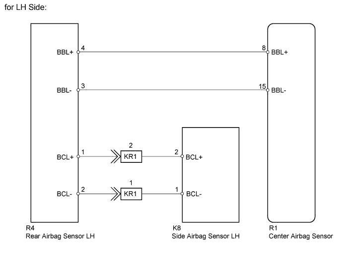
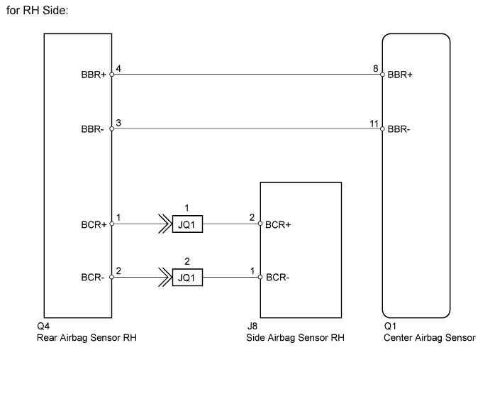
The circuit for the side collision sensor LH or RH (to determine deployment of the front seat side airbag LH or RH and curtain shield airbag LH or RH) is composed of the center airbag sensor, rear airbag sensor LH or RH and side airbag sensor LH or RH.

The rear airbag sensor LH or RH and side airbag sensor LH or RH detect impacts to the vehicle and send signals to the center airbag sensor to determine if the airbag should be deployed.

DTC B1693/81 or B1698/82 is stored when a malfunction is detected in the circuit for the side collision sensor LH or RH (to determine deployment of the front seat side airbag LH or RH and curtain shield airbag LH or RH).

DTC Code DTC Detection Condition Trouble Area
B1693/81

One of the following conditions is met:


  • The center airbag sensor detects a line short circuit signal, open circuit signal, short circuit to ground signal or short circuit to B+ signal in the circuit for the side collision sensor RH (to determine deployment of the front seat side airbag RH and curtain shield airbag RH) for 2 seconds.

  • A side airbag sensor RH malfunction.

  • A rear airbag sensor RH malfunction.

  • A center airbag sensor malfunction.


  • Floor wire

  • Front door wire RH

  • Side airbag sensor assembly RH

  • Rear airbag sensor RH

  • Center airbag sensor assembly

B1698/82

One of the following conditions is met:


  • The center airbag sensor detects a line short circuit signal, open circuit signal, short circuit to ground signal or short circuit to B+ signal in the circuit for the side collision sensor LH (to determine deployment of the front seat side airbag LH and curtain shield airbag LH) for 2 seconds.

  • A side airbag sensor LH malfunction.

  • A rear airbag sensor LH malfunction.

  • A center airbag sensor malfunction.


  • No. 2 floor wire

  • Front door wire LH

  • Side airbag sensor assembly LH

  • Rear airbag sensor LH

  • Center airbag sensor assembly

WIRING DIAGRAM

A00JW3NE11
A00JW3NE12

INSPECTION PROCEDURE

Note

When disconnecting the cable from the negative (-) battery terminal while performing repairs, some systems need to be initialized after the cable is reconnected Click here.

PROCEDURE


  1. CHECK PAST DTC


    1. Turn the ignition switch to ON, and wait for at least 60 seconds.

    2. Check for DTCs Click here.

      OK
      DTC B1692 and B1697 are not output.

    NG
    OK
  2. CHECK FOR DTC


    1. Turn the ignition switch to ON.

    2. Clear the DTCs stored in memory Click here.

    3. Turn the ignition switch off.

    4. Turn the ignition switch to ON, and wait for at least 60 seconds.

    5. Check for DTCs Click here.

      Result
      Result Proceed to
      DTC B1693 and B1698 are not output A
      DTC B1698 is output B
      DTC B1693 is output C

      Tech Tips

      Codes other than DTC B1693 and B1698 may be output at this time, but they are not related to this check.


    A
    B
    C
  3. CHECK CONNECTION OF CONNECTORS


    1. Turn the ignition switch off.

    2. Disconnect the cable from the negative (-) battery terminal, and wait for at least 90 seconds.

    3. Check that the connectors are properly connected to the center airbag sensor, rear airbag sensor RH and side airbag sensor RH.

      OK
      The connectors are properly connected.

    NG
    OK
  4. CHECK CONNECTORS


    1. Disconnect the connectors from the center airbag sensor, rear airbag sensor RH and side airbag sensor RH.

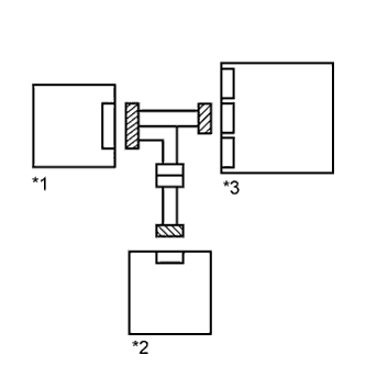
    2. A00JVSYE01
      Text in Illustration
      *1 Rear Airbag Sensor RH
      *2 Side Airbag Sensor RH
      *3 Center Airbag Sensor

      Check that the connectors (on the center airbag sensor side, rear airbag sensor RH side and side airbag sensor RH side) are not damaged.

      OK
      The connectors are not deformed or damaged.

    NG
    OK
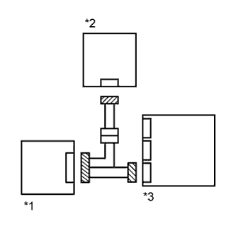
  5. CHECK REAR AIRBAG SENSOR RH


    1. A00JVRQE03
      Text in Illustration
      *1 Rear Airbag Sensor LH
      *2 Center Airbag Sensor

      Connect the connectors to the center airbag sensor and side airbag sensor RH.

    2. Interchange the rear airbag sensor LH with RH and connect the connectors to them.

    3. Connect the cable to the negative (-) battery terminal, and wait for at least 2 seconds.

    4. Turn the ignition switch to ON, and wait for at least 60 seconds.

    5. Clear the DTCs stored in memory Click here.

    6. Turn the ignition switch off.

    7. Turn the ignition switch to ON, and wait for at least 60 seconds.

    8. Check for DTCs Click here.

      Result
      Result Proceed to
      DTC B1693 and B1698 are not output A
      DTC B1698 is output (for 3 Door) B
      DTC B1698 is output (for 5 Door) C
      DTC B1693 is output D

      Tech Tips

      Codes other than DTC B1693 and B1698 may be output at this time, but they are not related to this check.

    9. Turn the ignition switch off.

    10. Disconnect the cable from the negative (-) battery terminal, and wait for at least 90 seconds.

    11. Return the rear airbag sensor RH and LH to their original positions and connect the connectors to them.


    A
    B
    C
    D
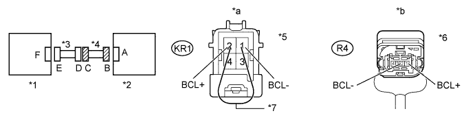
  6. CHECK SIDE AIRBAG SENSOR RH CIRCUIT


    1. Disconnect the connectors from the rear airbag sensor RH and side airbag sensor RH.

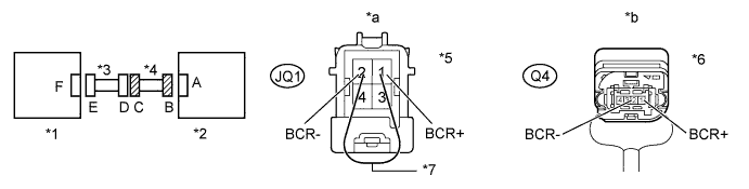
      A00K18BE03
      Text in Illustration
      *1 Side Airbag Sensor RH *2 Rear Airbag Sensor RH
      *3 Connector E *4 Connector B
      *5 Service Wire - -
      *a

      Rear view of wire harness connector

      (to Side Airbag Sensor RH)

      *b

      Rear view of wire harness connector

      (to Rear Airbag Sensor RH)

    2. Connect the cable to the negative (-) battery terminal, and wait for at least 2 seconds.

    3. Measure the voltage according to the value(s) in the table below.

      Standard Voltage
      Tester Connection Switch Condition Specified Condition
      Q4-1 (BCR+) - Body ground Ignition switch ON Below 1 V
      Q4-2 (BCR-) - Body ground Ignition switch ON Below 1 V
    4. Turn the ignition switch off.

    5. Disconnect the cable from the negative (-) battery terminal, and wait for at least 90 seconds.

    6. Using a service wire, connect terminals 2 (BCR+) and 1 (BCR-) of connector E.

      Note

      Do not forcibly insert the service wire into the terminals of the connector when connecting a service wire.

    7. Measure the resistance according to the value(s) in the table below.

      Standard Resistance
      Tester Connection Condition Specified Condition
      Q4-1 (BCR+) - Q4-2 (BCR-) Always Below 1 Ω
    8. Disconnect the service wire from connector E.

    9. Measure the resistance according to the value(s) in the table below.

      Standard Resistance
      Tester Connection Condition Specified Condition
      Q4-1 (BCR+) - Q4-2 (BCR-) Always 1 MΩ or higher
      Q4-1 (BCR+) - Body ground Always 1 MΩ or higher
      Q4-2 (BCR-) - Body ground Always 1 MΩ or higher

    NG
    OK
  7. CHECK SIDE AIRBAG SENSOR RH


    1. A00JXL7E15
      Text in Illustration
      *1 Side Airbag Sensor LH
      *2 Rear Airbag Sensor RH

      Connect the connector to the rear airbag sensor RH.

    2. Interchange the side airbag sensor LH with RH and connect the connectors to them.

    3. Connect the cable to the negative (-) battery terminal, and wait for at least 2 seconds.

    4. Turn the ignition switch to ON, and wait for at least 60 seconds.

    5. Clear the DTCs stored in memory Click here.

    6. Turn the ignition switch off.

    7. Turn the ignition switch to ON, and wait for at least 60 seconds.

    8. Check for DTCs Click here.

      Result
      Result Proceed to
      DTC B1693 and B1698 are not output A
      DTC B1698 is output B
      DTC B1693 is output C

      Tech Tips

      Codes other than DTC B1693 and B1698 may be output at this time, but they are not related to this check.

    9. Turn the ignition switch off.

    10. Disconnect the cable from the negative (-) battery terminal, and wait for at least 90 seconds.

    11. Return the side airbag sensor RH and LH to their original positions and connect the connectors to them.


    A
    B
    C
  8. CHECK FLOOR WIRE (REAR AIRBAG SENSOR RH - FRONT DOOR WIRE RH)


    1. Disconnect the floor wire connector from the front door wire RH.

      A00JUDHE02
      Text in Illustration
      *1 Side Airbag Sensor RH *2 Rear Airbag Sensor RH
      *3 Front Door Wire RH *4 Floor Wire
      *5 Connector C *6 Connector B
      *7 Service Wire - -
      *a

      Front view of wire harness connector

      (to Front Door Wire RH)

      *b

      Rear view of wire harness connector

      (to Rear Airbag Sensor RH)

    2. Connect the cable to the negative (-) battery terminal, and wait for at least 2 seconds.

    3. Measure the voltage according to the value(s) in the table below.

      Standard Voltage
      Tester Connection Switch Condition Specified Condition
      Q4-1 (BCR+) - Body ground Ignition switch ON Below 1 V
      Q4-2 (BCR-) - Body ground Ignition switch ON Below 1 V
    4. Turn the ignition switch off.

    5. Disconnect the cable from the negative (-) battery terminal, and wait for at least 90 seconds.

    6. Using a service wire, connect terminals 1 (BCR+) and 2 (BCR-) of connector C.

      Note

      Do not forcibly insert the service wire into the terminals of the connector when connecting a service wire.

    7. Measure the resistance according to the value(s) in the table below.

      Standard Resistance
      Tester Connection Condition Specified Condition
      Q4-1 (BCR+) - Q4-2 (BCR-) Always Below 1 Ω
    8. Disconnect the service wire from connector C.

    9. Measure the resistance according to the value(s) in the table below.

      Standard Resistance
      Tester Connection Condition Specified Condition
      Q4-1 (BCR+) - Q4-2 (BCR-) Always 1 MΩ or higher
      Q4-1 (BCR+) - Body ground Always 1 MΩ or higher
      Q4-2 (BCR-) - Body ground Always 1 MΩ or higher

    NG
    OK
  9. CHECK CONNECTION OF CONNECTORS


    1. Turn the ignition switch off.

    2. Disconnect the cable from the negative (-) battery terminal, and wait for at least 90 seconds.

    3. Check that the connectors are properly connected to the center airbag sensor, rear airbag sensor LH and side airbag sensor LH.

      OK
      The connectors are properly connected.

    NG
    OK
  10. CHECK CONNECTORS


    1. Disconnect the connectors from the center airbag sensor, rear airbag sensor LH and side airbag sensor LH.

    2. A00K239E01
      Text in Illustration
      *1 Rear Airbag Sensor LH
      *2 Side Airbag Sensor LH
      *3 Center Airbag Sensor

      Check that the connectors (on the center airbag sensor side, rear airbag sensor LH side and side airbag sensor LH side) are not damaged.

      OK
      The connectors are not deformed or damaged.

    NG
    OK
  11. CHECK REAR AIRBAG SENSOR LH


    1. A00JYY9E01
      Text in Illustration
      *1 Rear Airbag Sensor RH
      *2 Center Airbag Sensor

      Connect the connectors to the center airbag sensor and side airbag sensor LH.

    2. Interchange the rear airbag sensor LH with RH and connect the connectors to them.

    3. Connect the cable to the negative (-) battery terminal, and wait for at least 2 seconds.

    4. Turn the ignition switch to ON, and wait for at least 60 seconds.

    5. Clear the DTCs stored in memory Click here.

    6. Turn the ignition switch off.

    7. Turn the ignition switch to ON, and wait for at least 60 seconds.

    8. Check for DTCs Click here.

      Result
      Result Proceed to
      DTC B1693 and B1698 are not output A
      DTC B1693 is output (for 3 Door) B
      DTC B1693 is output (for 5 Door) C
      DTC B1698 is output D

      Tech Tips

      Codes other than DTC B1693 and B1698 may be output at this time, but they are not related to this check.

    9. Turn the ignition switch off.

    10. Disconnect the cable from the negative (-) battery terminal, and wait for at least 90 seconds.

    11. Return the rear airbag sensor RH and LH to their original positions and connect the connectors to them.


    A
    B
    C
    D
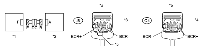
  12. CHECK SIDE AIRBAG SENSOR LH CIRCUIT


    1. Disconnect the connectors from the rear airbag sensor LH and side airbag sensor LH.

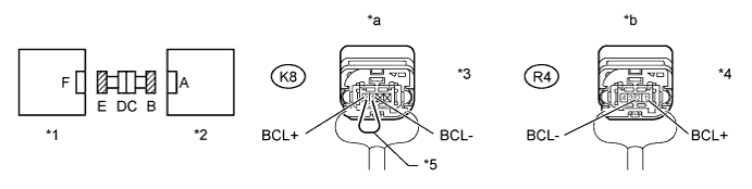
      A00K18BE04
      Text in Illustration
      *1 Side Airbag Sensor LH *2 Rear Airbag Sensor LH
      *3 Connector E *4 Connector B
      *5 Service Wire - -
      *a

      Rear view of wire harness connector

      (to Side Airbag Sensor LH)

      *b

      Rear view of wire harness connector

      (to Rear Airbag Sensor LH)

    2. Connect the cable to the negative (-) battery terminal, and wait for at least 2 seconds.

    3. Measure the voltage according to the value(s) in the table below.

      Standard Voltage
      Tester Connection Switch Condition Specified Condition
      R4-1 (BCL+) - Body ground Ignition switch ON Below 1 V
      R4-2 (BCL-) - Body ground Ignition switch ON Below 1 V
    4. Turn the ignition switch off.

    5. Disconnect the cable from the negative (-) battery terminal, and wait for at least 90 seconds.

    6. Using a service wire, connect terminals 2 (BCL+) and 1 (BCL-) of connector E.

      Note

      Do not forcibly insert the service wire into the terminals of the connector when connecting a service wire.

    7. Measure the resistance according to the value(s) in the table below.

      Standard Resistance
      Tester Connection Condition Specified Condition
      R4-1 (BCL+) - R4-2 (BCL-) Always Below 1 Ω
    8. Disconnect the service wire from connector E.

    9. Measure the resistance according to the value(s) in the table below.

      Standard Resistance
      Tester Connection Condition Specified Condition
      R4-1 (BCL+) - R4-2 (BCL-) Always 1 MΩ or higher
      R4-1 (BCL+) - Body ground Always 1 MΩ or higher
      R4-2 (BCL-) - Body ground Always 1 MΩ or higher

    NG
    OK
  13. CHECK SIDE AIRBAG SENSOR LH


    1. A00JXL7E15
      Text in Illustration
      *1 Side Airbag Sensor RH
      *2 Rear Airbag Sensor LH

      Connect the connector to the rear airbag sensor LH.

    2. Interchange the side airbag sensor LH with RH and connect the connectors to them.

    3. Connect the cable to the negative (-) battery terminal, and wait for at least 2 seconds.

    4. Turn the ignition switch to ON, and wait for at least 60 seconds.

    5. Clear the DTCs stored in memory Click here.

    6. Turn the ignition switch off.

    7. Turn the ignition switch to ON, and wait for at least 60 seconds.

    8. Check for DTCs Click here.

      Result
      Result Proceed to
      DTC B1693 and B1698 are not output A
      DTC B1693 is output B
      DTC B1698 is output C

      Tech Tips

      Codes other than DTC B1693 and B1698 may be output at this time, but they are not related to this check.

    9. Turn the ignition switch off.

    10. Disconnect the cable from the negative (-) battery terminal, and wait for at least 90 seconds.

    11. Return the side airbag sensor RH and LH to their original positions and connect the connectors to them.


    A
    B
    C
  14. CHECK NO. 2 FLOOR WIRE (REAR AIRBAG SENSOR LH - FRONT DOOR WIRE LH)


    1. Disconnect the No. 2 floor wire connector from the front door wire LH.

      A00JUDHE05
      Text in Illustration
      *1 Side Airbag Sensor LH *2 Rear Airbag Sensor LH
      *3 Front Door Wire LH *4 No. 2 Floor Wire
      *5 Connector C *6 Connector B
      *7 Service Wire - -
      *a

      Front view of wire harness connector

      (to Front Door Wire LH)

      *b

      Rear view of wire harness connector

      (to Rear Airbag Sensor LH)

    2. Connect the cable to the negative (-) battery terminal, and wait for at least 2 seconds.

    3. Measure the voltage according to the value(s) in the table below.

      Standard Voltage
      Tester Connection Switch Condition Specified Condition
      R4-1 (BCL+) - Body ground Ignition switch ON Below 1 V
      R4-2 (BCL-) - Body ground Ignition switch ON Below 1 V
    4. Turn the ignition switch off.

    5. Disconnect the cable from the negative (-) battery terminal, and wait for at least 90 seconds.

    6. Using a service wire, connect terminals 2 (BCL+) and 1 (BCL-) of connector C.

      Note

      Do not forcibly insert the service wire into the terminals of the connector when connecting a service wire.

    7. Measure the resistance according to the value(s) in the table below.

      Standard Resistance
      Tester Connection Condition Specified Condition
      R4-1 (BCL+) - R4-2 (BCL-) Always Below 1 Ω
    8. Disconnect the service wire from connector C.

    9. Measure the resistance according to the value(s) in the table below.

      Standard Resistance
      Tester Connection Condition Specified Condition
      R4-1 (BCL+) - R4-2 (BCL-) Always 1 MΩ or higher
      R4-1 (BCL+) - Body ground Always 1 MΩ or higher
      R4-2 (BCL-) - Body ground Always 1 MΩ or higher

    NG
    OK