AIRBAG SYSTEM, Diagnostic DTC:B1660/43

DTC Code DTC Name
B1660/43 Passenger Airbag OFF Indicator Circuit Malfunction

DESCRIPTION

The airbag cutoff indicator circuit consists of the center airbag sensor and the airbag cutoff indicator.

The airbag cutoff indicator indicates the operation condition of the instrument panel passenger airbag, front seat side airbag and front seat outer belt.

DTC B1660/43 is stored when a malfunction is detected in the airbag cutoff indicator circuit.

DTC Code DTC Detection Condition Trouble Area
B1660/43

One of the following conditions is met:


  • The center airbag sensor detects open circuit signal, short circuit to ground signal or short circuit to B+ signal in the airbag cutoff indicator circuit for 2 seconds.

  • A airbag cutoff indicator malfunction.

  • A center airbag sensor malfunction.


  • Instrument panel wire

  • Telltale light assembly

  • Center airbag sensor assembly

WIRING DIAGRAM

A0095A4E02

INSPECTION PROCEDURE

Note

When disconnecting the cable from the negative (-) battery terminal while performing repairs, some systems need to be initialized after the cable is reconnected Click here.

PROCEDURE


  1. CHECK PASSENGER AIRBAG CUTOFF INDICATOR CONDITION


    1. Turn the ignition switch to ON.

      A009AZIE01
    2. Check the airbag cutoff indicator operation.

      Tech Tips

      Refer to the normal condition of the airbag cutoff indicator Click here.

      Result
      Result Proceed to
      Always on A
      Off B

    B
    A
  2. CHECK CONNECTION OF CONNECTORS


    1. Turn the ignition switch off.

    2. Disconnect the cable from the negative (-) battery terminal, and wait for at least 90 seconds.

    3. Check that the connectors are properly connected to the center airbag sensor and telltale light.

      OK
      The connectors are properly connected.

    NG
    OK
  3. CHECK CONNECTORS


    1. Disconnect the connectors from the center airbag sensor and telltale light.

    2. A0098Y0E01
      Text in Illustration
      *1 Telltale Light
      *2 Center Airbag Sensor

      Check that the connectors (on the center airbag sensor side and telltale light side) are not damaged.

      OK
      The connectors are not deformed or damaged.

    NG
    OK
  4. CHECK PASSENGER AIRBAG CUTOFF INDICATOR


    1. A009AUG

      Connect the connector to the telltale light.

    2. Connect the cable to the negative (-) battery terminal, and wait for at least 2 seconds.

    3. Turn the ignition switch to ON.

    4. Check the airbag cutoff indicator operation.

      OK
      The airbag cutoff indicator does not come on.

    NG
    OK
  5. CHECK CENTER AIRBAG SENSOR


    1. A0094K0E01
      Text in Illustration
      *1 Telltale Light
      *2 Center Airbag Sensor

      Connect the connectors to the center airbag sensor.

    2. Connect the cable to the negative (-) battery terminal, and wait for at least 2 seconds.

    3. Turn the ignition switch to ON, and wait for at least 60 seconds.

    4. Clear the DTCs Click here.

    5. Turn the ignition switch off.

    6. Turn the ignition switch to ON, and wait for at least 60 seconds.

    7. Check for DTCs Click here.

      OK
      DTC B1660 is not output.

      Tech Tips

      Codes other than DTC B1660 may be output at this time, but they are not related to this check.


    NG
    OK
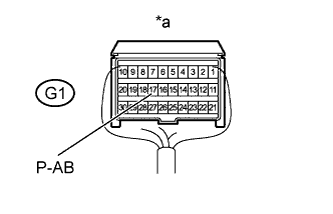
  6. CHECK INSTRUMENT PANEL WIRE (CENTER AIRBAG SENSOR - TELLTALE LIGHT)


    1. Turn the ignition switch off.

      A009A6BE02
      Text in Illustration
      *1 Telltale Light *2 Center Airbag Sensor
      *3 Connector C *4 Connector B
      *5 Service Wire - -
      *a

      Front view of wire harness connector

      (to Telltale Light)

      *b

      Rear view of wire harness connector

      (to Center Airbag Sensor)

    2. Disconnect the cable from the negative (-) battery terminal, and wait for at least 90 seconds.

    3. Disconnect the connectors from the center airbag sensor and telltale light.

    4. Connect the cable to the negative (-) battery terminal, and wait for at least 2 seconds.

    5. Measure the voltage according to the value(s) in the table below.

      Standard Voltage
      Tester Connection Switch Condition Specified Condition
      G5-7 (OFF) - Body ground Ignition switch ON Below 1 V
    6. Turn the ignition switch off.

    7. Disconnect the cable from the negative (-) battery terminal, and wait for at least 90 seconds.

    8. Measure the resistance according to the value(s) in the table below.

      Standard Resistance
      Tester Connection Condition Specified Condition
      G5-7 (OFF) - G1-17 (P-AB) Always Below 1 Ω
      G5-7 (OFF) - Body ground Always 1 MΩ or higher

    NG
    OK
  7. CHECK CONNECTION OF CONNECTORS


    1. Turn the ignition switch off.

    2. Disconnect the cable from the negative (-) battery terminal, and wait for at least 90 seconds.

    3. Check that the connectors are properly connected to the center airbag sensor and telltale light.

      OK
      The connectors are properly connected.

    NG
    OK
  8. CHECK CONNECTORS


    1. Disconnect the connectors from the center airbag sensor and telltale light.

    2. A0098Y0E01
      Text in Illustration
      *1 Telltale Light
      *2 Center Airbag Sensor

      Check that the connectors (on the center airbag sensor side and telltale light side) are not damaged.

      OK
      The connectors are not deformed or damaged.

    NG
    OK
  9. CHECK INSTRUMENT PANEL WIRE (CENTER AIRBAG SENSOR - TELLTALE LIGHT)


    1. Connect the cable to the negative (-) battery terminal, and wait for at least 2 seconds.

      A009A6BE02
      Text in Illustration
      *1 Telltale Light *2 Center Airbag Sensor
      *3 Connector C *4 Connector B
      *5 Service Wire - -
      *a

      Front view of wire harness connector

      (to Telltale Light)

      *b

      Rear view of wire harness connector

      (to Center Airbag Sensor)

    2. Measure the voltage according to the value(s) in the table below.

      Standard Voltage
      Tester Connection Switch Condition Specified Condition
      G5-7 (OFF) - Body ground Ignition switch ON Below 1 V
    3. Turn the ignition switch off.

    4. Disconnect the cable from the negative (-) battery terminal, and wait for at least 90 seconds.

    5. Measure the resistance according to the value(s) in the table below.

      Standard Resistance
      Tester Connection Condition Specified Condition
      G5-7 (OFF) - G1-17 (P-AB) Always Below 1 Ω
      G5-7 (OFF) - Body ground Always 1 MΩ or higher

    NG
    OK
  10. CHECK PASSENGER AIRBAG CUTOFF INDICATOR (SOURCE VOLTAGE)


    1. A0095VTE02
      Text in Illustration
      *a

      Front view of wire harness connector

      (to Telltale Light)

      Turn the ignition switch off.

    2. Connect the connectors to the center airbag sensor.

    3. Connect the cable to the negative (-) battery terminal, and wait for at least 2 seconds.

    4. Measure the voltage according to the value(s) in the table below.

      Standard Voltage
      Tester Connection Switch Condition Specified Condition
      G5-5 (LAPB) - Body ground Ignition switch ON 11 to 14 V

    NG
    OK
  11. CHECK PASSENGER AIRBAG CUTOFF INDICATOR


    1. A009AH6E03
      Text in Illustration
      *a

      Rear view of wire harness connector

      (to Center Airbag Sensor)

      Turn the ignition switch off.

    2. Disconnect the cable from the negative (-) battery terminal, and wait for at least 90 seconds.

    3. Connect the connector to the telltale light.

    4. Disconnect the connectors from the center airbag sensor.

    5. Connect the cable to the negative (-) battery terminal, and wait for at least 2 seconds.

    6. Check the indicator according to the value(s) in the table below.

      OK
      Tester Connection Switch Condition Airbag Cutoff Indicator
      G1-17 (P-AB) - Body ground Ignition switch ON Indicator comes on

    NG
    OK
  12. CHECK CENTER AIRBAG SENSOR


    1. A0094K0E01
      Text in Illustration
      *1 Telltale Light
      *2 Center Airbag Sensor

      Turn the ignition switch off.

    2. Disconnect the cable from the negative (-) battery terminal, and wait for at least 90 seconds.

    3. Connect the connectors to the center airbag sensor.

    4. Connect the cable to the negative (-) battery terminal, and wait for at least 2 seconds.

    5. Turn the ignition switch to ON, and wait for at least 60 seconds.

    6. Clear the DTCs Click here.

    7. Turn the ignition switch off.

    8. Turn the ignition switch to ON, and wait for at least 60 seconds.

    9. Check for DTCs Click here.

      OK
      DTC B1660 is not output.

      Tech Tips

      Codes other than DTC B1660 may be output at this time, but they are not related to this check.


    NG
    OK