AIRBAG SYSTEM, Diagnostic DTC:B1651/33

DTC Code DTC Name
B1651/33 Manual Cut off Switch Trouble

DESCRIPTION

Tech Tips

"Manual cut off switch" refers to the airbag cutoff switch cylinder.

The airbag cutoff switch cylinder circuit consists of the center airbag sensor and airbag cutoff switch cylinder.

The instrument panel passenger airbag can be optionally deactivated via this circuit by turning the airbag cutoff switch cylinder to the "OFF" position.

If the instrument panel passenger airbag is deactivated, the airbag cutoff indicator comes on to inform the passengers.

DTC B1651/33 is stored when a malfunction is detected in the airbag cutoff switch cylinder circuit.

DTC Code DTC Detection Condition Trouble Area
B1651/33

One of the following conditions is met:


  • The center airbag sensor detects a line short circuit signal, open circuit signal, short circuit to ground signal or short circuit to B+ signal in the airbag cutoff switch cylinder circuit for 2 seconds.

  • An airbag cutoff switch cylinder malfunction.

  • A center airbag sensor malfunction.


  • Instrument panel wire

  • Airbag cutoff switch cylinder sub-assembly

  • Center airbag sensor assembly

WIRING DIAGRAM

A00XJFEE04

INSPECTION PROCEDURE

Note


  • After turning the ignition switch off, waiting time may be required before disconnecting the cable from the battery terminal. Therefore, make sure to read the disconnecting the cable from the battery terminal notice before proceeding with work Click here.

  • When disconnecting the cable from the negative (-) battery terminal while performing repairs, some systems need to be initialized after the cable is reconnected Click here.

Tech Tips

The 19-11 (MSW+) and 19-12 (MSW-) terminals in this circuit have an activation prevention mechanism. This mechanism can be used to check for an open circuit in the wire harness. In case of other checks (check for short, short to ground or short to B+), it is necessary to release this mechanism.

PROCEDURE


  1. CHECK INSTRUMENT PANEL WIRE (CENTER AIRBAG SENSOR - AIRBAG CUTOFF SWITCH CYLINDER)


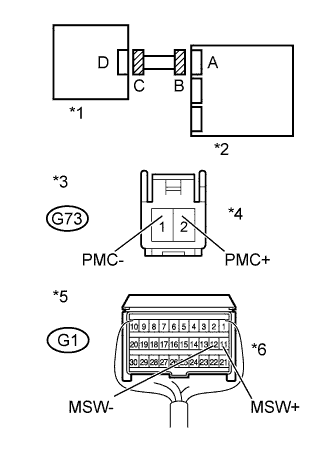
    1. A00XF2JE04
      Text in Illustration
      *1 Airbag Cutoff Switch Cylinder
      *2 Center Airbag Sensor
      *3

      Front view of wire harness connector

      (to Airbag Cutoff Switch Cylinder)

      *4 Connector C
      *5

      Rear view of wire harness connector

      (to Center Airbag Sensor)

      *6 Connector B

      Turn the ignition switch off.

    2. Disconnect the cable from the negative (-) battery terminal, and wait for at least 90 seconds.

    3. Disconnect the connectors from the center airbag sensor and airbag cut off switch cylinder.

    4. Connect the cable to the negative (-) battery terminal, and wait for at least 2 seconds.

    5. Measure the voltage according to the value(s) in the table below.

      Standard Voltage
      Tester Connection Switch Condition Specified Condition
      G73-2 (PMC+) - Body ground Ignition switch ON Below 1 V
      G73-1 (PMC-) - Body ground Ignition switch ON Below 1 V
    6. Turn the ignition switch off.

    7. Disconnect the cable from the negative (-) battery terminal, and wait for at least 90 seconds.

    8. Measure the resistance according to the value(s) in the table below.

      Standard Resistance
      Tester Connection Condition Specified Condition
      G73-2 (PMC+) - G73-1 (PMC-) Always Below 1 Ω
    9. Release the activation prevention mechanism built into connector B Click here.

    10. Measure the resistance according to the value(s) in the table below.

      Standard Resistance
      Tester Connection Condition Specified Condition
      G73-2 (PMC+) - G73-1 (PMC-) Always 1 MΩ or higher
      G73-2 (PMC+) - Body ground Always 1 MΩ or higher
      G73-1 (PMC-) - Body ground Always 1 MΩ or higher

    NG
    OK
  2. INSPECT AIRBAG CUTOFF SWITCH CYLINDER


    1. A00XK6ME02

      Remove the airbag cutoff switch cylinder Click here.

    2. Measure the resistance according to the value(s) in the table below.

      Standard Resistance
      Tester Connection Switch Condition Specified Condition
      2 (PMC+) - 1 (PMC-) Cutoff switch in "ON" position (Front passenger side airbag active) 360 to 440 Ω
      2 (PMC+) - 1 (PMC-) Cutoff switch in "OFF" position (Front passenger side airbag not active) 90 to 110 Ω

    NG
    OK
  3. CHECK CENTER AIRBAG SENSOR


    1. A00XIEXE01
      Text in Illustration
      *1 Airbag Cutoff Switch Cylinder
      *2 Center Airbag Sensor

      Connect the connectors to the center airbag sensor and airbag cutoff switch cylinder.

    2. Connect the cable to the negative (-) battery terminal, and wait for at least 2 seconds.

    3. Turn the ignition switch to ON, and wait for at least 60 seconds.

    4. Clear the DTCs stored in memory Click here.

    5. Turn the ignition switch off.

    6. Turn the ignition switch to ON, and wait for at least 60 seconds.

    7. Check for DTCs Click here.

      OK
      DTC B1651 is not output.

      Tech Tips

      Codes other than DTC B1651 may be output at this time, but they are not related to this check.


    NG
    OK