LIN COMMUNICATION SYSTEM, Diagnostic DTC:B2325

DTC Code DTC Name
B2325 LIN Communication Bus Malfunction

DESCRIPTION

The main body ECU (multiplex network body ECU) intermittently monitors the LIN communication bus between the components related to the doors, double lock door control relay assembly*1 and sliding roof drive gear sub-assembly*2. DTC B2325 is stored when a malfunction in the LIN communication bus between the components related to the doors, double lock door control relay assembly*1 and sliding roof drive gear sub-assembly*2 is detected consecutively 3 times.


DTC Code DTC Detection Condition Trouble Area
B2325 The main body ECU (multiplex network body ECU) detects a malfunction in the LIN communication bus between components related to the doors, double lock door control relay assembly*2 and sliding roof drive gear sub-assembly*3 consecutively 3 times.
  • Multiplex network master switch assembly

  • Front power window regulator motor assembly LH

  • Front power window regulator motor assembly RH

  • Rear power window regulator motor assembly LH*1

  • Rear power window regulator motor assembly RH*1

  • Double lock door control relay*2

  • Sliding roof drive gear sub-assembly*3

  • Main body ECU (multiplex network body ECU)

  • Harness or connector


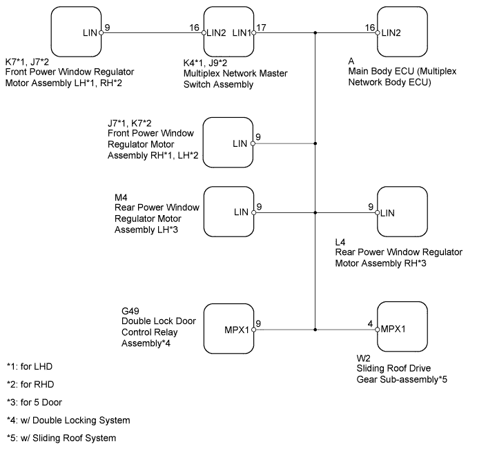
WIRING DIAGRAM

A009C35E01

INSPECTION PROCEDURE

Note

When using the intelligent tester with the ignition switch off to troubleshoot:

Connect the intelligent tester to the vehicle and turn a courtesy light switch on and off at 1.5 second intervals until communication between the intelligent tester and vehicle begins.

Tech Tips

When DTC B2325 and a LIN communication stop DTC are output simultaneously, first perform troubleshooting for the LIN communication stop DTC. Then perform troubleshooting for DTC B2325.

PROCEDURE


  1. CLEAR DTC


    1. Clear the DTCs Click here.


    NEXT
  2. CHECK FOR DTC


    1. Check for DTCs Click here.

      OK
      DTC B2325 is not output.

    NG
    OK
  3. CHECK HARNESS AND CONNECTOR (MAIN BODY ECU - MULTIPLEX NETWORK MASTER SWITCH)


    1. Remove the main body ECU (multiplex network body ECU) from the driver side junction block assembly Click here.

    2. Disconnect the K4*1 or J9*2 multiplex network master switch assembly connector.


      • *1: for LHD

      • *2: for RHD

    3. Measure the resistance according to the value(s) in the table below.

      Standard Resistance
      for LHD
      Tester Connection Condition Specified Condition
      A-16 (LIN2) - K4-17 (LIN1) Always Below 1 Ω
      A-16 (LIN2) or K4-17 (LIN1) - Body ground Always 10 kΩ or higher
      for RHD
      Tester Connection Condition Specified Condition
      A-16 (LIN2) - J9-17 (LIN1) Always Below 1 Ω
      A-16 (LIN2) or J9-17 (LIN1) - Body ground Always 10 kΩ or higher

    NG
    OK
  4. CLEAR DTC


    • *1: for LHD

    • *2: for RHD


    1. Install the main body ECU (multiplex network body ECU) to the driver side junction block assembly Click here.

    2. Reconnect the K4*1 or J9*2 multiplex network master switch assembly connector.

    3. Disconnect the K7*1 or J7*2 front power window regulator motor assembly connector.

    4. Clear the DTCs Click here.


    NEXT
  5. CHECK FOR DTC


    1. Check for DTCs Click here.

      Result
      Result Proceed to
      DTC B2325 is output A
      DTC B2325 is not output B

    B
    A
  6. CLEAR DTC


    • *1: for LHD

    • *2: for RHD


    1. Connect the K7*1 or J7*2 front power window regulator motor assembly connector.

    2. Disconnect the K4*1 or J9*2 multiplex network master switch assembly connector.

    3. Clear the DTCs Click here.


    NEXT
  7. CHECK FOR DTC


    1. Check for DTCs Click here.

      Result
      Result Proceed to
      DTC B2325 is output A
      DTC B2325 is not output B

    B
    A
  8. CLEAR DTC


    • *1: for LHD

    • *2: for RHD


    1. Connect the K4*1 or J9*2 multiplex network master switch assembly connector.

    2. Disconnect the J7*1 or K7*2 front power window regulator motor assembly connector.

    3. Clear the DTCs Click here.


    NEXT
  9. CHECK FOR DTC


    1. Check for DTCs Click here.

      Result
      Result Proceed to
      DTC B2325 is output (for 5 Door) A
      DTC B2325 is output (for 3 Door, w/ Double Locking System) B
      DTC B2325 is output (for 3 Door, w/o Double Locking System, w/ Sliding Roof System) C
      DTC B2325 is output (for 3 Door, w/o Double Locking System, w/o Sliding Roof System) D
      DTC B2325 is not output E

    B
    C
    D
    E
    A
  10. CLEAR DTC


    1. Connect the J7*1 or K7*2 front power window regulator motor assembly connector.


      • *1: for LHD

      • *2: for RHD

    2. Disconnect the L4 rear power window regulator motor assembly RH connector.

    3. Clear the DTCs Click here.


    NEXT
  11. CHECK FOR DTC


    1. Check for DTCs Click here.

      Result
      Result Proceed to
      DTC B2325 is output A
      DTC B2325 is not output B

    B
    A
  12. CLEAR DTC


    1. Connect the L4 rear power window regulator motor assembly RH connector.

    2. Disconnect the M4 rear power window regulator motor assembly LH connector.

    3. Clear the DTCs Click here.


    NEXT
  13. CHECK FOR DTC


    1. Check for DTCs Click here.

      Result
      Result Proceed to
      DTC B2325 is output (w/ Double Locking System) A
      DTC B2325 is output (w/o Double Locking System, w/ Sliding Roof System) B
      DTC B2325 is output (w/o Double Locking System, w/o Sliding Roof System) C
      DTC B2325 is not output D

    B
    C
    D
    A
  14. CLEAR DTC


    1. Connect the M4 rear power window regulator motor assembly LH connector.

    2. Disconnect the G49 double lock door control relay assembly connector.

    3. Clear the DTCs Click here.


    NEXT
  15. CHECK FOR DTC


    1. Check for DTCs Click here.

      Result
      Result Proceed to
      DTC B2325 is output (w/ Sliding Roof System) A
      DTC B2325 is output (w/o Sliding Roof System) B
      DTC B2325 is not output C

    B
    C
    A
  16. CLEAR DTC


    1. w/ Double Locking System:


      1. Connect the G49 double lock door control relay assembly connector.

    2. w/o Double Locking System:


      1. Connect the M4 rear power window regulator motor assembly LH connector.

    3. Disconnect the W2 sliding roof drive gear sub-assembly connector.

    4. Clear the DTCs Click here.


    NEXT
  17. CHECK FOR DTC


    1. Check for DTCs Click here.

      Result
      Result Proceed to
      DTC B2325 is output A
      DTC B2325 is not output B

    B
    A
  18. CLEAR DTC


    1. Connect the J7*1 or K7*2 front power window regulator motor assembly connector.


      • *1: for LHD

      • *2: for RHD

    2. Disconnect the G49 double lock door control relay assembly connector.

    3. Clear the DTCs Click here.


    NEXT
  19. CHECK FOR DTC


    1. Check for DTCs Click here.

      Result
      Result Proceed to
      DTC B2325 is output (w/ Sliding Roof System) A
      DTC B2325 is output (w/o Sliding Roof System) B
      DTC B2325 is not output C

    B
    C
    A
  20. CLEAR DTC


    1. w/ Double Locking System:


      1. Connect the G49 double lock door control relay assembly connector.

    2. w/o Double Locking System:


      1. Connect the J7*1 or K7*2 front power window regulator motor assembly connector.


        • *1: for LHD

        • *2: for RHD

    3. Disconnect the W2 sliding roof drive gear sub-assembly connector.

    4. Clear the DTCs Click here.


    NEXT
  21. CHECK FOR DTC


    1. Check for DTCs Click here.

      Result
      Result Proceed to
      DTC B2325 is output A
      DTC B2325 is not output B

    B
    A