VACUUM PUMP (for 1KD-FTV) REASSEMBLY


  1. INSTALL VACUUM PUMP BEARING

    A009BUB

    1. Using a press, press in a new bearing to the shaft.

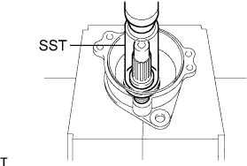
  2. INSTALL VACUUM PUMP SHAFT

    A0093ZME01

    1. Using SST and a press, press in the shaft to the housing.

      SST
      09608-04031
    2. Using snap ring pliers, install a new snap ring.

      Note

      Make sure that the snap ring is firmly installed to the groove.

  3. INSTALL VACUUM PUMP GEAR


    1. Install the woodruff key and gear to the pump with the gear lock nut.

    2. Mount the gear in a vise.

      Note

      Place aluminum plates on the vise to prevent damage to the gear.

    3. Tighten the gear lock nut.

      Torque:
      110 N*m  { 1122 kgf*cm, 81 ft.*lbf }
  4. INSTALL VACUUM PUMP BLADE

    A0096XNE02
    Text in Illustration
    *a Round End

    1. Apply engine oil to the rotor and install the rotor to the housing.

    2. Install 5 new blades with the round end facing outward.

      Tech Tips


      • Apply engine oil to the blade.

      • Make sure that the blades are flush with the rotor surface.

  5. INSTALL VACUUM PUMP END COVER


    1. Mount the pump in a vise.

      Note

      Place aluminum plates on the vise to prevent damage to the pump.

    2. Install 2 new O-rings.

    3. Install the end cover and temporarily install the 3 bolts.

    4. Using a 5 mm pin punch and hammer, tap in the 2 straight pins.

    5. Tighten the 3 bolts.

      Torque:
      7.8 N*m  { 80 kgf*cm, 69 in.*lbf }
  6. INSTALL CHECK VALVE SUB-ASSEMBLY


    1. Install a new gasket and the check valve.

      Torque:
      74 N*m  { 755 kgf*cm, 54 ft.*lbf }
    2. Install 2 new gaskets and the union with the union bolt.

      Torque:
      14 N*m  { 140 kgf*cm, 10 ft.*lbf }

      Tech Tips

      Align and insert the union pin into the matching hole of the casing.