BRAKE MASTER CYLINDER INSPECTION

Note


  • The master cylinder and piston are designed so that the piston can easily fall out. Prevent this by making sure the tip of the master cylinder faces downward when handling the master cylinder.

  • Make sure foreign matter does not attach to the piston of the master cylinder. If foreign matter attaches, clean it off with a cloth. Then apply lithium soap base glycol grease to the entire outer circumference of the contact surface of the piston.


  1. INSPECT AND ADJUST BRAKE BOOSTER PUSH ROD

    Tech Tips

    Adjust the booster push rod when the master cylinder is replaced with a new one. Adjustment is not necessary when the master cylinder is reinstalled and the booster is replaced with a new one.


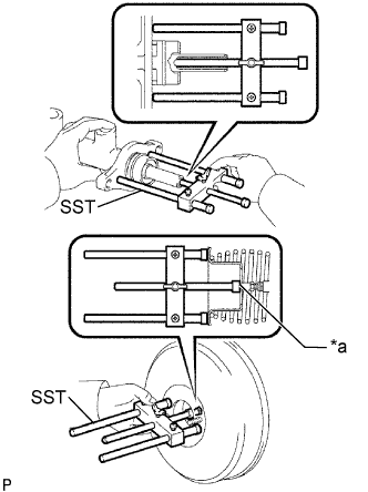
    1. A009AQEE06

      Set SST on the master cylinder and lower the rod of SST until it touches the piston.

      SST
      09737-00013

      Tech Tips

      SST 09737-00012 can also be used.

    2. Apply chalk to the flat tip of the rod of SST . Turn SST upside down and measure the clearance between the brake booster push rod and SST.

      Standard clearance
      0 mm (0 in.)
      Text in Illustration
      *a Apply Chalk

      If there is clearance between the main body of SST and the shell of the brake booster, the push rod is protruding too far. If the chalk does not stick to the tip of the brake booster push rod, the push rod protrusion is insufficient.

    3. A0095DYE01

      If the clearance is not within the standard, adjust the length by holding the rod using SST and turning the tip of the rod using a 7 mm socket driver.

      SST
      09737-00020

      Note

      Check the push rod clearance again after adjusting.