VEHICLE STABILITY CONTROL SYSTEM (for Vacuum Brake Booster), Diagnostic DTC:C1415, C1277, C1278, C1416

DTC Code DTC Name
C1415 Rear Speed Sensor RH Output Malfunction
C1277 Abnormal Change in Output Signal of Rear Speed Sensor RH (Test Mode DTC)
C1278 Abnormal Change in Output Signal of Rear Speed Sensor LH (Test Mode DTC)
C1416 Rear Speed Sensor LH Output Malfunction

DESCRIPTION

Refer to DTCs C1401 and C1402 Click here.

DTC Code DTC Detection Condition Trouble Area

C1415

C1416

One of the following conditions is met:


  1. An open in the sensor signal circuit of a malfunctioning area occurs 255 times or more.

  2. At a vehicle speed of 20 km/h (12 mph) or more, noise occurs in the sensor signals of a malfunctioning wheel 75 times or more within 5 seconds.

  3. At a vehicle speed of 10 km/h (6 mph) or more, noise occurs once per rotor rotation for 15 seconds or more.


  • Rear speed sensor RH/LH

  • Skid control sensor wire

  • Speed sensor circuit

  • Rear speed sensor rotor RH/LH

  • Brake actuator assembly (Skid control ECU)

C1277

C1278

Stored only during test mode.
  • Rear speed sensor RH/LH

  • Rear speed sensor rotor RH/LH

Tech Tips


  • DTC C1415 is for the rear speed sensor RH.

  • DTC C1416 is for the rear speed sensor LH.

WIRING DIAGRAM

Refer to DTCs C1407 and C1408 Click here.

INSPECTION PROCEDURE

Note


  • When replacing the brake actuator assembly, perform calibration Click here.

  • Check the speed sensor signal after replacement Click here.

PROCEDURE


  1. CHECK HARNESS AND CONNECTOR (MOMENTARY INTERRUPTION)


    1. Using the intelligent tester, check for any momentary interruption in the wire harness and connector corresponding to the DTC Click here.

      ABS/VSC/TRC
      Tester Display Measurement Item/Range Normal Condition Diagnostic Note
      RR Speed Open Rear speed sensor RH open circuit detection/ Error or Normal Normal -
      RL Speed Open Rear speed sensor LH open circuit detection/ Error or Normal Normal -
      OK
      Normal (there are no momentary interruptions).

      Tech Tips

      Perform the above inspection before removing the sensor and disconnecting the connector.


    NG
    OK
  2. READ VALUE USING INTELLIGENT TESTER (RR/RL WHEEL SPEED)


    1. Turn the ignition switch off

    2. Connect the intelligent tester to the DLC3.

    3. Start the engine.

    4. Turn the intelligent tester on.

    5. Enter the following menus: Chassis / ABS/VSC/TRC / Data List.

      ABS/VSC/TRC
      Tester Display Measurement Item/Range Normal Condition Diagnostic Note
      RR Wheel Speed Rear speed sensor RH value/ min.: 0 km/h (0 mph), max.: 326 km/h (202 mph) Actual wheel speed No large fluctuations when driving at a constant speed.
      RL Wheel Speed Rear speed sensor LH value/ min.: 0 km/h (0 mph), max.: 326 km/h (202 mph) Actual wheel speed No large fluctuations when driving at a constant speed.
    6. Check the speed value output from the speed sensor displayed on the intelligent tester.

      Tech Tips

      Factors that affect the indicated vehicle speed include tire size, tire inflation and tire wear. The speed indicated on the speedometer has an allowable margin of error. This can be tested using a speedometer tester (calibrated chassis dynamometer). For details about testing and the margin of error, refer to the reference chart Click here.

      OK
      The speed value output from the speed sensor displayed on the intelligent tester is the same as the actual vehicle speed measured using a speedometer tester (calibrated chassis dynamometer).

    NG
    OK
  3. PERFORM TEST MODE (SIGNAL CHECK)


    1. Perform the signal check in the test mode procedure Click here.

      OK
      All test mode DTCs are cleared.

    NG
    OK
  4. RECONFIRM DTC


    1. Clear the DTCs Click here.

    2. Start the engine.

    3. Drive the vehicle at a speed of 40 km/h (25 mph) or more for at least 60 seconds.

    4. Check if the same DTC is output Click here.

      Result
      Result Proceed to
      DTC is not output A
      DTC is output B

    B
    A
  5. CHECK REAR SPEED SENSOR INSTALLATION


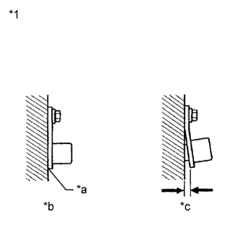
    1. Turn the ignition switch off.

    2. A00JZGKE53
      Text in Illustration
      *1 Rear Speed Sensor
      *a No clearance
      *b OK
      *c NG

      Check the speed sensor installation Click here.

      OK
      There is no clearance between the sensor and the rear axle carrier.
      The installation nut is tightened properly.

    NG
    OK
  6. CHECK REAR SPEED SENSOR TIP


    1. Remove the rear speed sensor Click here.

    2. Check the speed sensor tip.

      OK
      No scratches, oil, or foreign matter on the sensor tip.

      Note

      If no damage to the speed sensor tip is found during this inspection, do not replace the speed sensor.


    NG
    OK
  7. CHECK REAR SPEED SENSOR ROTOR


    1. Remove the rear axle hub and bearing assembly Click here.

    2. Check the speed sensor rotor.

      OK
      No scratches, oil, or foreign matter on the rotors.

      Tech Tips

      The rear speed sensor rotor is incorporated into the rear axle hub and bearing assembly.

      If the rear speed sensor rotor needs to be replaced, replace it together with the rear axle hub and bearing assembly.


    NG
    OK
  8. INSPECT SKID CONTROL SENSOR WIRE

    A00O60CE04
    Text in Illustration
    *A for RH *B for LH
    *1 Skid Control Sensor Wire - -

    1. Make sure that there is no looseness at the locking parts and connecting parts of the connectors.

    2. Remove the skid control sensor wire Click here.

    3. Measure the resistance according to the value(s) in the table below.

      Standard Resistance
      for RH
      Tester Connection Condition Specified Condition
      Sq1-4 - q1-2 (RR+) Always Below 1 Ω
      Sq1-3 - q1-1 (RR-) Always Below 1 Ω
      Sq1-4 - Sq1-3 Always 10 kΩ or higher
      Sq1-4 - Sq1-1 Always 10 kΩ or higher
      Sq1-4 - Sq1-2 Always 10 kΩ or higher
      for LH
      Tester Connection Condition Specified Condition
      Sq1-2 - q2-2 (RL+) Always Below 1 Ω
      Sq1-1 - q2-1 (RL-) Always Below 1 Ω
      Sq1-2 - Sq1-1 Always 10 kΩ or higher
      Sq1-2 - Sq1-3 Always 10 kΩ or higher
      Sq1-2 - Sq1-4 Always 10 kΩ or higher

    NG
    OK
  9. CHECK HARNESS AND CONNECTOR (SKID CONTROL ECU - REAR SPEED SENSOR)


    1. Install the skid control sensor wire.

    2. Disconnect the A6 skid control ECU connector.

    3. Disconnect the q1 and/or q2 speed sensor connector.

    4. Measure the resistance according to the value(s) in the table below.

      Standard Resistance
      for RH
      Tester Connection Condition Specified Condition
      A6-17 (RR+) - q1-2 (RR+) Always Below 1 Ω
      A6-17 (RR+) - Body ground Always 10 kΩ or higher
      A6-16 (RR-) - q1-1 (RR-) Always Below 1 Ω
      A6-16 (RR-) - Body ground Always 10 kΩ or higher
      for LH
      Tester Connection Condition Specified Condition
      A6-5 (RL+) - q2-2 (RL+) Always Below 1 Ω
      A6-5 (RL+) - Body ground Always 10 kΩ or higher
      A6-4 (RL-) - q2-1 (RL-) Always Below 1 Ω
      A6-4 (RL-) - Body ground Always 10 kΩ or higher

    NG
    OK
  10. CHECK TERMINAL VOLTAGE (RR+, RL+)


    1. Connect the A6 skid control ECU connector.

    2. Disconnect the q1 and/or q2 speed sensor connector.

    3. A00O564E08
      Text in Illustration
      *A for RH
      *B for LH
      *a

      Front view of wire harness connector

      (to Rear Speed Sensor)

      Measure the voltage according to the value(s) in the table below.

      Standard Voltage
      for RH
      Tester Connection Switch Condition Specified Condition
      q1-2 (RR+) - Body ground Ignition switch ON 8 to 14 V
      for LH
      Tester Connection Switch Condition Specified Condition
      q2-2 (RL+) - Body ground Ignition switch ON 8 to 14 V

    NG
    OK
  11. RECONFIRM DTC


    1. Clear the DTCs Click here.

    2. Start the engine.

    3. Drive the vehicle at a speed of 40 km/h (25 mph) or more for at least 60 seconds.

    4. Check if the same DTC is output Click here.

      Result
      Result Proceed to
      DTC is not output A
      DTC is output B

    B
    A
  12. REPLACE REAR SPEED SENSOR


    1. Turn the ignition switch off.

    2. Replace the rear speed sensor Click here.


    NEXT
  13. RECONFIRM DTC


    1. Clear the DTCs Click here.

    2. Start the engine.

    3. Drive the vehicle at a speed of 40 km/h (25 mph) or more for at least 60 seconds.

    4. Check if the same DTC is output Click here.

      Result
      Result Proceed to
      DTC is not output A
      DTC is output B

    B
    A