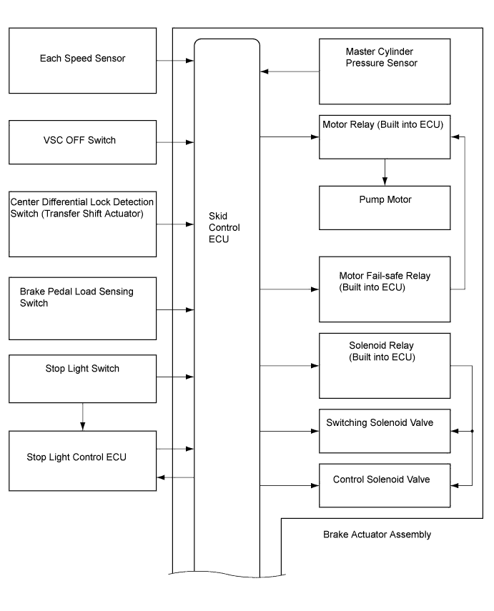
VEHICLE STABILITY CONTROL SYSTEM (for Vacuum Brake Booster) SYSTEM DIAGRAM

A00JUCME01
A00JVEME01
Communication Table
Transmitting ECU (Transmitter) Receiving ECU Signal Communication Method
Skid control ECU Steering angle sensor Steering angle sensor request signal CAN communication
Steering angle sensor Skid control ECU Steering angle sensor signal CAN communication
Skid control ECU Yaw rate and acceleration sensor Yaw rate and acceleration request signal CAN communication
Yaw rate and acceleration sensor Skid control ECU Yaw rate and acceleration signal CAN communication
Skid control ECU ECM
  • VSC data signal

  • Engine torque request signal

  • Brake control identification signal

  • Wheel speed signal

CAN communication
ECM Skid control ECU
  • Throttle position signal

  • Engine speed signal

  • Engine torque signal

  • Accelerator pedal position signal

  • Intake temperature sensor signal

  • Shift position signal

  • Engine type information

  • Transmission information

CAN communication
Skid control ECU Combination meter
  • Warning/indicator light signal

  • Buzzer sound request signal

CAN communication
Four wheel drive control ECU Skid control ECU
  • L4 status signal

  • Transfer shift actuator fail signal

CAN communication