FRONT SUSPENSION MEMBER INSTALLATION

  1. INSTALL HOLE PLUG

    1. Install each hole plug to the front frame assembly.

  2. INSTALL FRONT SUSPENSION MEMBER BODY MOUNTING REAR CUSHION LH

    1. Temporarily install a new front suspension member body mounting rear cushion LH while confirming the installation direction.

      A011TH7E01
      Text in Illustration
      *A Type A
      *B Type B
      *a View from Underneath
      A011T1X Front of the Vehicle

      Note

      Position the front suspension member body mounting rear cushion LH in the correct direction.

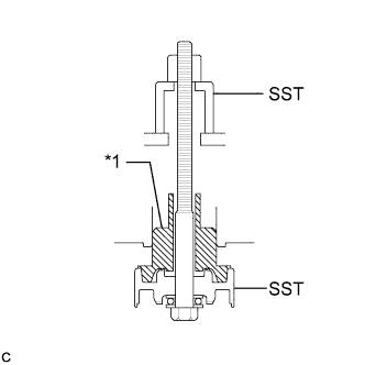
    2. Install SST as shown in the illustration.

      A011V5AE03
      Text in Illustration
      *1 Front Suspension Member Body Mounting Rear Cushion LH
      SST
      09830-10010   ( 09830-01010, 09830-01020, 09830-01030, 09830-01060 )
    3. Using SST, install the front suspension member body mounting rear cushion LH as shown in the illustration.

      A011UGPE05
      Text in Illustration
      *a Hold
      *b Turn

      Note

      Check that there is no clearance between the front suspension member and the front suspension member body mounting rear cushion LH.

  3. INSTALL FRONT SUSPENSION MEMBER BODY MOUNTING REAR CUSHION RH

    1. Temporarily install a new front suspension member body mounting rear cushion RH while confirming the installation direction.

      A011ULOE01
      Text in Illustration
      *A Type A
      *B Type B
      *a View from Underneath
      A011T1X Front of the Vehicle

      Note

      Position the front suspension member body mounting rear cushion RH in the correct direction.

    2. Install SST using the same procedure as the front suspension member body mounting rear cushion LH.

      SST
      09830-10010   ( 09830-01010, 09830-01020, 09830-01030, 09830-01060 )
    3. Using SST, install the front suspension member body mounting rear cushion RH.

      SST
      09830-10010   ( 09830-01010, 09830-01020, 09830-01030, 09830-01060 )

      Tech Tips

      Perform the same procedure as the LH side.

  4. INSTALL FRONT SUSPENSION MEMBER BODY MOUNTING FRONT CUSHION

    1. Temporarily install a new front suspension member body mounting front cushion while confirming the installation direction.

      A011QSKE01
      Text in Illustration
      *a View from Underneath
      A011T1X Front of the Vehicle

      Note

      Position the front suspension member body mounting front cushion in the correct direction.

    2. Install SST using the same procedure as the front suspension member body mounting rear cushion LH.

      SST
      09830-10010   ( 09830-01010, 09830-01020, 09830-01030, 09830-01060 )
    3. Using SST, install the front suspension member body mounting front cushion as shown in the illustration.

      A011UD9E05
      Text in Illustration
      *a Hold
      *b Turn
      SST
      09830-10010   ( 09830-01010, 09830-01020, 09830-01030, 09830-01060 )

      Note

      Check that there is no clearance between the front suspension member and the front suspension member body mounting front cushion.

  5. INSTALL FRONT SUSPENSION MEMBER BODY MOUNTING REAR STOPPER

    1. Install the 2 front suspension member body mounting rear stoppers to the front frame assembly.

  6. INSTALL FRONT SUSPENSION MEMBER BODY MOUNTING FRONT STOPPER

    1. Install the 2 front suspension member body mounting front stoppers to the front frame assembly.

  7. INSTALL FRONT SUSPENSION MEMBER DYNAMIC DAMPER

    1. Install the front suspension member dynamic damper to the front frame assembly with the 2 bolts.

      Torque:
      29 N*m  { 296 kgf*cm, 21 ft.*lbf }
  8. INSTALL FRONT LOWER NO. 1 SUSPENSION ARM SUB-ASSEMBLY LH

    1. Install the front lower arm bushing stopper to the front lower No. 1 suspension arm sub-assembly.

    2. Install the front lower No. 1 suspension arm sub-assembly to the front frame assembly with the 3 bolts and nut in the order shown in the illustration.

      A011QPUE01
      Torque:
      Bolt 1, 2
      200 N*m  { 2039 kgf*cm, 148 ft.*lbf }
      Bolt 3
      135 N*m  { 1377 kgf*cm, 100 ft.*lbf }

      Note

      While keeping the nut from rotating, tighten the bolt.

  9. INSTALL FRONT LOWER NO. 1 SUSPENSION ARM SUB-ASSEMBLY RH

    Tech Tips

    Perform the same procedure as the LH side.

  10. INSTALL STEERING LINK ASSEMBLY

    1. Install the steering link assembly with the 2 bolts and 2 nuts.

      Torque:
      70 N*m  { 714 kgf*cm, 52 ft.*lbf }

      Note

      • Keep the nut from rotating while turning the bolt because the nut has its own stopper.

      • Make sure to tighten the bolts starting from the pinion shaft side.

  11. INSTALL FRONT STABILIZER BAR WITH FRONT STABILIZER LINK ASSEMBLY

    1. Install the front stabilizer bar with 2 front stabilizer link assemblies to the front frame assembly.

  12. INSTALL FRONT NO. 1 STABILIZER BRACKET LH

    1. Install the front No. 1 stabilizer bracket LH to the front frame assembly with the 2 bolts.

      Torque:
      27 N*m  { 275 kgf*cm, 20 ft.*lbf }
  13. INSTALL FRONT NO. 1 STABILIZER BRACKET RH

    Tech Tips

    Perform the same procedure as the LH side.

  14. INSTALL ENGINE MOUNTING INSULATOR LH

    for 2GR-FE: Click here

    for 2AR-FE: Click here

  15. INSTALL ENGINE MOUNTING INSULATOR RH

    for 2GR-FE: Click here

    for 2AR-FE: Click here

  16. INSTALL FRONT ENGINE MOUNTING INSULATOR ASSEMBLY (for 2GR-FE)

    Click here

  17. INSTALL FRONT ENGINE MOUNTING INSULATOR (for 2AR-FE)

    Click here

  18. INSTALL FRONT FRAME ASSEMBLY

    for 2GR-FE: Click here

    for 2AR-FE: Click here