FRONT SHOCK ABSORBER DISPOSAL

  1. DISPOSE OF FRONT SHOCK ABSORBER ASSEMBLY

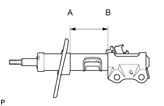
    1. Position the front shock absorber assembly level with the piston rod fully extended. Using a drill, make a hole in the cylinder between A and B as shown in the illustration to discharge the gas inside.

      A011SAYE01

      CAUTION:

      Always use proper safety equipment and be careful when drilling because shards of metal may fly about.

      Tech Tips

      The gas is colorless, odorless and non-poisonous.