REAR STABILIZER BAR INSTALLATION

  1. INSTALL REAR STABILIZER BUSHING (for LH Side)

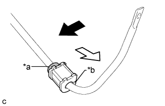
    1. Install the rear stabilizer bushing to the outside of the stopper ring on the rear stabilizer bar as shown in the illustration.

      A011V9ME01
      Text in Illustration
      *a Stopper Ring
      *b Cutout
      A011T1X Front of the Vehicle
      A011V7Q Outside of the Vehicle

      Note

      Install the rear stabilizer bushing so that the cutout face rearward.

  2. INSTALL REAR STABILIZER BUSHING (for RH Side)

    Tech Tips

    Perform the same procedure as for the LH side.

  3. INSTALL REAR NO. 1 STABILIZER BAR BRACKET (for LH Side)

    1. Install the rear No. 1 stabilizer bar bracket to the rear stabilizer bar.

      A011REE
      Text in Illustration
      A011T1X Front of the Vehicle

      Note

      Be sure to install the rear No. 1 stabilizer bar bracket in the correct direction.

  4. INSTALL REAR NO. 1 STABILIZER BAR BRACKET (for RH Side)

    Tech Tips

    Perform the same procedure as for the LH side.

  5. INSTALL REAR NO. 2 STABILIZER BAR BRACKET (for LH Side)

    1. Install the rear No. 2 stabilizer bar bracket to the rear stabilizer bar.

      A011QTJ
  6. INSTALL REAR NO. 2 STABILIZER BAR BRACKET (for RH Side)

    Tech Tips

    Perform the same procedure as for the LH side.

  7. INSTALL REAR STABILIZER BAR

    1. Install the rear stabilizer bar with the 4 bolts.

      A011SCW
      Text in Illustration
      A011T1X Bolt
      A011V7Q Front of the Vehicle
      Torque:
      31 N*m  { 316 kgf*cm, 23 ft.*lbf }
  8. INSTALL REAR STABILIZER LINK ASSEMBLY LH

    1. Install the rear stabilizer link assembly LH to the rear shock absorber with coil spring with the nut.

      Torque:
      39 N*m  { 400 kgf*cm, 29 ft.*lbf }

      If the ball joint turns together with the nut, use a hexagon wrench to hold the stud.

    2. Install the rear stabilizer link assembly LH to the rear stabilizer bar with the nut.

      Torque:
      39 N*m  { 400 kgf*cm, 29 ft.*lbf }

      If the ball joint turns together with the nut, use a hexagon wrench to hold the stud.

  9. INSTALL REAR STABILIZER LINK ASSEMBLY RH

    Tech Tips

    Perform the same procedure as for the LH side.

  10. INSTALL NO. 2 FLOOR UNDER COVER (w/ Floor Under Cover)

    1. Install the No. 2 floor under cover with the 2 bolts, 3 nuts and 2 clips.

      Torque:
      Bolt
      12 N*m  { 122 kgf*cm, 9 ft.*lbf }
      Nut
      4.0 N*m  { 41 kgf*cm, 35 in.*lbf }
  11. INSTALL NO. 1 FLOOR UNDER COVER

    1. Install the No. 1 floor under cover with the 2 bolts, 3 nuts and 2 clips.

      Torque:
      Bolt
      12 N*m  { 122 kgf*cm, 9 ft.*lbf }
      Nut
      4.0 N*m  { 41 kgf*cm, 35 in.*lbf }
  12. INSTALL REAR WHEELS

    Torque:
    103 N*m  { 1049 kgf*cm, 76 ft.*lbf }