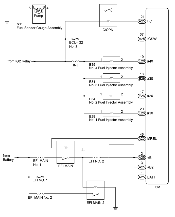
FUEL SYSTEM SYSTEM DIAGRAM

A011TFAE02