DAMPING FORCE CONTROL ACTUATOR (for Rear Side) DISPOSAL


  1. DISPOSE OF REAR SUSPENSION CONTROL ACCUMULATOR

    A015D6YE01

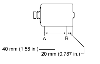
    1. Place the accumulator in a vise and saw a hole between A and B shown in the illustration using a saw to discharge the gas inside.

      CAUTION:


      • The gas is colorless, odorless and harmless.

      • Saw a hole while covering the saw with a cloth because chips may fly up.

  2. DISPOSE OF REAR NO. 3 SUSPENSION CONTROL ACCUMULATOR

    A015C8KE01

    1. Place the gas camber in a vise and saw a hole in the hatched area shown in the illustration using a saw to discharge the gas inside.

      CAUTION:


      • The gas is colorless, odorless and harmless.

      • Saw a hole while covering the saw with a cloth because chips may fly up.