DAMPING FORCE CONTROL ACTUATOR (for Front Side) DISPOSAL


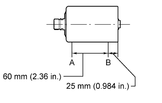
  1. DISPOSE OF FRONT NO. 1 SUSPENSION CONTROL ACCUMULATOR ASSEMBLY LH

    A0155BVE01

    1. Place the accumulator in a vise and saw a hole between A and B shown in the illustration using a saw to discharge the gas inside.

      CAUTION:


      • The gas is colorless, odorless and harmless.

      • Saw a hole while covering the saw with a cloth because chips may fly up.

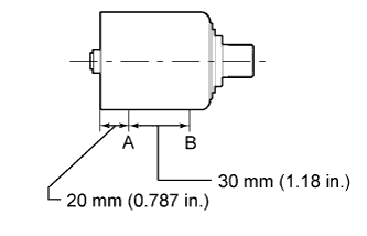
  2. DISPOSE OF FRONT NO. 2 SUSPENSION CONTROL ACCUMULATOR

    A015DW0E01

    1. Place the accumulator in a vise and saw a hole between A and B shown in the illustration using a saw to discharge the gas inside.

      CAUTION:


      • The gas is colorless, odorless and harmless.

      • Saw a hole while covering the saw with a cloth because chips may fly up.

  3. DISPOSE OF FRONT NO. 3 SUSPENSION CONTROL ACCUMULATOR

    A015C8KE01

    1. Place the gas camber in a vise and saw a hole in the hatched area shown in the illustration using a saw to discharge the gas inside.

      CAUTION:


      • The gas is colorless, odorless and harmless.

      • Saw a hole while covering the saw with a cloth because chips may fly up.