HEIGHT CONTROL ACCUMULATOR DISPOSAL


  1. DISPOSE OF SUSPENSION CONTROL PUMP ACCUMULATOR ASSEMBLY

    A0158P3E01

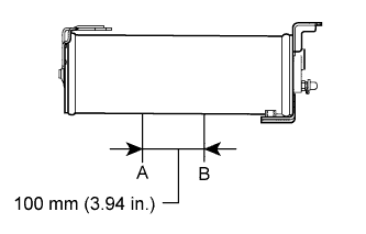
    1. Place the accumulator in a vise and saw a hole between A and B shown in the illustration using a saw to discharge the gas inside.

      CAUTION:


      • Before discharging the gas, loosen the bleeder plug to bleed high pressure oil.

      • The gas is colorless, odorless and harmless.

      • Saw a hole while covering the saw with a cloth because chips may fly up.