HOOD SUPPORT DISPOSAL


  1. DISPOSE OF HOOD SUPPORT ASSEMBLY


    1. Horizontally hold the hood support in a vise with the piston-rod pulled out.

    2. A01G6QQE01

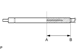
      Wear safety glasses. Gradually cut a part between A and B shown in the illustration using a metal saw to release the gas.

      Area Measurement
      A-B 100 mm (3.94 in.)

      Note

      Although the gas inside the hood support is colorless, odorless and harmless, there is a possibility that metal debris could scatter. Therefore, cover it with a piece of cloth or other material.