FRONT DOOR LOCK INSPECTION


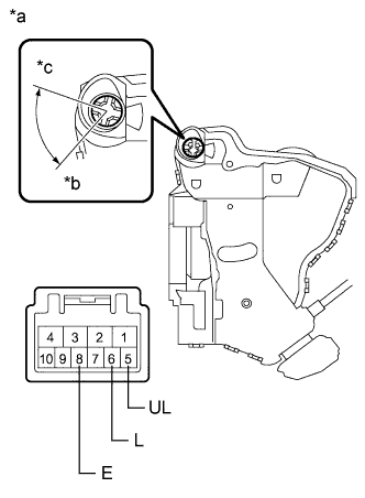
  1. INSPECT FRONT DOOR LOCK ASSEMBLY LH


    1. A01G81LE21
      Text in Illustration
      *a

      Component without harness connected

      (Front Door Lock Assembly LH)

      *b Unlock
      *c Lock

      Check the operation of the door lock motor.


      1. Apply battery voltage and check the operation of the door lock motor.

        OK
        Connection Result

        Battery positive (+) → Terminal 4 (L)

        Battery negative (-) → Terminal 1 (UL)

        Locks

        Battery positive (+) → Terminal 1 (UL)

        Battery negative (-) → Terminal 4 (L)

        Unlocks

        If the result is not as specified, replace the front door lock assembly LH.

    2. A01G81LE22
      Text in Illustration
      *a

      Component without harness connected

      (Front Door Lock Assembly LH)

      *b Unlock
      *c Lock

      Check the operation of the door unlock detection switch.


      1. Measure the resistance according to the value(s) in the table below.

        Standard Resistance
        Tester Connection Condition Specified Condition
        7 (E) - 8 (LSSR) Locked 10 kΩ or higher
        7 (E) - 8 (LSSR) Unlocked Below 1 Ω

        If the result is not as specified, replace the front door lock assembly LH.

    3. A01G5ESE01
      Text in Illustration
      *a

      Component without harness connected

      (Front Door Lock Assembly LH)

      *b Unlock
      *c Lock

      Check the operation of the door key lock and unlock switch. (for LHD)


      1. Measure the resistance according to the value(s) in the table below.

        Standard Resistance
        Tester Connection Condition Specified Condition
        9 (L) - 7 (E) Held to lock side Below 1 Ω
        9 (L) - 7 (E) Neutral or held to unlock side 10 kΩ or higher
        10 (UL) - 7 (E) Held to unlock side Below 1 Ω
        10 (UL) - 7 (E) Neutral or held to lock side 10 kΩ or higher

        If the result is not as specified, replace the front door lock assembly LH.

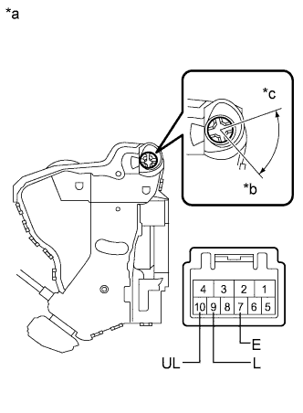
  2. INSPECT FRONT DOOR LOCK ASSEMBLY RH


    1. A01G8SYE23
      Text in Illustration
      *a

      Component without harness connected

      (Front Door Lock Assembly RH)

      *b Unlock
      *c Lock

      Check the operation of the door lock motor.


      1. Apply battery voltage and check the operation of the door lock motor.

        OK
        Connection Result

        Battery positive (+) → Terminal 4 (L)

        Battery negative (-) → Terminal 1 (UL)

        Locks

        Battery positive (+) → Terminal 1 (UL)

        Battery negative (-) → Terminal 4 (L)

        Unlocks

        If the result is not as specified, replace the front door lock assembly RH.

    2. A01G7GNE01
      Text in Illustration
      *a

      Component without harness connected

      (Front Door Lock Assembly RH)

      *b Unlock
      *c Lock

      Check the operation of the door unlock detection switch.


      1. Measure the resistance according to the value(s) in the table below.

        Standard Resistance
        Tester Connection Condition Specified Condition
        7 (LSSR) - 8 (E) Locked 10 kΩ or higher
        7 (LSSR) - 8 (E) Unlocked Below 1 Ω

        If the result is not as specified, replace the front door lock assembly RH.

    3. A01G6BJE08
      Text in Illustration
      *a

      Component without harness connected

      (Front Door Lock Assembly RH)

      *b Unlock
      *c Lock

      Check the operation of the door key lock and unlock switch. (for RHD)


      1. Measure the resistance according to the value(s) in the table below.

        Standard Resistance
        Tester Connection Condition Specified Condition
        6 (L) - 8 (E) Held to lock side Below 1 Ω
        6 (L) - 8 (E) Neutral or held to unlock side 10 kΩ or higher
        5 (UL) - 8 (E) Held to unlock side Below 1 Ω
        5 (UL) - 8 (E) Neutral or held to lock side 10 kΩ or higher

        If the result is not as specified, replace the front door lock assembly RH.